TOP
|
特許
|
意匠
|
商標
特許ウォッチ
Twitter
他の特許を見る
公開番号
2025145386
公報種別
公開特許公報(A)
公開日
2025-10-03
出願番号
2024045538
出願日
2024-03-21
発明の名称
カテーテルデバイス及び回収対象物の回収方法
出願人
テルモ株式会社
代理人
個人
,
個人
主分類
A61B
17/22 20060101AFI20250926BHJP(医学または獣医学;衛生学)
要約
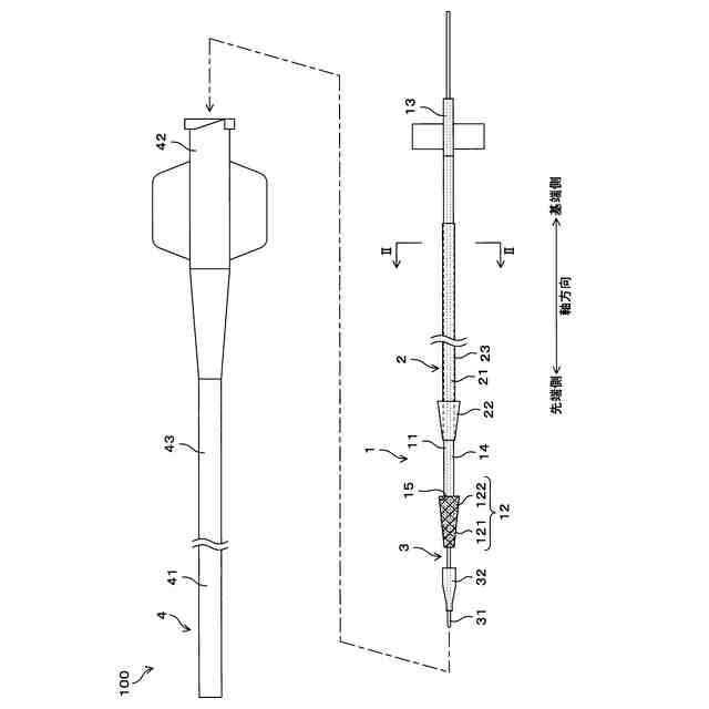
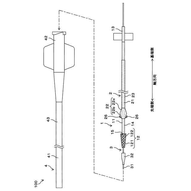
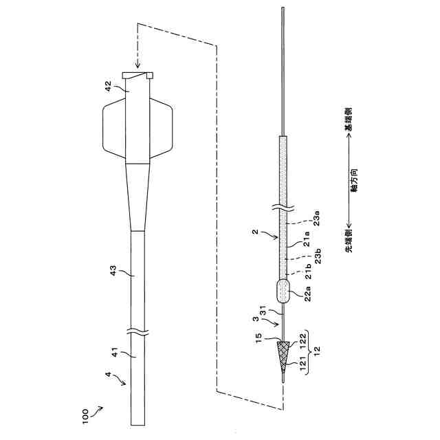
【課題】回収対象物の脱落を抑制することができるカテーテルデバイス等を提供する。
【解決手段】カテーテルデバイスは、第1長尺体に設けられ、前記第1長尺体の先端側から基端側に拡張可能な開口を有する回収部と、前記開口を閉塞するための閉塞部を有するカテーテルとを備える。
【選択図】図1
特許請求の範囲
【請求項1】
第1長尺体に設けられ、前記第1長尺体の先端側から基端側に拡張可能な開口を有する回収部と、
前記開口を閉塞するための閉塞部を有するカテーテルとを備える
カテーテルデバイス。
続きを表示(約 1,100 文字)
【請求項2】
前記回収部は、
網体と、
前記網体の網目を覆うフィルタとを備える
請求項1に記載のカテーテルデバイス。
【請求項3】
前記第1長尺体に対して軸方向に移動可能に前記第1長尺体の内腔に挿通される第2長尺体を備え、
前記第2長尺体は、拡張前の前記回収部を収容する収容部を有し、
前記第2長尺体が前記第1長尺体に対して相対的に先端側に移動することにより、前記収容部から前記回収部が離脱し、前記開口が拡張する
請求項1又は請求項2に記載のカテーテルデバイス。
【請求項4】
前記第1長尺体は前記カテーテルの内腔に挿通されており、
前記第1長尺体及び前記カテーテルの軸方向に沿って前記回収部と前記閉塞部とが近づく向きに前記第1長尺体又は前記カテーテルが移動することにより、前記閉塞部が前記開口を閉塞する
請求項1又は請求項2に記載のカテーテルデバイス。
【請求項5】
前記閉塞部は先端側から基端側に向かって拡張するテーパ形状を有し、
前記閉塞部の先端側の外径は前記回収部の内径よりも小さく、前記閉塞部の基端側の外径は前記回収部の内径よりも大きい
請求項1又は請求項2に記載のカテーテルデバイス。
【請求項6】
前記閉塞部は拡張用流体の供給により拡張するバルーンである
請求項1又は請求項2に記載のカテーテルデバイス。
【請求項7】
前記閉塞部は拡張用流体の供給により拡張するバルーンであり、
前記バルーンは、
前記回収部の内部に配置した状態で前記拡張用流体が供給されることにより拡張して、前記開口を拡張させ、
前記開口を拡張させた後に収縮し、
収縮後に前記拡張用流体が供給されることにより拡張して、回収対象物を回収した前記回収部の前記開口を閉塞する
請求項1又は請求項2に記載のカテーテルデバイス。
【請求項8】
前記閉塞部は前記回収部に連結する連結部を有する
請求項1又は請求項2に記載のカテーテルデバイス。
【請求項9】
第1長尺体に設けられ、前記第1長尺体の先端側から基端側に拡張可能な開口を有する回収部を、生体管腔内において回収対象物よりも遠位側に配置し、
前記開口を拡張し、
前記回収部により前記回収対象物を回収し、
カテーテルに設けられた閉塞部により、前記開口を閉塞する
回収対象物の回収方法。
発明の詳細な説明
【技術分野】
【0001】
本発明は、カテーテルデバイス及び回収対象物の回収方法に関する。
続きを表示(約 1,100 文字)
【背景技術】
【0002】
血管等の生体管腔からプラークや血栓等の病変を除去するアテレクトミーデバイスが知られている。アテレクトミーデバイスにより病変組織を除去した際には、除去物が血管内に飛散する。除去物が末梢側へ流出すると、末梢側の血管が閉塞され、新たな病変を生じさせる一因となり得る。そこで、血管内の除去物を捕捉する技術が提案されている。
【0003】
例えば特許文献1には、基端から先端に貫通するルーメンを有するシースの先端部に、チューブの一部もしくはチューブの先端開口部を縮径した先端柔軟チューブを設けた血栓捕捉部材回収用シースが開示されている。
【先行技術文献】
【特許文献】
【0004】
特開2008-35923号公報
【発明の概要】
【発明が解決しようとする課題】
【0005】
しかしながら、特許文献1に記載の技術は、回収対象物の脱落を抑制するという観点において改善の余地がある。
【0006】
本開示の一側面における目的は、回収対象物の脱落を抑制することができるカテーテルデバイス等を提供することにある。
【課題を解決するための手段】
【0007】
(1)本開示の一態様に係るカテーテルデバイスは、第1長尺体に設けられ、前記第1長尺体の先端側から基端側に拡張可能な開口を有する回収部と、前記開口を閉塞するための閉塞部を有するカテーテルとを備える。
【0008】
(2)上記(1)に記載のカテーテルデバイスにおいて、前記回収部は、網体と、前記網体の網目を覆うフィルタとを備えてもよい。
【0009】
(3)上記(1)又は(2)に記載のカテーテルデバイスにおいて、前記第1長尺体に対して軸方向に移動可能に前記第1長尺体の内腔に挿通される第2長尺体を備え、前記第2長尺体は、拡張前の前記回収部を収容する収容部を有し、前記第2長尺体が前記第1長尺体に対して相対的に先端側に移動することにより、前記収容部から前記回収部が離脱し、前記開口が拡張してもよい。
【0010】
(4)上記(1)から(3)のいずれか1つに記載のカテーテルデバイスにおいて、前記第1長尺体は前記カテーテルの内腔に挿通されており、前記第1長尺体及び前記カテーテルの軸方向に沿って前記回収部と前記閉塞部とが近づく向きに前記第1長尺体又は前記カテーテルが移動することにより、前記閉塞部が前記開口を閉塞してもよい。
(【0011】以降は省略されています)
この特許をJ-PlatPat(特許庁公式サイト)で参照する
関連特許
テルモ株式会社
カテーテル
1か月前
テルモ株式会社
カテーテル
1か月前
テルモ株式会社
カテーテル
25日前
テルモ株式会社
カテーテル
1か月前
テルモ株式会社
カテーテル
1か月前
テルモ株式会社
カテーテル
1か月前
テルモ株式会社
持ち上げ装置
12日前
テルモ株式会社
画像診断用カテーテル
1か月前
テルモ株式会社
ガイドワイヤ操作器具
11日前
テルモ株式会社
医療用長尺体の製造方法
1か月前
テルモ株式会社
医療用具およびその製造方法
1か月前
テルモ株式会社
動脈瘤治療システムおよび方法
1か月前
テルモ株式会社
血管穿刺装置および血管判定装置
1か月前
テルモ株式会社
カシメ装置及びシャフト製造方法
24日前
テルモ株式会社
身体組成計測装置、および制御方法
1か月前
テルモ株式会社
カテーテルおよびカテーテルの製造方法
1か月前
テルモ株式会社
血管穿刺デバイス及び血管穿刺システム
1か月前
テルモ株式会社
カテーテルおよびカテーテルの製造方法
1か月前
テルモ株式会社
カテーテルおよびカテーテルの製造方法
1か月前
テルモ株式会社
情報処理方法、情報処理装置及びプログラム
1か月前
テルモ株式会社
情報処理方法、情報処理装置及びプログラム
1か月前
テルモ株式会社
プログラム、情報処理方法、及び情報処理装置
1か月前
テルモ株式会社
情報処理方法、情報処理装置及びコンピュータプログラム
1か月前
テルモ株式会社
カテーテルおよびカテーテルへのマーカー部材の固定方法
10日前
テルモ株式会社
穿刺針及び針組立体
26日前
個人
貼付剤
1か月前
個人
簡易担架
17日前
個人
短下肢装具
4か月前
個人
足踏み器具
24日前
個人
腋臭防止剤
17日前
個人
嚥下鍛錬装置
4か月前
個人
排尿補助器具
1か月前
個人
前腕誘導装置
4か月前
個人
腰ベルト
1か月前
個人
歯の修復用材料
5か月前
個人
矯正椅子
6か月前
続きを見る
他の特許を見る