TOP
|
特許
|
意匠
|
商標
特許ウォッチ
Twitter
他の特許を見る
10個以上の画像は省略されています。
公開番号
2025153209
公報種別
公開特許公報(A)
公開日
2025-10-10
出願番号
2024055556
出願日
2024-03-29
発明の名称
動脈瘤治療システムおよび方法
出願人
テルモ株式会社
代理人
IBC一番町弁理士法人
主分類
A61F
2/07 20130101AFI20251002BHJP(医学または獣医学;衛生学)
要約
【課題】動脈瘤が比較的小さい場合であって動脈瘤の治療を行うことが可能なシステムおよび方法を提供する。
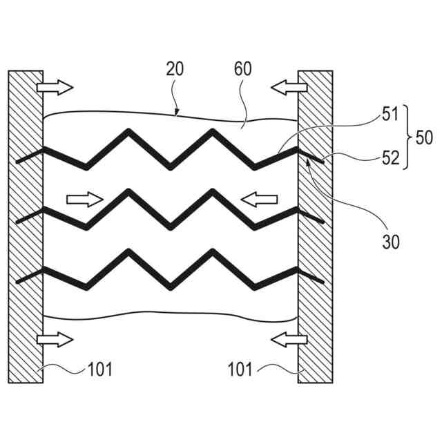
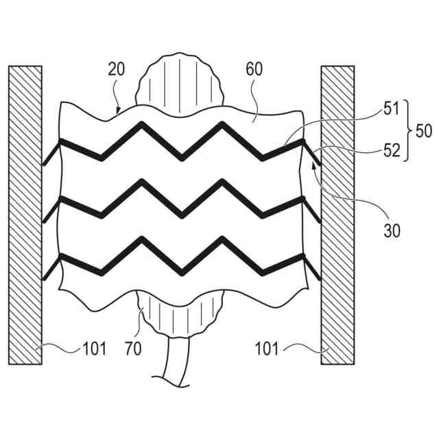
【解決手段】システム10は、インプラント本体20と、接合部30と、を有する。インプラント本体は、自己拡張力を有するリング状の骨格部50を含み、径方向に拡縮可能である。接合部は、動脈瘤100内で展開された拡張状態のインプラント本体を瘤壁101に接合する。骨格部は、リング状の本体部51と、本体部から径方向外側に延び、瘤壁に刺し込まれるアンカー部52と、を備える。アンカー部が接合部として機能する。
【選択図】図1
特許請求の範囲
【請求項1】
自己拡張力を有するリング状の骨格部を含み、径方向に拡縮可能なインプラント本体と、
動脈瘤内で展開された拡張状態の前記インプラント本体を瘤壁に接合する接合部と、を有する動脈瘤治療システム。
続きを表示(約 1,100 文字)
【請求項2】
前記骨格部は、リング状の本体部と、前記本体部から径方向外側に延び、前記瘤壁に刺し込まれるアンカー部と、を備え、
前記アンカー部が前記接合部として機能する、請求項1に記載の動脈瘤治療システム。
【請求項3】
前記骨格部は、複数の頂点を形成しながら前記インプラント本体の周方向に延びるジグザグ構造を有し、
前記アンカー部は、前記複数の頂点の少なくとも1つと、前記複数の頂点のうちの前記ジグザグ構造に沿って隣接する2つの頂点間とに形成されている、請求項2に記載の動脈瘤治療システム。
【請求項4】
前記アンカー部は、前記径方向外側に配置された先端部に、返しを含む針構造を有する、請求項2または請求項3に記載の動脈瘤治療システム。
【請求項5】
前記インプラント本体は、筒状の基材と、当該基材に組付けられて前記基材の形状を維持する前記骨格部と、を有する、請求項1に記載の動脈瘤治療システム。
【請求項6】
前記基材の外周面に、前記基材への細胞浸潤を促進する表層を有する、請求項5に記載の動脈瘤治療システム。
【請求項7】
前記骨格部は、前記基材の外周面より径方向外側に配置され前記瘤壁に刺し込まれるアンカー部を有し、
前記アンカー部が前記接合部として機能する、請求項5に記載の動脈瘤治療システム。
【請求項8】
前記アンカー部は、前記基材の軸方向における第1端部、前記第1端部とは反対側の第2端部、および前記第1端部と前記第2端部との間の中央部のいずれの外周面にも配置されている、請求項7に記載の動脈瘤治療システム。
【請求項9】
前記接合部は、前記インプラント本体とは別体として設けられ、前記インプラント本体の前記基材の内側から前記基材を貫通して前記瘤壁に打ち込まれるアンカーであり、
動脈瘤治療システムは、前記動脈瘤内に配置された前記インプラント本体の前記基材の内側に、前記アンカーを送達するためのデリバリーカテーテルをさらに有する、請求項5に記載の動脈瘤治療システム。
【請求項10】
前記接合部は、前記インプラント本体の外周面に塗布される接着剤であり、
動脈瘤治療システムは、前記動脈瘤内に配置された前記インプラント本体の前記基材の外周面と前記瘤壁との間に挿入され、前記接着剤を塗布可能なデリバリーカテーテルをさらに有する、請求項5に記載の動脈瘤治療システム。
(【請求項11】以降は省略されています)
発明の詳細な説明
【技術分野】
【0001】
本発明は、動脈瘤治療システムおよび方法に関する。
続きを表示(約 1,500 文字)
【背景技術】
【0002】
患者の大動脈に生じた瘤(大動脈瘤)は、瘤径の増大、破裂を防ぐ薬物的治療はなく、破裂の危険を伴う瘤径のものに対しては、一般的に外科的療法(手術)が行われる。また、大動脈瘤の手術は、従来、開腹または開胸して人工血管を移植する人工血管置換術が主流であったが、近年では、より低侵襲なステントグラフト内挿術(Endovascular Aneurysm Repair;EVAR)の適用が急速に拡大しつつある。
【0003】
一例として、腹部大動脈瘤(AAA:Abdominal aortic aneurysm)に対するステントグラフト内挿術においては、先端にステントグラフトを収容したカテーテルを患者の大腿部動脈から挿入し、ステントグラフトを動脈瘤患部に展開・留置することにより、動脈瘤への血流が遮断されて動脈瘤の破裂が防止され得る。
【0004】
一般的に、ステントグラフト内挿術で使用されるステントグラフトは、略Y字状に分岐した分岐部を備える「主本体部」と、分岐部に装着されるとともに右腸骨動脈および左腸骨動脈にそれぞれ装着される「脚部」の2種類の部材を組み立てられる構造を有している(特許文献1を参照)。主本体部の一端は、上部側の健全部位(ランディングゾーン)に係止される。上部側の健全部位は、腎動脈の接続箇所の下側かつ腹部大動脈瘤の発生箇所の上側に位置する。主本体部は、腹部大動脈瘤内を通すように展開される。主本体部の分岐部に装着された脚部の端部は、下部側の健全部位に係止される。下部側の健全部位は、腹部大動脈の下流側に連なる総腸骨動脈(または腹部大動脈)に位置する。このようにしてステントグラフトは大動脈内に留置される。
【先行技術文献】
【特許文献】
【0005】
特許第4052397号公報
【発明の概要】
【発明が解決しようとする課題】
【0006】
大動脈瘤の診断はCT検査によって行われる。大動脈瘤と診断された場合であっても、瘤が小さいときには、EVARの対象にならないことがある。このときには、定期的な経過観察が行われる(2020年改訂版 大動脈瘤・大動脈解離診療ガイドライン、腹部大動脈瘤の診断・治療カスケード(図47)を参照)。
【0007】
しかしながら、EVARの対象にならない小さい瘤であっても、破裂のリスクがあることから、患者は、不安を感じつつ経過観察を行っている実情がある。このため、動脈瘤が比較的小さい場合であって、動脈瘤の拡大を物理的に抑えることへのニーズが存在する。
【0008】
本発明は、動脈瘤の拡大を物理的に抑えることができる動脈瘤治療システムおよび方法を提供することを目的とする。
【課題を解決するための手段】
【0009】
本発明は、(1)自己拡張力を有するリング状の骨格部を含み、径方向に拡縮可能なインプラント本体と、
動脈瘤内で展開された拡張状態の前記インプラント本体を瘤壁に接合する接合部と、を有する動脈瘤治療システムである。
【0010】
ここで、本発明の実施形態は、
(2)上記(1)に記載の動脈瘤治療システムは、前記骨格部が、リング状の本体部と、前記本体部から径方向外側に延び、前記瘤壁に刺し込まれるアンカー部と、を備え、
前記アンカー部が前記接合部として機能することが好ましい。
(【0011】以降は省略されています)
この特許をJ-PlatPat(特許庁公式サイト)で参照する
関連特許
テルモ株式会社
移送器具
1か月前
テルモ株式会社
移送器具
1か月前
テルモ株式会社
移送器具
1か月前
テルモ株式会社
カテーテル
8日前
テルモ株式会社
カテーテル
8日前
テルモ株式会社
カテーテル
8日前
テルモ株式会社
採血管ホルダ
10日前
テルモ株式会社
液飛散防止具
1か月前
テルモ株式会社
医療デバイス
12日前
テルモ株式会社
医療用送液装置
1か月前
テルモ株式会社
液体循環システム
12日前
テルモ株式会社
液体排出システム
12日前
テルモ株式会社
体液流通用ポート
8日前
テルモ株式会社
画像診断用カテーテル
8日前
テルモ株式会社
医療用長尺体の製造方法
1日前
テルモ株式会社
医療デバイス及び治療方法
1か月前
テルモ株式会社
医療用具およびその製造方法
3日前
テルモ株式会社
動脈瘤治療システムおよび方法
1日前
テルモ株式会社
医療用チューブ閉塞検出システム
1か月前
テルモ株式会社
身体組成計測装置、および制御方法
2日前
テルモ株式会社
医療用具包装体および医療用具包装袋
9日前
テルモ株式会社
カテーテルおよびカテーテルの製造方法
8日前
テルモ株式会社
カテーテルおよびカテーテルの製造方法
8日前
テルモ株式会社
ステントデリバリーシステムの製造方法
12日前
テルモ株式会社
ステントデリバリーシステムの製造方法
12日前
テルモ株式会社
ステントデリバリーシステムの製造方法
12日前
テルモ株式会社
ステントデリバリーシステムの製造方法
12日前
テルモ株式会社
カテーテルおよびカテーテルの製造方法
8日前
テルモ株式会社
情報処理方法、情報処理装置及びプログラム
1日前
テルモ株式会社
情報処理方法、情報処理装置及びプログラム
1日前
テルモ株式会社
プログラム、情報処理方法、及び情報処理装置
1日前
テルモ株式会社
カテーテルデバイス及び回収対象物の回収方法
8日前
テルモ株式会社
輸液ポンプ及びその制御方法、並びに、プログラム
23日前
テルモ株式会社
コンピュータプログラム、情報処理装置及び情報処理方法
24日前
テルモ株式会社
情報処理装置、コンピュータプログラム及び情報処理方法
16日前
テルモ株式会社
情報処理方法、情報処理装置及びコンピュータプログラム
1日前
続きを見る
他の特許を見る