TOP
|
特許
|
意匠
|
商標
特許ウォッチ
Twitter
他の特許を見る
10個以上の画像は省略されています。
公開番号
2025151517
公報種別
公開特許公報(A)
公開日
2025-10-09
出願番号
2024052988
出願日
2024-03-28
発明の名称
身体組成計測装置、および制御方法
出願人
テルモ株式会社
,
SKメディカル電子株式会社
代理人
IBC一番町弁理士法人
主分類
A61B
5/0537 20210101AFI20251002BHJP(医学または獣医学;衛生学)
要約
【課題】同じ被検者について短期間に再計測を行う場合に、計測結果が過度に変化することを防止できる身体組成計測装置、および制御方法を提供する。
【解決手段】身体組成計測装置1は、計測条件にしたがって、被検者の身体に周波数の異なる複数のプローブ電流を投入したときの電圧信号、および電流信号に基づき電気インピーダンスを測定する。身体組成計測装置1は、個別識別情報を呼出して電気インピーダンス測定を再実行する際に、当該再実行された測定日時が記憶部に記憶されている前回の測定日時から所定時間経過していない場合には、記憶部に記憶されている前回の測定で用いた計測条件を用いて電気インピーダンス測定を実行し、再実行された測定日時が記憶部に記憶されている前回の測定日時から所定時間経過している場合には、計測条件決定部によって再度決定された計測条件を用いて電気インピーダンス測定を実行する。
【選択図】図1
特許請求の範囲
【請求項1】
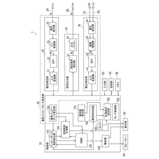
計測条件にしたがって被検者の身体の組成を計測する身体組成計測装置であって、
前記被検者の身体に周波数の異なる複数のプローブ電流を投入する電流投入部と、
前記電流投入部によって前記複数のプローブ電流が前記被検者の身体に投入されたときにおける前記被検者の身体の所定の部位間に生じる電圧に関する電圧信号を検出する電圧検出部と、
前記電流投入部によって前記複数のプローブ電流が前記被検者の身体に投入されたときにおける前記被検者に流れる電流に関する電流信号を検出する電流検出部と、
前記電圧検出部によって検出された電圧信号を電気インピーダンス測定に使用する大きさに増幅する電圧信号増幅部と、
前記電流検出部によって検出された電流信号を電気インピーダンス測定に使用する大きさの電圧に変換する電流電圧変換部と、
前記電圧信号増幅部によって増幅された前記電圧信号と前記電流電圧変換部によって変換された電流信号とに基づいて、周波数ごとの電気インピーダンスに関する情報を算出する電気インピーダンス算出部と、
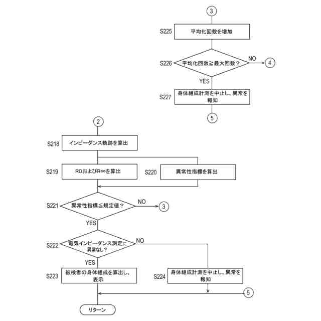
前記電気インピーダンス算出部によって算出された前記周波数ごとの電気インピーダンスに関する情報に基づいてインピーダンス軌跡を算出するインピーダンス軌跡算出部と、
前記インピーダンス軌跡算出部によって算出された前記インピーダンス軌跡に基づいて、前記被検者の身体組成に関する情報を算出する体組成情報算出部と、
前記電圧信号増幅部によって増幅された前記電圧信号の大きさに関する値および/または前記電流電圧変換部によって変換された電流信号の大きさに関する値を算出する実効値算出部と、
前記実効値算出部によって算出された前記電圧信号の大きさに関する値、および/または前記実効値算出部によって算出された前記電流信号の大きさに関する値に基づいて、前記身体組成計測装置の変更可能な前記計測条件を決定する計測条件決定部と、
決定された前記計測条件を用いた電気インピーダンス測定の実行を制御する制御部と、
前記電気インピーダンス測定を実行した際に、決定された前記計測条件を前記被検者の個別識別情報と測定日時とに紐づけて記憶する記憶部と、を備え、
前記制御部は、前記個別識別情報を呼出して電気インピーダンス測定を再実行する際に、当該再実行された測定日時が前記記憶部に記憶されている前回の測定日時から所定時間経過していない場合には、前記記憶部に記憶されている前回の測定で用いた前記計測条件を用いて電気インピーダンス測定を実行し、前記再実行された測定日時が前記記憶部に記憶されている前回の測定日時から前記所定時間以上経過している場合には、前記計測条件決定部によって再度決定された計測条件を用いて電気インピーダンス測定を実行する、第1計測モードを備える身体組成計測装置。
続きを表示(約 2,000 文字)
【請求項2】
前記制御部は、呼出した前記個別識別情報に紐づけられた直近の前記計測条件を用いて所定の時間間隔で連続的に電気インピーダンス測定を実行する第2計測モードをさらに備え、かつ、前記第1計測モードと前記第2計測モードとの切り替えを制御する、請求項1に記載の身体組成計測装置。
【請求項3】
前記制御部は、電気インピーダンス測定の実行前に都度、前記計測条件決定部による計測条件の設定を実行する第3計測モードをさらに備え、かつ、前記第1計測モードと前記第3計測モードとの切り替えを制御する、請求項1又は2に記載の身体組成計測装置。
【請求項4】
前記記憶部は、
前記個別識別情報と、前記被検者に関する情報とを含む被検者情報と、
前記個別識別情報と、前記電気インピーダンス測定の測定日時を記録したタイムスタンプと、前記電気インピーダンス測定を実行した際に決定された計測条件と、含む測定データと、を記憶する、請求項1又は2に記載の身体組成計測装置。
【請求項5】
前記被検者情報は、前記個別識別情報に加え、前記被検者の氏名、当該氏名のフリガナ、身長、体重、年齢、および性別のいずれか1つ以上を含む、請求項4に記載の身体組成計測装置。
【請求項6】
前記測定データは、前記個別識別情報、ならびに前記電気インピーダンス測定の測定日時、計測条件、および測定結果を含む、請求項4に記載の身体組成計測装置。
【請求項7】
前記第1計測モードにおける前記所定時間の変更を受け付ける時間変更部をさらに有する、請求項1又は2に記載の身体組成計測装置。
【請求項8】
前記時間変更部は、前記所定時間について、ユーザによる入力を受け付ける、請求項7に記載の身体組成計測装置。
【請求項9】
前記時間変更部は、前記所定時間について、予め用意された複数の時間設定からユーザに選択させる、請求項7に記載の身体組成計測装置。
【請求項10】
計測条件にしたがって被検者の身体の組成を計測する身体組成計測装置の制御方法であって、前記身体組成計測装置は、決定された前記計測条件を用いた電気インピーダンス測定の実行を制御する制御部と、前記電気インピーダンス測定を実行した際に、決定された前記計測条件を前記被検者の個別識別情報と測定日時とに紐づけて記憶する記憶部と、を備え、
前記制御方法は、
前記被検者の身体に周波数の異なる複数のプローブ電流を投入し、前記複数のプローブ電流が前記被検者の身体に投入されたときにおける前記被検者の身体の所定の部位間に生じる電圧に関する電圧信号と、前記被検者の身体に流れる電流に関する電流信号とを検出するステップ(a)と、
前記ステップ(a)において検出された電圧信号を電気インピーダンス測定に使用する大きさに増幅するステップ(b)と、
前記ステップ(a)によって検出された電流信号を電気インピーダンス測定に使用する大きさの電圧に変換するステップ(c)と、
前記ステップ(b)において増幅された前記電圧信号と前記ステップ(c)において変換された電流信号とに基づいて、周波数ごとの電気インピーダンスに関する情報を算出するステップ(d)と、
前記ステップ(d)において算出された前記周波数ごとの電気インピーダンスに関する情報に基づいてインピーダンス軌跡を算出するステップ(e)と、
前記ステップ(e)において算出された前記インピーダンス軌跡に基づいて、前記被検者の身体組成に関する情報を算出するステップ(f)と、
前記ステップ(b)において増幅された前記電圧信号の大きさに関する値、および/または前記ステップ(a)において検出された前記被検者の身体に流れる電流信号の大きさに関する値を算出するステップ(g)と、
前記ステップ(g)において算出された前記電圧信号の大きさに関する値、および/または前記電流信号の大きさに関する値に基づいて、前記身体組成計測装置の変更可能な前記計測条件を決定するステップ(h)と、を含み、
前記制御部は、前記個別識別情報を呼出して電気インピーダンス測定を再実行する際に、当該再実行された測定日時が前記記憶部に記憶されている前回の測定日時から所定時間経過していない場合には、前記記憶部に記憶されている前回の測定で用いた前記計測条件を用いて電気インピーダンス測定を実行し、前記再実行された測定日時が前記記憶部に記憶されている前回の測定日時から所定時間経過している場合には、前記ステップ(h)において再度決定された計測条件を用いて電気インピーダンス測定を実行する、第1計測モードを備える、制御方法。
発明の詳細な説明
【技術分野】
【0001】
本発明は、身体組成計測装置、および制御方法に関する。
続きを表示(約 3,500 文字)
【背景技術】
【0002】
従来から、被検者の体脂肪重量、体水分量などの身体組成を生体電気インピーダンス法に基づいて計測する装置が知られている(例えば、下記特許文献1~4を参照)。この装置では、被検者の身体に複数の周波数からなる微弱な交流電流を流したときの被検者の身体に生じる電圧と被検者の身体に流れる電流とに基づき被検者の身体の生体電気インピーダンスを測定し、測定された生体電気インピーダンスから身体組成を算出する。
【先行技術文献】
【特許文献】
【0003】
特開2000-316829号公報
特開平9-154829号公報
特開2003-116805号公報
特許第3984332号
【発明の概要】
【発明が解決しようとする課題】
【0004】
しかし、被検者の体格(顕著に太っている場合や、過度に小柄な場合等)、体動、腕と脇との接触の有無、両足の太もも同士の接触の有無、被検者に対する補液等の投与などの要因により、生体電気インピーダンス(以下、単に「電気インピーダンス」ともいう)の安定な計測が困難な場合や、生体電気インピーダンスの測定値が変化する可能性がある。その結果、被検者の身体組成の計測結果がばらつく可能性がある。
【0005】
これに対して、身体組成を複数回計測し、その平均値等を用いることにより、計測結果のばらつきを低減することが考えられるが、都度の計測において計測条件を最適化する技術はこれまで提案されていない。本発明者は、都度の計測において計測条件を最適化する技術として、計測精度指標、電圧値振幅指標、および電流値振幅指標に基づいて計測条件を自動調整する技術の開発を進めている。しかし、本技術の開発を進める中、身体組成の都度の計測において、同じ被検者について短期間に比較計測や再計測を行う場合に、計測条件が都度自動最適された結果、比較したい計測間で計測条件が異なるものとなると、計測結果が過度に変化し、適切に計測値を比較できなくなる可能性があることが判明した。
【0006】
本発明は、上記事情に鑑みてなされたものであり、同じ被検者について短期間に比較計測や再計測を行う場合に、計測結果が過度に変化することを防止できる身体組成計測装置、および制御方法を提供することを主な目的とする。
【課題を解決するための手段】
【0007】
本発明の上記目的は、下記の手段によって達成される。
【0008】
身体組成計測装置は、計測条件にしたがって被検者の身体の組成を計測する身体組成計測装置である。身体組成計測装置は、電流投入部、電圧検出部、電流検出部、電圧信号増幅部、電流電圧変換部、電気インピーダンス算出部、インピーダンス軌跡算出部、体組成情報算出部、実効値算出部、計測条件決定部、制御部、および記憶部を備える。電流投入部は、前記被検者の身体に周波数の異なる複数のプローブ電流を投入する。電圧検出部は、前記電流投入部によって前記複数のプローブ電流が前記被検者の身体に投入されたときにおける前記被検者の身体の所定の部位間に生じる電圧に関する電圧信号を検出する。電流検出部は、前記電流投入部によって前記複数のプローブ電流が前記被検者の身体に投入されたときにおける前記被検者に流れる電流に関する電流信号を検出する。電圧信号増幅部は、前記電圧検出部によって検出された電圧信号を電気インピーダンス測定に使用する大きさに増幅する。電流電圧変換部は、前記電流検出部によって検出された電流信号を電気インピーダンス測定に使用する大きさの電圧に変換する。電気インピーダンス算出部は、前記電圧信号増幅部によって増幅された前記電圧信号と前記電流電圧変換部によって変換された電流信号とに基づいて、周波数ごとの電気インピーダンスに関する情報を算出する。インピーダンス軌跡算出部は、前記電気インピーダンス算出部によって算出された前記周波数ごとの電気インピーダンスに関する情報に基づいてインピーダンス軌跡を算出する。体組成情報算出部は、前記インピーダンス軌跡算出部によって算出された前記インピーダンス軌跡に基づいて、前記被検者の身体組成に関する情報を算出する。実効値算出部は、前記電圧信号増幅部によって増幅された前記電圧信号の大きさに関する値および/または前記電流電圧変換部によって変換された電流信号の大きさに関する値を算出する。計測条件決定部は、前記実効値算出部によって算出された前記電圧信号の大きさに関する値、および/または前記実効値算出部によって算出された前記電流信号の大きさに関する値に基づいて、前記身体組成計測装置の変更可能な前記計測条件を決定する。制御部は、決定された前記計測条件を用いた電気インピーダンス測定の実行を制御する。記憶部は、前記電気インピーダンス測定を実行した際に、決定された前記計測条件を前記被検者の個別識別情報と測定日時とに紐づけて記憶する。制御部は、前記個別識別情報を呼出して電気インピーダンス測定を再実行する際に、当該再実行された測定日時が前記記憶部に記憶されている前回の測定日時から所定時間経過していない場合には、前記記憶部に記憶されている前回の測定で用いた前記計測条件を用いて電気インピーダンス測定を実行し、前記再実行された測定日時が前記記憶部に記憶されている前回の測定日時から前記所定時間以上経過している場合には、前記計測条件決定部によって再度決定された計測条件を用いて電気インピーダンス測定を実行する。
【0009】
また、身体組成計測装置の制御方法は、計測条件にしたがって被検者の身体の組成を計測する。前記身体組成計測装置は、決定された前記計測条件を用いた電気インピーダンス測定の実行を制御する制御部と、前記電気インピーダンス測定を実行した際に、決定された前記計測条件を前記被検者の個別識別情報と測定日時とに紐づけて記憶する記憶部と、を備える。前記制御方法は、前記被検者の身体に周波数の異なる複数のプローブ電流を投入し、前記複数のプローブ電流が前記被検者の身体に投入されたときにおける前記被検者の身体の所定の部位間に生じる電圧に関する電圧信号と、前記被検者の身体に流れる電流に関する電流信号とを検出するステップ(a)と、前記ステップ(a)において検出された電圧信号を電気インピーダンス測定に使用する大きさに増幅するステップ(b)と、前記ステップ(a)によって検出された電流信号を電気インピーダンス測定に使用する大きさの電圧に変換するステップ(c)と、前記ステップ(b)において増幅された前記電圧信号と前記ステップ(c)において変換された電流信号とに基づいて、周波数ごとの電気インピーダンスに関する情報を算出するステップ(d)と、前記ステップ(d)において算出された前記周波数ごとの電気インピーダンスに関する情報に基づいてインピーダンス軌跡を算出するステップ(e)と、前記ステップ(e)において算出された前記インピーダンス軌跡に基づいて、前記被検者の身体組成に関する情報を算出するステップ(f)と、前記ステップ(b)において増幅された前記電圧信号の大きさに関する値、および/または前記ステップ(a)において検出された前記被検者の身体に流れる電流信号の大きさに関する値を算出するステップ(g)と、前記ステップ(g)において算出された前記電圧信号の大きさに関する値、および/または前記電流信号の大きさに関する値に基づいて、前記身体組成計測装置の変更可能な前記計測条件を決定するステップ(h)と、を含み、前記制御部は、前記個別識別情報を呼出して電気インピーダンス測定を再実行する際に、当該再実行された測定日時が前記記憶部に記憶されている前回の測定日時から所定時間経過していない場合には、前記記憶部に記憶されている前回の測定で用いた前記計測条件を用いて電気インピーダンス測定を実行し、前記再実行された測定日時が前記記憶部に記憶されている前回の測定日時から所定時間経過している場合には、前記ステップ(h)において再度決定された計測条件を用いて電気インピーダンス測定を実行する、第1計測モードを備える。
【発明の効果】
【0010】
本発明に係る身体組成計測装置によれば、同じ被検者について短期間に再計測を行う場合に、計測結果が過度に変化することを防止できる。
【図面の簡単な説明】
(【0011】以降は省略されています)
この特許をJ-PlatPat(特許庁公式サイト)で参照する
関連特許
テルモ株式会社
カテーテル
1か月前
テルモ株式会社
カテーテル
25日前
テルモ株式会社
カテーテル
1か月前
テルモ株式会社
カテーテル
1か月前
テルモ株式会社
カテーテル
1か月前
テルモ株式会社
カテーテル
1か月前
テルモ株式会社
持ち上げ装置
12日前
テルモ株式会社
採血管ホルダ
2か月前
テルモ株式会社
液体循環システム
2か月前
テルモ株式会社
体液流通用ポート
1か月前
テルモ株式会社
液体排出システム
2か月前
テルモ株式会社
ガイドワイヤ操作器具
11日前
テルモ株式会社
画像診断用カテーテル
1か月前
テルモ株式会社
医療用長尺体の製造方法
1か月前
テルモ株式会社
医療用具およびその製造方法
1か月前
テルモ株式会社
動脈瘤治療システムおよび方法
1か月前
テルモ株式会社
血管穿刺装置および血管判定装置
1か月前
テルモ株式会社
カシメ装置及びシャフト製造方法
24日前
テルモ株式会社
身体組成計測装置、および制御方法
1か月前
テルモ株式会社
医療用具包装体および医療用具包装袋
2か月前
テルモ株式会社
カテーテルおよびカテーテルの製造方法
1か月前
テルモ株式会社
血管穿刺デバイス及び血管穿刺システム
1か月前
テルモ株式会社
カテーテルおよびカテーテルの製造方法
1か月前
テルモ株式会社
カテーテルおよびカテーテルの製造方法
1か月前
テルモ株式会社
情報処理方法、情報処理装置及びプログラム
1か月前
テルモ株式会社
情報処理方法、情報処理装置及びプログラム
1か月前
テルモ株式会社
カテーテルデバイス及び回収対象物の回収方法
1か月前
テルモ株式会社
プログラム、情報処理方法、及び情報処理装置
1か月前
テルモ株式会社
情報処理方法、情報処理装置及びコンピュータプログラム
1か月前
テルモ株式会社
カテーテルおよびカテーテルへのマーカー部材の固定方法
10日前
テルモ株式会社
穿刺針及び針組立体
26日前
個人
貼付剤
1か月前
個人
健康器具
9か月前
個人
簡易担架
17日前
個人
短下肢装具
4か月前
個人
腋臭防止剤
17日前
続きを見る
他の特許を見る