TOP
|
特許
|
意匠
|
商標
特許ウォッチ
Twitter
他の特許を見る
10個以上の画像は省略されています。
公開番号
2025140832
公報種別
公開特許公報(A)
公開日
2025-09-29
出願番号
2024040432
出願日
2024-03-14
発明の名称
液体循環システム
出願人
テルモ株式会社
代理人
個人
,
個人
,
個人
主分類
A61M
1/00 20060101AFI20250919BHJP(医学または獣医学;衛生学)
要約
【課題】患者にかかる負担を抑えつつ液体の注入および排出の効果を早期に得ることができる液体循環システムを提供すること。
【解決手段】液体循環システム2は、脳脊髄液が収容されている収容腔の内部に液体を注入する注入ライン21と、収容腔の内部から収容腔の外部に液体を排出する排出ライン22と、注入ライン21または排出ライン22に設けられ、液体を循環させる送液部23と、を備える。注入ライン21および排出ライン22の少なくとも一方は、内頚静脈41を介して収容腔の内部に挿入される。
【選択図】図1
特許請求の範囲
【請求項1】
脳脊髄液が収容されている収容腔の内部に液体を注入し、前記収容腔の外部へ前記液体を排出することにより前記液体を循環させる液体循環システムであって、
前記収容腔の前記内部に前記液体を注入する注入ラインと、
前記収容腔の前記内部から前記収容腔の前記外部に前記液体を排出する排出ラインと、
前記注入ラインまたは前記排出ラインに設けられ、前記液体を循環させる送液部と、
を備え、
前記注入ラインおよび前記排出ラインの少なくとも一方は、内頚静脈を介して前記収容腔の前記内部に挿入されることを特徴とする液体循環システム。
続きを表示(約 690 文字)
【請求項2】
前記収容腔の前記外部に排出された前記液体に所定の処置を施す処置部をさらに備えたことを特徴とする請求項1に記載の液体循環システム。
【請求項3】
前記注入ラインおよび前記排出ラインの少なくとも一方は、前記内頚静脈から下錐体静脈洞を通り、前記下錐体静脈洞から小脳橋角槽に挿入されることを特徴する請求項1に記載の液体循環システム。
【請求項4】
前記下錐体静脈洞から前記小脳橋角槽に挿入される前記注入ラインおよび前記排出ラインを固定する固定部をさらに備えたことを特徴とする請求項3に記載の液体循環システム。
【請求項5】
前記注入ラインおよび前記排出ラインの少なくとも他方は、頭部および背中のいずれか一方を介して前記収容腔の前記内部に挿入されることを特徴とする請求項1に記載の液体循環システム。
【請求項6】
前記頭部は、脳槽および脳室の少なくともいずれか一方であることを特徴とする請求項5に記載の液体循環システム。
【請求項7】
前記背中は、腰椎付近の脊髄腔であることを特徴とする請求項5に記載の液体循環システム。
【請求項8】
前記注入ラインおよび前記排出ラインの少なくとも他方は、前記内頚静脈を介して前記収容腔の前記内部に挿入されることを特徴とする請求項1に記載の液体循環システム。
【請求項9】
前記注入ラインおよび前記排出ラインの少なくとも一方は、皮膚から前記内頚静脈に穿刺され静脈に挿入されることを特徴とする請求項1に記載の液体循環システム。
発明の詳細な説明
【技術分野】
【0001】
本発明は、脳疾患の治療に用いられる液体循環システムに関する。
続きを表示(約 1,500 文字)
【背景技術】
【0002】
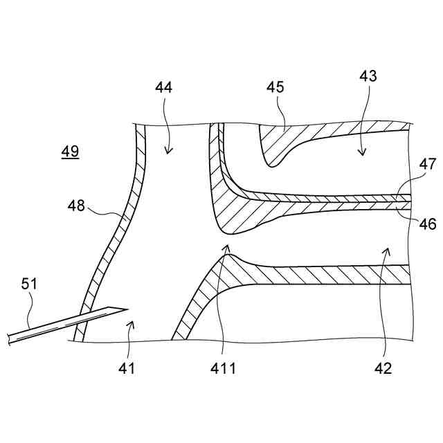
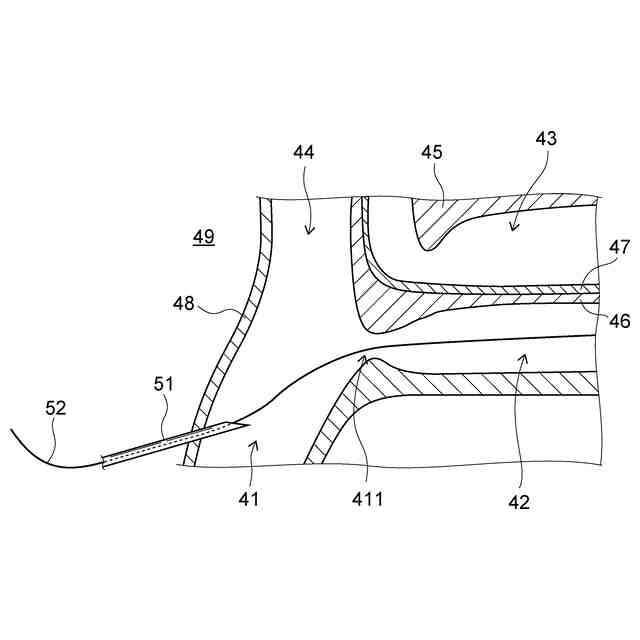
脳疾患として例えば脳梗塞が発症すると、脳細胞に酸素を供給する血流が遮断され、脳細胞にダメージが発生するおそれがある。したがって、脳梗塞が発症した場合には、血流の早期再灌流が必要である。脳梗塞の治療の1つとして、酸素化した脳脊髄液などの液体を患者の脳脊髄液が存在する体腔内に注入し、体腔外へ液体を排出することにより液体を循環させ、酸素が欠乏している脳細胞に酸素を直接供給することが提案されている。
【0003】
特許文献1には、腰椎からクモ膜下腔にアクセスし、脳脊髄液を処理・循環することが開示されている。但し、生体の外部からクモ膜下腔にアクセスする場所として腰椎を採用する場合、次のような長所および短所が存在する。
【0004】
すなわち、生体の外部からクモ膜下腔にアクセスする場所として腰椎を採用する場合には、デバイスの穿刺のみでクモ膜下腔にアクセスできるため、患者にかかる負担が少ないという長所が存在する。一方で、穿刺部位としての腰椎から治療部位としての脳まで一定の距離があるため、液体の注入および排出の効果が得られるまでに一定の時間がかかるという短所が存在する。
【0005】
また、生体の外部からクモ膜下腔にアクセスする場所として脳室および脳槽を採用することも可能である。この場合には、液体を脳に直接供給するため液体の注入および排出の効果が早期に得られるという長所が存在する。一方で、脳室および脳槽にアクセスするためにデバイスを頭部に穿刺したり頭蓋骨の一部を取り外す開頭手術をしたりする必要があり、患者にかかる負担が大きいという短所が存在する。
【先行技術文献】
【特許文献】
【0006】
特表2020-536618号公報
【発明の概要】
【発明が解決しようとする課題】
【0007】
本発明は、前記事情に鑑みてなされたものであり、患者にかかる負担を抑えつつ液体の注入および排出の効果を早期に得ることができる液体循環システムを提供することを目的とする。
【課題を解決するための手段】
【0008】
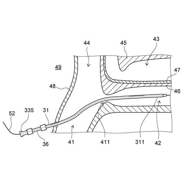
本発明は、(1)脳脊髄液が収容されている収容腔の内部に液体を注入し、前記収容腔の外部へ前記液体を排出することにより前記液体を循環させる液体循環システムであって、前記収容腔の前記内部に前記液体を注入する注入ラインと、前記収容腔の前記内部から前記収容腔の前記外部に前記液体を排出する排出ラインと、前記注入ラインまたは前記排出ラインに設けられ、前記液体を循環させる送液部と、を備え、前記注入ラインおよび前記排出ラインの少なくとも一方は、内頚静脈を介して前記収容腔の前記内部に挿入されることを特徴とする液体循環システムである。
【0009】
上記(1)の液体循環システムによれば、注入ラインおよび排出ラインの少なくとも一方は、内頚静脈を経由して脳脊髄液が収容されている収容腔の内部に挿入される。そのため、上記(1)の液体循環システムは、注入ラインおよび排出ラインの少なくとも一方が穿頭および開頭をすることなく収容腔の内部にアクセスし、収容腔の内部と生体の外部とを連通させて送液部により液体を循環させることができる。これにより、上記(1)の液体循環システムは、患者にかかる負担を抑えつつ液体の注入および排出の効果を早期に得ることができる。
【0010】
(2)上記(1)の液体循環システムは、前記収容腔の前記外部に排出された前記液体に所定の処置を施す処置部をさらに備えたことが好ましい。
(【0011】以降は省略されています)
この特許をJ-PlatPat(特許庁公式サイト)で参照する
関連特許
テルモ株式会社
カテーテル
1か月前
テルモ株式会社
カテーテル
25日前
テルモ株式会社
カテーテル
1か月前
テルモ株式会社
持ち上げ装置
12日前
テルモ株式会社
ガイドワイヤ操作器具
11日前
テルモ株式会社
医療用長尺体の製造方法
1か月前
テルモ株式会社
医療用具およびその製造方法
1か月前
テルモ株式会社
動脈瘤治療システムおよび方法
1か月前
テルモ株式会社
カシメ装置及びシャフト製造方法
24日前
テルモ株式会社
血管穿刺装置および血管判定装置
1か月前
テルモ株式会社
身体組成計測装置、および制御方法
1か月前
テルモ株式会社
カテーテルおよびカテーテルの製造方法
1か月前
テルモ株式会社
血管穿刺デバイス及び血管穿刺システム
1か月前
テルモ株式会社
情報処理方法、情報処理装置及びプログラム
1か月前
テルモ株式会社
情報処理方法、情報処理装置及びプログラム
1か月前
テルモ株式会社
プログラム、情報処理方法、及び情報処理装置
1か月前
テルモ株式会社
情報処理方法、情報処理装置及びコンピュータプログラム
1か月前
テルモ株式会社
カテーテルおよびカテーテルへのマーカー部材の固定方法
10日前
テルモ株式会社
穿刺針及び針組立体
26日前
個人
貼付剤
1か月前
個人
簡易担架
17日前
個人
健康器具
9か月前
個人
足踏み器具
24日前
個人
短下肢装具
4か月前
個人
鼾防止用具
9か月前
個人
腋臭防止剤
17日前
個人
洗井間専家。
8か月前
個人
白内障治療法
8か月前
個人
嚥下鍛錬装置
4か月前
個人
脈波測定方法
9か月前
個人
前腕誘導装置
4か月前
個人
排尿補助器具
1か月前
個人
脈波測定方法
9か月前
個人
腰ベルト
1か月前
個人
汚れ防止シート
2か月前
個人
胸骨圧迫補助具
2か月前
続きを見る
他の特許を見る