TOP
|
特許
|
意匠
|
商標
特許ウォッチ
Twitter
他の特許を見る
10個以上の画像は省略されています。
公開番号
2025140396
公報種別
公開特許公報(A)
公開日
2025-09-29
出願番号
2024039769
出願日
2024-03-14
発明の名称
医療デバイス
出願人
テルモ株式会社
代理人
個人
,
個人
主分類
A61B
17/3207 20060101AFI20250919BHJP(医学または獣医学;衛生学)
要約
【課題】血管内の物体を効率的に切断しつつ駆動シャフトの内部に取り込むことのできる医療デバイスを提供する。
【解決手段】先端部25を有し軸Xを中心に回転可能な駆動シャフト20と、先端部25に設けられ、駆動シャフト20の回転により回転して物体を切断する刃面部40と、を含み、刃面部40は、周面41aを有する中空状の本体部41を備え、本体部41は、周面41aに設けられて中空内部と外部とを連通させる開口部42と、開口部42の回転方向に向かって鋭利な刃面43と、を含む医療デバイス10である。
【選択図】図3
特許請求の範囲
【請求項1】
先端部を有し軸を中心に回転可能なシャフトと、
前記先端部に設けられ、前記シャフトの回転により回転して物体を切断する刃面部と、を含み、
前記刃面部は、周面を有する中空状の本体部を備え、
前記本体部は、前記周面に設けられて中空内部と外部とを連通させる開口部と、前記開口部の回転方向に向かって鋭利な刃面と、を含む、医療用デバイス。
続きを表示(約 850 文字)
【請求項2】
前記本体部は円筒状である、請求項1に記載の医療用デバイス。
【請求項3】
前記本体部は円錐台状である、請求項1に記載の医療用デバイス。
【請求項4】
前記刃面は、前記シャフトの軸方向と非平行な方向に沿って延びる、請求項1に記載の医療用デバイス。
【請求項5】
前記刃面は、前記軸を中心とした円周方向において、前記軸の基端側に向かって前記回転方向と逆方向に傾斜するように設けられている、請求項1に記載の医療用デバイス。
【請求項6】
前記刃面は、前記軸を中心とした円周方向において、軸方向先端側から見て一方周りの方向に回転する場合に、前記軸の基端側に向かって他方周りの方向に沿うように設けられている、請求項5に記載の医療用デバイス。
【請求項7】
前記刃面は、前記軸を中心とした円周方向において、前記軸の基端側に向かって他方周りの方向に沿う螺旋状である、請求項6に記載の医療用デバイス。
【請求項8】
前記刃面は、前記シャフトの軸方向と平行な方向に沿って延びる、請求項1に記載の医療用デバイス。
【請求項9】
前記開口部は、当該開口部の先端縁と前記刃面の最先端との間を離隔させる切欠部を有し、
前記刃面の最先端は鋭利な端部を有する、請求項1に記載の医療用デバイス。
【請求項10】
先端部を有し軸を中心に回転可能なシャフトと、
前記先端部に設けられ、前記シャフトの回転により回転して物体を切断する刃面部と、を含み、
前記刃面部は、内部に空間を有する本体部を備え、
前記本体部は、前記空間内に前記物体を取り込み可能に開口し、前記シャフトの軸方向に平行または非平行な一対の開口縁を備えた開口部と、を含み、
前記一対の開口縁の少なくともいずれか一方は、鋭利な刃面である、医療用デバイス。
(【請求項11】以降は省略されています)
発明の詳細な説明
【技術分野】
【0001】
本発明は、生体管腔の物体を除去するための医療デバイスに関する。
続きを表示(約 1,500 文字)
【背景技術】
【0002】
血管内のプラークや血栓などによる狭窄部の治療方法は、バルーンにより血管を拡張する方法や、網目状またはコイル状のステントを血管の支えとして血管内に留置する方法などが挙げられる。しかしながら、これらの方法は、石灰化により硬くなっている狭窄部や、血管の分岐部で生じている狭窄部を治療することは、困難である。このような場合においても治療が可能な方法として、プラークや血栓などの狭窄物を切削して除去する方法がある。
【0003】
例えば特許文献1には、物体を切削する切削端が、回転する駆動シャフトの先端部に設けられたデバイスが記載されている。このデバイスは、駆動シャフトを回転させて、切削端により物体を切断し、駆動シャフトの内部に取り込むことができる。また、切削端の側面には、側孔が設けられており、側孔からも駆動シャフトの内部に物体を取り込むことができる。このデバイスは、手元に、吸引力を作用させる排出ポートを備えたハウジングを備えている。駆動シャフトの内部に取り込まれた物体は、基端側へ移動される。この後、物体は、駆動シャフトの排出孔からハウジング内に移動し、排出ポートから排出される。
【先行技術文献】
【特許文献】
【0004】
国際公開第2017/141922号明細書
【発明の概要】
【発明が解決しようとする課題】
【0005】
大径の血管、特に静脈においては、血液の流速が小さいため、大きな血栓が生じやすい。大きな物体を駆動シャフトの内部に取り込むには、物体を効率的に細かく切断する必要がある。
【0006】
本発明は、上述した課題を解決するためになされたものであり、血管内の物体を効率的に切断しつつ駆動シャフトの内部に取り込むことのできる医療デバイスを提供することを目的とする。
【課題を解決するための手段】
【0007】
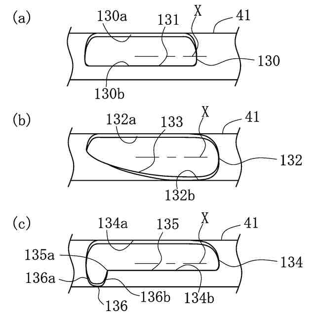
上記目的を達成する本発明に係る(1)医療デバイスの一態様は、先端部を有し軸を中心に回転可能なシャフトと、前記先端部に設けられ、前記シャフトの回転により回転して物体を切断する刃面部と、を含み、前記刃面部は、周面を有する中空状の本体部を備え、前記本体部は、前記周面に設けられて中空内部と外部とを連通させる開口部と、前記開口部の回転方向に向かって鋭利な刃面と、を含む。
【0008】
上記目的を達成する本発明に係る(10)医療デバイスの他の態様は、先端部を有し軸を中心に回転可能なシャフトと、前記先端部に設けられ、前記シャフトの回転により回転して物体を切断する刃面部と、を含み、前記刃面部は、内部に空間を有する本体部を備え、前記本体部は、前記空間内に前記物体を取り込み可能に開口し、前記シャフトの軸方向に平行または非平行な一対の開口縁を備えた開口部と、を含み、前記一対の開口縁のいずれか一方は、鋭利な刃面である。
【発明の効果】
【0009】
上記のように構成した(1)、(10)の医療デバイスは、刃面部を形成する本体部の内外を連通させる開口部に鋭利な刃面を有しているので、シャフトの回転によって開口部に位置する物体を刃面で切断して細かくし、本体部の内部に取り込むことができるので、物体を効率的に切断しつつ除去することができる。
【0010】
(2)上記(1)の医療デバイスにおいて、前記本体部は円筒状であってもよい。これにより、医療デバイスは、開口部を先端から基端まで大きく開口させることができ、物体を取り込みやすくすることができる。
(【0011】以降は省略されています)
この特許をJ-PlatPat(特許庁公式サイト)で参照する
関連特許
テルモ株式会社
カテーテル
1か月前
テルモ株式会社
カテーテル
26日前
テルモ株式会社
カテーテル
1か月前
テルモ株式会社
持ち上げ装置
13日前
テルモ株式会社
ガイドワイヤ操作器具
12日前
テルモ株式会社
医療用長尺体の製造方法
1か月前
テルモ株式会社
医療用具およびその製造方法
1か月前
テルモ株式会社
動脈瘤治療システムおよび方法
1か月前
テルモ株式会社
カシメ装置及びシャフト製造方法
25日前
テルモ株式会社
血管穿刺装置および血管判定装置
1か月前
テルモ株式会社
身体組成計測装置、および制御方法
1か月前
テルモ株式会社
カテーテルおよびカテーテルの製造方法
2か月前
テルモ株式会社
血管穿刺デバイス及び血管穿刺システム
1か月前
テルモ株式会社
情報処理方法、情報処理装置及びプログラム
1か月前
テルモ株式会社
情報処理方法、情報処理装置及びプログラム
1か月前
テルモ株式会社
プログラム、情報処理方法、及び情報処理装置
1か月前
テルモ株式会社
情報処理方法、情報処理装置及びコンピュータプログラム
1か月前
テルモ株式会社
カテーテルおよびカテーテルへのマーカー部材の固定方法
11日前
テルモ株式会社
穿刺針及び針組立体
27日前
個人
貼付剤
1か月前
個人
簡易担架
18日前
個人
足踏み器具
25日前
個人
腋臭防止剤
18日前
個人
短下肢装具
4か月前
個人
排尿補助器具
1か月前
個人
嚥下鍛錬装置
4か月前
個人
前腕誘導装置
4か月前
個人
矯正椅子
6か月前
個人
歯の修復用材料
5か月前
個人
胸骨圧迫補助具
2か月前
個人
アイマスク装置
3か月前
個人
ホバーアイロン
7か月前
個人
ウォート指圧法
1か月前
個人
汚れ防止シート
2か月前
個人
バッグ式オムツ
5か月前
個人
腰ベルト
1か月前
続きを見る
他の特許を見る