TOP
|
特許
|
意匠
|
商標
特許ウォッチ
Twitter
他の特許を見る
公開番号
2025140056
公報種別
公開特許公報(A)
公開日
2025-09-29
出願番号
2024039213
出願日
2024-03-13
発明の名称
ステントデリバリーシステムの製造方法
出願人
テルモ株式会社
代理人
個人
,
個人
,
個人
,
個人
主分類
A61F
2/95 20130101AFI20250919BHJP(医学または獣医学;衛生学)
要約
【課題】ステントがクリンプされたバルーンカテーテルのリテンションの安定化を実現するステントデリバリーシステムの製造方法を提供する。
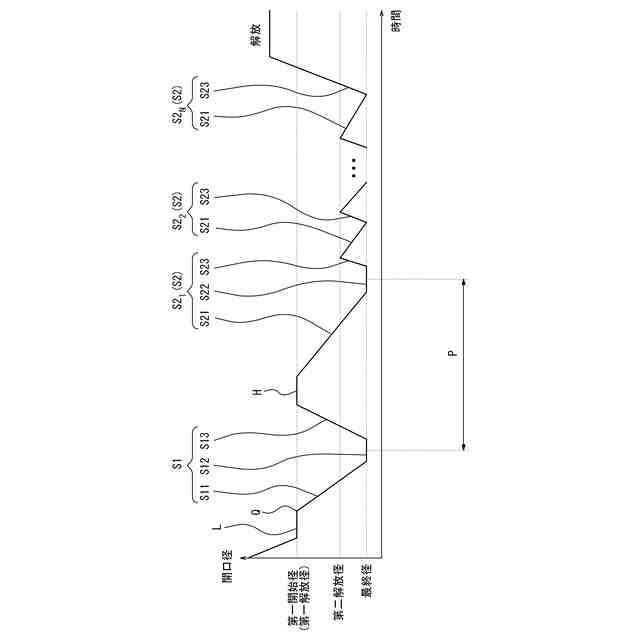
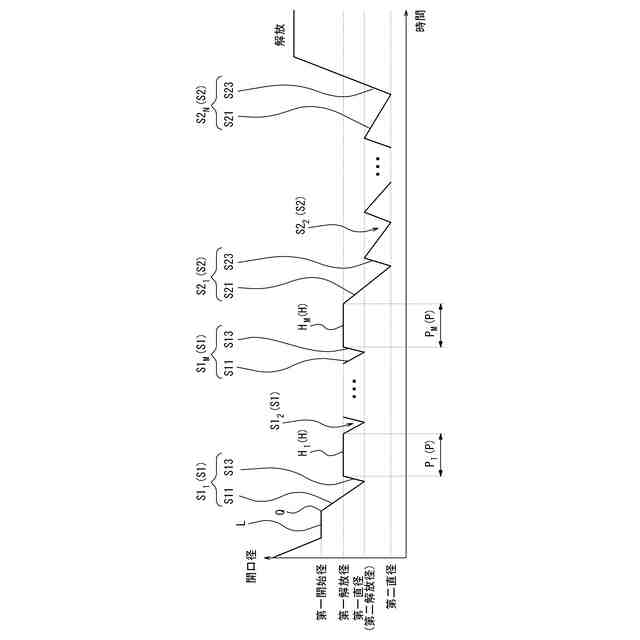
【解決手段】ステントデリバリーシステム200の製造方法は、筒状形状に形成されたステント2の筒内にバルーン1を挿入した状態で、ステント2の径方向における内側向きにステント2を圧縮してステント2とバルーン1とを縮径する第一圧縮工程と、その後に圧縮を解放する第一解放工程と、を含む第一縮径工程と、バルーン2に流体を供給して膨らませ、バルーン2をステント1の内側に押し付ける加圧工程と、を含み、加圧工程は、第一解放工程中又は第一解放工程後に行われる。
【選択図】図2
特許請求の範囲
【請求項1】
筒状形状に形成されたステントの筒内にバルーンを挿入した状態で、前記ステントの径方向における内側向きに前記ステントを圧縮して前記ステントと前記バルーンとを縮径する第一圧縮工程と、その後に圧縮を解放する第一解放工程と、を含む第一縮径工程と、
前記バルーンに流体を供給して膨らませ、前記バルーンを前記ステントの内側に押し付ける加圧工程と、を含み、
前記加圧工程は、前記第一解放工程中又は第一解放工程後に行われるステントデリバリーシステムの製造方法。
続きを表示(約 740 文字)
【請求項2】
前記第一縮径工程後に行われ、前記ステントの径方向における内側向きに前記ステントを圧縮して前記ステントと前記バルーンとを縮径する第二圧縮工程と、その後に圧縮を解放する第二解放工程と、を含む第二縮径工程とを更に含み、
前記加圧工程は、前記第二圧縮工程中に行われる請求項1に記載のステントデリバリーシステムの製造方法。
【請求項3】
前記加圧工程は、前記第一解放工程中から前記第一解放工程の直後の前記第二圧縮工程中にわたって行われる請求項2に記載のステントデリバリーシステムの製造方法。
【請求項4】
前記加圧工程は、前記第一解放工程前から前記第一解放工程の直後の前記第二圧縮工程後にわたって行われる請求項2に記載のステントデリバリーシステムの製造方法。
【請求項5】
前記加圧工程は、前記第一解放工程後、且つ、前記第一解放工程の直後の前記第二圧縮工程前に行われる請求項2に記載のステントデリバリーシステムの製造方法。
【請求項6】
前記加圧工程は、前記バルーンに供給した流体の圧力と、前記ステントの直径とを、所定時間の間、一定に保つ保持工程を含む請求項3に記載のステントデリバリーシステムの製造方法。
【請求項7】
前記第二縮径工程は、2回以上繰り返し行われる請求項2から6の何れか一項に記載のステントデリバリーシステムの製造方法。
【請求項8】
前記第一解放工程では、前記加圧工程により、前記第一解放工程によって前記ステントがリコイルするリコイル径よりも前記ステントを拡径させる請求項2から6の何れか一項に記載のステントデリバリーシステムの製造方法。
発明の詳細な説明
【技術分野】
【0001】
本開示は、ステントデリバリーシステムの製造方法に関する。
続きを表示(約 1,400 文字)
【背景技術】
【0002】
特許文献1には、バルーンカテーテルにステントをクリンプする、ステントデリバリーシステムの製造方法が開示されている。このステントデリバリーシステムの製造方法では、準備したステントを、折り畳まれたバルーンの外径と同じかこれよりも小さい内径を有する第二の径に予め収縮しておき、これに対して折り畳まれたバルーンを挿入し、更にステントの外面から径方向内側に向けて圧力を印加してステントをクリンプが完了した径である第三の径に収縮する。このステントデリバリーシステムの製造方法では、ステントの脱落や移動を防止可能なステントデリバリーシステムを製造することができるとされている。
【先行技術文献】
【特許文献】
【0003】
2012-070912号公報
【発明の概要】
【発明が解決しようとする課題】
【0004】
ステントデリバリーシステムでは、バルーンカテーテルのバルーンにクリンプされた状態のステントの保持力、すなわちリテンションのばらつきが大きいと、リテンションが小さいステントがバルーンから脱落してしまう場合がある。しかし、例えば特許文献1に開示されたような従来技術では十分にリテンションのばらつきを小さくできない場合があった。そのため、バルーンカテーテルにおける、ステントをバルーンに保持する保持力のばらつきの減少、すなわち、リテンションの安定化が望まれる。
【0005】
本開示は、かかる実状に鑑みて為されたものであって、その目的は、ステントがクリンプされたバルーンカテーテルのリテンションの安定化を実現するステントデリバリーシステムの製造方法を提供することにある。
【課題を解決するための手段】
【0006】
上記目的を達成するための、本開示に係るステントデリバリーシステムの製造方法は以下のとおりである。
【0007】
[1] 筒状形状に形成されたステントの筒内にバルーンを挿入した状態で、前記ステントの径方向における内側向きに前記ステントを圧縮して前記ステントと前記バルーンとを縮径する第一圧縮工程と、その後に圧縮を解放する第一解放工程と、を含む第一縮径工程と、
前記バルーンに流体を供給して膨らませ、前記バルーンを前記ステントの内側に押し付ける加圧工程と、を含み、
前記加圧工程は、前記第一解放工程中又は第一解放工程後に行われるステントデリバリーシステムの製造方法。
【0008】
[2] 前記第一縮径工程後に行われ、前記ステントの径方向における内側向きに前記ステントを圧縮して前記ステントと前記バルーンとを縮径する第二圧縮工程と、その後に圧縮を解放する第二解放工程と、を含む第二縮径工程とを更に含み、
前記加圧工程は、前記第二圧縮工程中に行われる上記[1]に記載のステントデリバリーシステムの製造方法。
【0009】
[3] 前記加圧工程は、前記第一解放工程中から前記第一解放工程の直後の前記第二圧縮工程中にわたって行われる上記[2]に記載のステントデリバリーシステムの製造方法。
【0010】
[4] 前記加圧工程は、前記第一解放工程前から前記第一解放工程の直後の前記第二圧縮工程後にわたって行われる上記[2]に記載のステントデリバリーシステムの製造方法。
(【0011】以降は省略されています)
この特許をJ-PlatPat(特許庁公式サイト)で参照する
関連特許
テルモ株式会社
移送器具
1か月前
テルモ株式会社
移送器具
1か月前
テルモ株式会社
移送器具
1か月前
テルモ株式会社
カテーテル
5日前
テルモ株式会社
カテーテル
5日前
テルモ株式会社
カテーテル
5日前
テルモ株式会社
液飛散防止具
1か月前
テルモ株式会社
ろ過デバイス
1か月前
テルモ株式会社
医療デバイス
9日前
テルモ株式会社
採血管ホルダ
7日前
テルモ株式会社
投与デバイス
1か月前
テルモ株式会社
医療デバイス
1か月前
テルモ株式会社
吐出デバイス
1か月前
テルモ株式会社
薬液投与装置
1か月前
テルモ株式会社
医療デバイス
1か月前
テルモ株式会社
医療用送液装置
1か月前
テルモ株式会社
容器蓋デバイス
1か月前
テルモ株式会社
液体排出システム
9日前
テルモ株式会社
液体循環システム
9日前
テルモ株式会社
体液流通用ポート
5日前
テルモ株式会社
画像診断用カテーテル
5日前
テルモ株式会社
採取組織細切補助デバイス
1か月前
テルモ株式会社
医療デバイス及び治療方法
1か月前
テルモ株式会社
医療用具およびその製造方法
今日
テルモ株式会社
医療用チューブ閉塞検出システム
28日前
テルモ株式会社
医療用具包装体および医療用具包装袋
6日前
テルモ株式会社
ステントデリバリーシステムの製造方法
9日前
テルモ株式会社
カテーテルおよびカテーテルの製造方法
5日前
テルモ株式会社
カテーテルおよびカテーテルの製造方法
5日前
テルモ株式会社
ステントデリバリーシステムの製造方法
9日前
テルモ株式会社
ステントデリバリーシステムの製造方法
9日前
テルモ株式会社
カテーテルおよびカテーテルの製造方法
5日前
テルモ株式会社
ステントデリバリーシステムの製造方法
9日前
テルモ株式会社
シート位置調整装置およびシート位置調整方法
1か月前
テルモ株式会社
カテーテルデバイス及び回収対象物の回収方法
5日前
テルモ株式会社
輸液ポンプ及びその制御方法、並びに、プログラム
20日前
続きを見る
他の特許を見る