TOP
|
特許
|
意匠
|
商標
特許ウォッチ
Twitter
他の特許を見る
10個以上の画像は省略されています。
公開番号
2025130122
公報種別
公開特許公報(A)
公開日
2025-09-08
出願番号
2024027081
出願日
2024-02-27
発明の名称
採取組織細切補助デバイス
出願人
テルモ株式会社
代理人
個人
,
個人
主分類
C12M
3/08 20060101AFI20250901BHJP(生化学;ビール;酒精;ぶどう酒;酢;微生物学;酵素学;突然変異または遺伝子工学)
要約
【課題】生体由来組織の細切工程において、効率的に酵素溶液を添加できるようにする採取組織細切補助デバイスを提供する。
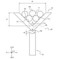
【解決手段】採取組織210を載置する載置体20と、載置体20と対向するように配置され載置体20に向かう方向に延びる複数の突起部30と、載置体20と突起部30との間に配置され、突起部30を挿通させる中間孔部52を有するとともに、載置体20との距離を変化させるように移動可能な押圧体50と、突起部30が接続され、突起部30を載置体20に向かって移動させるハンドル部60と、を備えた採取組織細切補助デバイスである。
【選択図】図4
特許請求の範囲
【請求項1】
採取組織を載置する載置体と、
前記載置体と対向するように配置され前記載置体に向かう方向に延びる複数の突起部と、
前記載置体と前記突起部との間に配置され、前記突起部を挿通させる中間孔部を有するとともに、前記載置体との距離を変化させるように移動可能な押圧体と、
前記突起部が接続され、前記突起部を前記載置体に向かって移動させるハンドル部と、を備えた採取組織細切補助デバイス。
続きを表示(約 660 文字)
【請求項2】
前記載置体は、前記突起部を挿通させる下方孔部を有する請求項1に記載の採取組織細切補助デバイス。
【請求項3】
前記載置体が固定され前記ハンドル部に向かって延びるシャフト部を備え、
前記ハンドル部は、前記シャフト部との間に前記載置体から離れる方向に向かって付勢するハンドル付勢部を有する請求項1または2に記載の採取組織細切補助デバイス。
【請求項4】
前記シャフト部は、前記押圧体を前記載置体から離れる方向に付勢する押圧体付勢部を有する請求項3に記載の医療デバイス。
【請求項5】
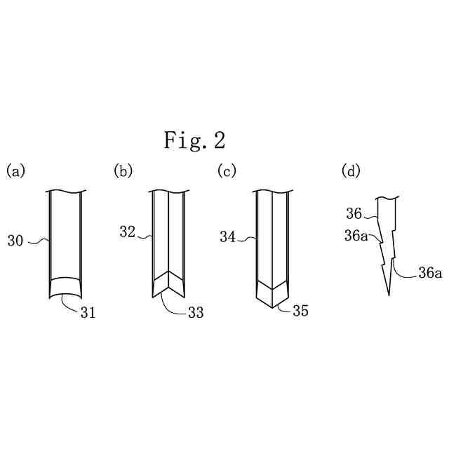
前記突起部は、先端部に刃面を有する請求項1または2に記載の採取組織細切補助デバイス。
【請求項6】
前記載置体と対向するように配置され前記載置体に向かう方向に延びる針部を備え、
前記針部は、先端部で開口する内腔を有し、前記突起部より短い長さを有する請求項1または2に記載の採取組織細切補助デバイス。
【請求項7】
前記ハンドル部は、前記針部の内腔と連通する注入ルーメンと、前記注入ルーメンに液体を注入する注入デバイスを接続可能なポート部と、を有する請求項6に記載の採取組織細切補助デバイス。
【請求項8】
前記針部の内腔と連通する液体貯留部と、
前記ハンドル部に挿通され前記液体貯留部の液体を前記針部の内腔に送出する押し出し部に接続された第2ハンドル部と、を備えた請求項6に記載の採取組織細切補助デバイス。
発明の詳細な説明
【技術分野】
【0001】
本発明は、生体から採取した組織を細切する工程において用いられる採取組織細切補助デバイスに関する。
続きを表示(約 1,700 文字)
【背景技術】
【0002】
近年、重症心不全治療の解決策として新しい再生医療の開発が進められている。その一例として、重症心筋梗塞等において組織工学を応用した温度応答性培養皿を用いて作製したシート状細胞培養物を心臓表面に適用する手法が試みられている。シート状細胞培養物を用いる手法は、大量の細胞を広範囲に安全に移植することが可能であり、例えば、心筋梗塞(心筋梗塞に伴う慢性心不全を含む)、拡張型心筋症、虚血性心筋症、収縮機能障害(例えば、左室収縮機能障害)を伴う心疾患(例えば、心不全、特に慢性心不全)などの治療に特に有用である。
【0003】
シート状細胞培養物の材料となる生体由来組織は、生体の所定部を切除することによって採取される。心不全治療に用いられるシート状細胞培養物を製造するための組織は、通常、大腿部の筋肉組織が用いられる。採取した組織は、細切工程を経て生細胞が分離される。分離された生細胞が培養されることで、シート状細胞培養物が作成される。細切工程については、特許文献1に開示されている。
【先行技術文献】
【特許文献】
【0004】
特開2021-132541号公報
【発明の概要】
【発明が解決しようとする課題】
【0005】
生体由来組織の細切工程においては、当該生体由来組織が酵素溶液に浸漬される処理が行われる。酵素溶液による処理の後、細切が実施される。細切工程においては、酵素溶液による処理を効率的に行う必要がある。また、生体由来組織は、組織輸送液に浸漬された状態で輸送されるため、細切処理を開始する時点で水分量が多い場合がある。このため、生体由来組織に添加できる酵素溶液量が少なくなり、得られる生細胞数に影響を及ぼす可能性もある。
【0006】
本発明は、上述した課題を解決するためになされたものであり、生体由来組織の細切工程において、効率的に酵素溶液を添加できるようにする採取組織細切補助デバイスを提供することを目的とする。
【課題を解決するための手段】
【0007】
上記目的を達成する(1)採取組織細切補助デバイスは、採取組織を載置する載置体と、前記載置体と対向するように配置され前記載置体に向かう方向に延びる複数の突起部と、前記載置体と前記突起部との間に配置され、前記突起部を挿通させる中間孔部を有するとともに、前記載置体との距離を変化させるように移動可能な押圧体と、前記突起部が接続され、前記突起部を前記載置体に向かって移動させるハンドル部と、を備えている。
【発明の効果】
【0008】
上記のように構成した採取組織細切補助デバイスは、ハンドル部の操作により、複数の突起部を載置体に載置された採取組織に穿刺するとともに、押圧体と載置体とで採取組織を挟むことで、採取組織の水切りを行うことができる。このため、採取組織細切補助デバイスは、採取組織に複数の孔を形成しつつ採取組織の水分量を減少させることができ、酵素溶液を採取組織に効率的に添加できるようにすることができる。
【0009】
(2)上記(1)の採取組織細切補助デバイスにおいて、前記載置体は、前記突起部を挿通させる下方孔部を有してもよい。これにより、採取組織細切補助デバイスは、突起部が載置体を貫通できるため、突起部に採取組織を貫通させて貫通孔を形成することができて、酵素溶液を採取組織により効率的に添加できる。
【0010】
(3)上記(1)または(2)の採取組織細切補助デバイスにおいて、前記載置体が固定され前記ハンドル部に向かって延びるシャフト部を備え、前記ハンドル部は、前記シャフト部との間に前記載置体から離れる方向に向かって付勢するハンドル付勢部を有してもよい。これにより、採取組織細切補助デバイスは、ハンドル部から手を離すと、採取組織に穿刺された突起部が元の位置に戻ることができる。
(【0011】以降は省略されています)
この特許をJ-PlatPat(特許庁公式サイト)で参照する
関連特許
テルモ株式会社
カテーテル
18日前
テルモ株式会社
カテーテル
18日前
テルモ株式会社
カテーテル
18日前
テルモ株式会社
液飛散防止具
1か月前
テルモ株式会社
医療デバイス
22日前
テルモ株式会社
採血管ホルダ
20日前
テルモ株式会社
医療用送液装置
1か月前
テルモ株式会社
液体排出システム
22日前
テルモ株式会社
体液流通用ポート
18日前
テルモ株式会社
液体循環システム
22日前
テルモ株式会社
画像診断用カテーテル
18日前
テルモ株式会社
医療用長尺体の製造方法
11日前
テルモ株式会社
医療用具およびその製造方法
13日前
テルモ株式会社
動脈瘤治療システムおよび方法
11日前
テルモ株式会社
医療用チューブ閉塞検出システム
1か月前
テルモ株式会社
身体組成計測装置、および制御方法
12日前
テルモ株式会社
医療用具包装体および医療用具包装袋
19日前
テルモ株式会社
カテーテルおよびカテーテルの製造方法
18日前
テルモ株式会社
ステントデリバリーシステムの製造方法
22日前
テルモ株式会社
ステントデリバリーシステムの製造方法
22日前
テルモ株式会社
ステントデリバリーシステムの製造方法
22日前
テルモ株式会社
ステントデリバリーシステムの製造方法
22日前
テルモ株式会社
カテーテルおよびカテーテルの製造方法
18日前
テルモ株式会社
カテーテルおよびカテーテルの製造方法
18日前
テルモ株式会社
情報処理方法、情報処理装置及びプログラム
11日前
テルモ株式会社
情報処理方法、情報処理装置及びプログラム
11日前
テルモ株式会社
プログラム、情報処理方法、及び情報処理装置
11日前
テルモ株式会社
カテーテルデバイス及び回収対象物の回収方法
18日前
テルモ株式会社
輸液ポンプ及びその制御方法、並びに、プログラム
1か月前
テルモ株式会社
コンピュータプログラム、情報処理装置及び情報処理方法
1か月前
テルモ株式会社
情報処理装置、コンピュータプログラム及び情報処理方法
26日前
テルモ株式会社
情報処理方法、情報処理装置及びコンピュータプログラム
11日前
テルモ株式会社
薬液投与装置
1か月前
テルモ株式会社
カテーテル組立体
1か月前
テルモ株式会社
多核化細胞を判定する判定方法、及び多核化細胞を判定するシステム
1か月前
テルモ株式会社
ステントデリバリーシステムの製造方法及びステントデリバリーシステム
22日前
続きを見る
他の特許を見る