TOP
|
特許
|
意匠
|
商標
特許ウォッチ
Twitter
他の特許を見る
公開番号
2025130126
公報種別
公開特許公報(A)
公開日
2025-09-08
出願番号
2024027085
出願日
2024-02-27
発明の名称
容器蓋デバイス
出願人
テルモ株式会社
代理人
個人
,
個人
主分類
C12M
1/00 20060101AFI20250901BHJP(生化学;ビール;酒精;ぶどう酒;酢;微生物学;酵素学;突然変異または遺伝子工学)
要約
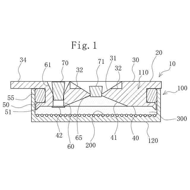
【課題】容器中の液体を容易に液密の状態とするように交換できる容器蓋デバイスを提供する。
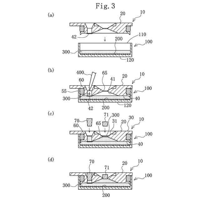
【解決手段】移植物200を収納する容器100に着脱可能な容器蓋デバイス10であって、容器100の開口部110を覆う蓋本体20を備え、蓋本体20は、容器100が開口する方向を向く天面30と、天面30と反対側を向く底面40と、液体注入口となる第1貫通孔60と、液体排出口となる第2貫通孔65と、を有し、天面30は、第2貫通孔65の周囲が凹んだ凹部31を有している容器蓋デバイス10である。
【選択図】図2
特許請求の範囲
【請求項1】
移植物を収納する容器に着脱可能な容器蓋デバイスであって、
前記容器の開口部を覆う蓋本体を備え、
前記蓋本体は、前記容器が開口する方向を向く天面と、前記天面と反対側を向く底面と、液体注入口となる第1貫通孔と、液体排出口となる第2貫通孔と、を有し、
前記天面は、前記第2貫通孔の周囲が凹んだ凹部を有している容器蓋デバイス。
続きを表示(約 400 文字)
【請求項2】
前記蓋本体は、前記第1貫通孔の前記底面側の開口がフィルタ部材で覆われている請求項1に記載の容器蓋デバイス。
【請求項3】
前記蓋本体は、底面に前記第2貫通孔に向かって凸状の凸部を有する請求項1または2に記載の容器蓋デバイス。
【請求項4】
前記第2貫通孔の前記底面側の開口は、前記凸部の頂点に位置している請求項3に記載の容器蓋デバイス。
【請求項5】
前記第1貫通孔の前記底面側の開口は、前記底面の水平部分に配置されている請求項2に記載の容器蓋デバイス。
【請求項6】
前記蓋本体は、前記容器との間の隙間を全周に渡って覆う密封部材を有する請求項1または2に記載の容器蓋デバイス。
【請求項7】
前記蓋本体は、前記天面の外径が前記底面の外径より大きい請求項1または2に記載の容器蓋デバイス。
発明の詳細な説明
【技術分野】
【0001】
本発明は、培養した細胞を輸送する容器を閉塞するために用いられる容器蓋デバイスに関する。
続きを表示(約 1,200 文字)
【背景技術】
【0002】
近年、重症心不全治療の解決策として新しい再生医療の開発が進められている。再生医療の一つとして、患者から採取した細胞組織を培養施設において培養した移植物を、患者本人に移植する方法が知られている。採取された細胞組織は、培養ディッシュなど容器の中で、細胞スフェロイドや細胞シートの形態に培養される。
【0003】
培養された移植物は、保存液とともに容器の中に収納された状態で輸送される。この状態で容器を輸送する際、保存液の液面が揺れる、あるいは振動するなどの変動を生じることにより、容器内で移植物が容易に動いてしまい、意図しない細胞スフェロイドの凝集や細胞シートの折れ曲がりによって、移植物にダメージを生じる可能性がある。
【0004】
培養物の輸送中に保存液の液面が変動することを防止するため、例えば特許文献1には、移植物を収納する内部を液密の状態とすることのできる容器が開示されている。
【先行技術文献】
【特許文献】
【0005】
特許第7224122号公報
【発明の概要】
【発明が解決しようとする課題】
【0006】
容器中の保存液は、定期的に交換する必要がある。また、保存液の液面変動を生じないようにするためには、容器を確実に液密の状態とする必要がある。このため、容器中の保存液を容易に液密の状態とするように交換できるようにすることが望まれる。
【0007】
本発明は、上述した課題を解決するためになされたものであり、容器中の液体を容易に液密の状態とするように交換できる容器蓋デバイスを提供することを目的とする。
【課題を解決するための手段】
【0008】
上記目的を達成する本発明に係る(1)容器蓋デバイスは、移植物を収納する容器に着脱可能な容器蓋デバイスであって、前記容器の開口部を覆う蓋本体を備え、前記蓋本体は、前記容器が開口する方向を向く天面と、前記天面と反対側を向く底面と、液体注入口となる第1貫通孔と、液体排出口となる第2貫通孔と、を有し、前記天面は、前記第2貫通孔の周囲が凹んだ凹部を有している。
【発明の効果】
【0009】
上記のように構成した(1)容器蓋デバイスは、容器中の液体を交換する際に、蓋本体により閉塞された容器内の空間に液体が満たされると、凹部で液面を確認することができ、容器内の空間を容易かつ確実に液密の状態とすることができる。
【0010】
(2)上記(1)の容器蓋デバイスにおいて、前記蓋本体は、前記第1貫通孔の前記底面側の開口がフィルタ部材で覆われていてもよい。これにより、容器蓋デバイスは、第1貫通孔から液体を注入すると、フィルタ部材によって液体が一旦、受け止められた上で容器内に進入するので、液体の注入に伴う容器内の液面変動を抑制し、容器内に収納された移植物への影響を抑制できる。
(【0011】以降は省略されています)
この特許をJ-PlatPat(特許庁公式サイト)で参照する
関連特許
テルモ株式会社
カテーテル
16日前
テルモ株式会社
カテーテル
16日前
テルモ株式会社
カテーテル
16日前
テルモ株式会社
体液流通用ポート
16日前
テルモ株式会社
画像診断用カテーテル
16日前
テルモ株式会社
医療用長尺体の製造方法
9日前
テルモ株式会社
医療用具およびその製造方法
11日前
テルモ株式会社
動脈瘤治療システムおよび方法
9日前
テルモ株式会社
身体組成計測装置、および制御方法
10日前
テルモ株式会社
医療用具包装体および医療用具包装袋
17日前
テルモ株式会社
カテーテルおよびカテーテルの製造方法
16日前
テルモ株式会社
カテーテルおよびカテーテルの製造方法
16日前
テルモ株式会社
カテーテルおよびカテーテルの製造方法
16日前
テルモ株式会社
情報処理方法、情報処理装置及びプログラム
9日前
テルモ株式会社
情報処理方法、情報処理装置及びプログラム
9日前
テルモ株式会社
カテーテルデバイス及び回収対象物の回収方法
16日前
テルモ株式会社
プログラム、情報処理方法、及び情報処理装置
9日前
テルモ株式会社
情報処理方法、情報処理装置及びコンピュータプログラム
9日前
個人
抗遺伝子劣化装置
1か月前
個人
細胞内探査とその利用
1か月前
雪国アグリ株式会社
単糖類の製造方法
11日前
個人
細胞培養容器
3か月前
日本バイリーン株式会社
細胞用支持基材
3か月前
杏林製薬株式会社
核酸検出用PCR溶液
4か月前
サッポロビール株式会社
飲料
4か月前
東洋紡株式会社
改変型RNAポリメラーゼ
3か月前
株式会社東洋新薬
経口組成物
1か月前
日油株式会社
蛋白質安定化剤
3か月前
株式会社タクマ
バイオマス処理装置
2か月前
株式会社タクマ
バイオマス処理装置
2か月前
テルモ株式会社
吐出デバイス
1か月前
島根県
油吸着材とその製造方法
9日前
東ソー株式会社
pH応答性マイクロキャリア
1か月前
テルモ株式会社
容器蓋デバイス
1か月前
宝酒造株式会社
アルコール飲料
20日前
大陽日酸株式会社
培養装置
1か月前
続きを見る
他の特許を見る