TOP
|
特許
|
意匠
|
商標
特許ウォッチ
Twitter
他の特許を見る
10個以上の画像は省略されています。
公開番号
2025140058
公報種別
公開特許公報(A)
公開日
2025-09-29
出願番号
2024039219
出願日
2024-03-13
発明の名称
ステントデリバリーシステムの製造方法
出願人
テルモ株式会社
代理人
個人
,
個人
,
個人
,
個人
主分類
A61F
2/95 20130101AFI20250919BHJP(医学または獣医学;衛生学)
要約
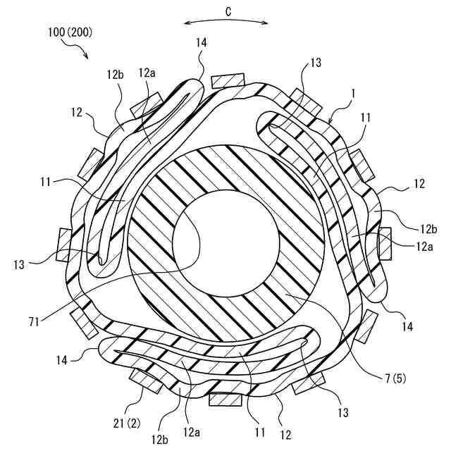
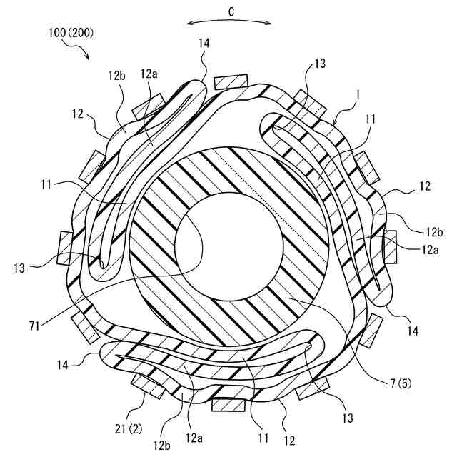
【課題】ステントがクリンプされたバルーンカテーテルの細径化を実現する、ステントデリバリーシステムの製造方法を提供する。
【解決手段】ステントデリバリーシステム200の製造方法は、筒状形状に形成されたステント2の筒内にバルーン1を挿入した状態で、ステント2の径方向における内側向きにステント2を第一直径まで圧縮してステント2とバルーン1とを縮径する第一圧縮工程と、その後に圧縮を解放する第一解放工程と、を含む第一縮径工程と、バルーン2を減圧する減圧工程と、を含む。
【選択図】図2
特許請求の範囲
【請求項1】
筒状形状に形成されたステントの筒内にバルーンを挿入した状態で、前記ステントの径方向における内側向きに前記ステントを第一直径まで圧縮して前記ステントと前記バルーンとを縮径する第一圧縮工程と、その後に圧縮を解放する第一解放工程と、を含む第一縮径工程と、
前記バルーンを減圧する減圧工程と、を含むステントデリバリーシステムの製造方法。
続きを表示(約 600 文字)
【請求項2】
前記減圧工程が、前記第一縮径工程前に行われる請求項1に記載のステントデリバリーシステムの製造方法。
【請求項3】
前記減圧工程が前記第一縮径工程中に行われる請求項1に記載のステントデリバリーシステムの製造方法。
【請求項4】
前記減圧工程が前記第一圧縮工程後に行われる請求項3に記載のステントデリバリーシステムの製造方法。
【請求項5】
前記減圧工程が前記第一解放工程前に行われる請求項4に記載のステントデリバリーシステムの製造方法。
【請求項6】
前記第一縮径工程は、前記ステントを前記第一直径のままで維持する第一維持工程を更に含み、
前記減圧工程が前記第一維持工程中に行われる請求項3に記載のステントデリバリーシステムの製造方法。
【請求項7】
前記バルーンに流体を供給して膨らませ、前記バルーンを前記ステントの内側に押し付ける加圧工程を更に含む請求項1から6の何れか一項に記載のステントデリバリーシステムの製造方法。
【請求項8】
前記第一縮径工程後に行われ、前記ステントの径方向における内側向きに前記ステントを圧縮して前記ステントと前記バルーンとを縮径し、その後に圧縮を解放する第二縮径工程を更に含む請求項1から6の何れか一項に記載のステントデリバリーシステムの製造方法。
発明の詳細な説明
【技術分野】
【0001】
本開示は、ステントデリバリーシステムの製造方法に関する。
続きを表示(約 1,200 文字)
【背景技術】
【0002】
特許文献1には、バルーンカテーテルにステントをクリンプする、ステントデリバリーシステムの製造方法が開示されている。このステントデリバリーシステムの製造方法では、準備したステントを、折り畳まれたバルーンの外径と同じかこれよりも小さい内径を有する第二の径に予め収縮しておき、これに対して折り畳まれたバルーンを挿入し、更にステントの外面から径方向内側に向けて圧力を印加してステントをクリンプが完了した径である第三の径に収縮する。このステントデリバリーシステムの製造方法では、ステントの脱落や移動を防止可能なステントデリバリーシステムを製造することができるとされている。
【先行技術文献】
【特許文献】
【0003】
2012-070912号公報
【発明の概要】
【発明が解決しようとする課題】
【0004】
ステントデリバリーシステムでは、バルーンカテーテルのバルーンにクリンプされた状態のステントの直径が大きいと、バルーンカテーテルの病変部の通過性が低下する場合がある。しかし、例えば特許文献1に開示されたような従来技術では、ステントをバルーンにクリンプする際にバルーンの羽根部の形状が乱れ、これにより十分に細径化できない場合があった。そのため、ステントがクリンプされたバルーンカテーテルの細径化が望まれる。
【0005】
本開示は、かかる実状に鑑みて為されたものであって、その目的は、ステントがクリンプされたバルーンカテーテルの細径化を実現するステントデリバリーシステムの製造方法を提供することにある。
【課題を解決するための手段】
【0006】
上記目的を達成するための、本開示に係るステントデリバリーシステムの製造方法は以下のとおりである。
【0007】
[1] 筒状形状に形成されたステントの筒内にバルーンを挿入した状態で、前記ステントの径方向における内側向きに前記ステントを第一直径まで圧縮して前記ステントと前記バルーンとを縮径する第一圧縮工程と、その後に圧縮を解放する第一解放工程と、を含む第一縮径工程と、
前記バルーンを減圧する減圧工程と、を含むステントデリバリーシステムの製造方法。
【0008】
[2] 前記減圧工程が、前記第一縮径工程前に行われる上記[1]に記載のステントデリバリーシステムの製造方法。
【0009】
[3] 前記減圧工程が前記第一縮径工程中に行われる上記[1]に記載のステントデリバリーシステムの製造方法。
【0010】
[4] 前記減圧工程が前記第一圧縮工程後に行われる上記[3]に記載のステントデリバリーシステムの製造方法。
(【0011】以降は省略されています)
この特許をJ-PlatPat(特許庁公式サイト)で参照する
関連特許
テルモ株式会社
移送器具
1か月前
テルモ株式会社
移送器具
1か月前
テルモ株式会社
移送器具
1か月前
テルモ株式会社
カテーテル
8日前
テルモ株式会社
カテーテル
8日前
テルモ株式会社
カテーテル
8日前
テルモ株式会社
採血管ホルダ
10日前
テルモ株式会社
液飛散防止具
1か月前
テルモ株式会社
医療デバイス
12日前
テルモ株式会社
医療用送液装置
1か月前
テルモ株式会社
液体循環システム
12日前
テルモ株式会社
液体排出システム
12日前
テルモ株式会社
体液流通用ポート
8日前
テルモ株式会社
画像診断用カテーテル
8日前
テルモ株式会社
医療用長尺体の製造方法
1日前
テルモ株式会社
医療デバイス及び治療方法
1か月前
テルモ株式会社
医療用具およびその製造方法
3日前
テルモ株式会社
動脈瘤治療システムおよび方法
1日前
テルモ株式会社
医療用チューブ閉塞検出システム
1か月前
テルモ株式会社
身体組成計測装置、および制御方法
2日前
テルモ株式会社
医療用具包装体および医療用具包装袋
9日前
テルモ株式会社
カテーテルおよびカテーテルの製造方法
8日前
テルモ株式会社
カテーテルおよびカテーテルの製造方法
8日前
テルモ株式会社
ステントデリバリーシステムの製造方法
12日前
テルモ株式会社
ステントデリバリーシステムの製造方法
12日前
テルモ株式会社
ステントデリバリーシステムの製造方法
12日前
テルモ株式会社
ステントデリバリーシステムの製造方法
12日前
テルモ株式会社
カテーテルおよびカテーテルの製造方法
8日前
テルモ株式会社
情報処理方法、情報処理装置及びプログラム
1日前
テルモ株式会社
情報処理方法、情報処理装置及びプログラム
1日前
テルモ株式会社
プログラム、情報処理方法、及び情報処理装置
1日前
テルモ株式会社
カテーテルデバイス及び回収対象物の回収方法
8日前
テルモ株式会社
輸液ポンプ及びその制御方法、並びに、プログラム
23日前
テルモ株式会社
コンピュータプログラム、情報処理装置及び情報処理方法
24日前
テルモ株式会社
情報処理装置、コンピュータプログラム及び情報処理方法
16日前
テルモ株式会社
情報処理方法、情報処理装置及びコンピュータプログラム
1日前
続きを見る
他の特許を見る