TOP
|
特許
|
意匠
|
商標
特許ウォッチ
Twitter
他の特許を見る
公開番号
2025140054
公報種別
公開特許公報(A)
公開日
2025-09-29
出願番号
2024039211
出願日
2024-03-13
発明の名称
ステントデリバリーシステムの製造方法
出願人
テルモ株式会社
代理人
個人
,
個人
,
個人
,
個人
主分類
A61F
2/95 20130101AFI20250919BHJP(医学または獣医学;衛生学)
要約
【課題】ステントがクリンプされたバルーンカテーテルのリテンションの向上を実現するステントデリバリーシステムの製造方法を提供する。
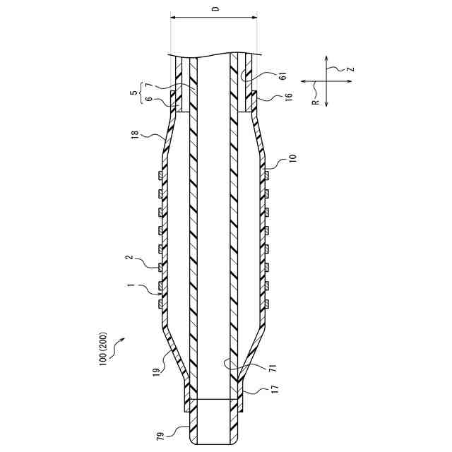
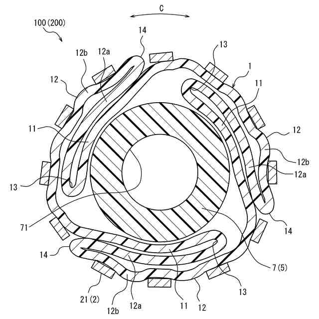
【解決手段】ステントデリバリーシステム200の製造方法は、筒状形状に形成されたステント2の筒内にバルーン1を挿入した状態で、ステント2の径方向における内側向きにステント2を圧縮してステント2とバルーン1とを縮径する第一圧縮工程と、その後に圧縮を解放する第一解放工程と、を含む第一縮径工程と、バルーン2に流体を供給して膨らませ、バルーン1をステント2の内側に押し付ける加圧工程と、を含み、加圧工程は、第一解放工程によってステント2がリコイルした状態のリコイル径よりもステント2を拡径させて行う。
【選択図】図2
特許請求の範囲
【請求項1】
筒状形状に形成されたステントの筒内にバルーンを挿入した状態で、前記ステントの径方向における内側向きに前記ステントを圧縮して前記ステントと前記バルーンとを縮径する第一圧縮工程と、その後に圧縮を解放する第一解放工程と、を含む第一縮径工程と、
前記バルーンに流体を供給して膨らませ、前記バルーンを前記ステントの内側に押し付ける加圧工程と、を含み、
前記加圧工程は、前記第一解放工程によって前記ステントがリコイルした状態のリコイル径よりも前記ステントを拡径させて行うステントデリバリーシステムの製造方法。
続きを表示(約 680 文字)
【請求項2】
前記加圧工程は、前記バルーンに供給した流体の圧力と、前記ステントの直径とを、所定の時間、一定に保つ保持工程を含む請求項1に記載のステントデリバリーシステムの製造方法。
【請求項3】
前記第一縮径工程後に行われ、前記ステントの径方向における内側向きに前記ステントを圧縮して前記ステントと前記バルーンとを縮径する第二圧縮工程と、その後に圧縮を解放する第二解放工程と、を含む第二縮径工程とを更に含み、
前記第一圧縮工程は、前記ステントの径方向における内側向きに前記ステントを圧縮して前記ステントを第一直径まで縮径し、
前記第二圧縮工程は、前記ステントの径方向における内側向きに前記ステントを圧縮して前記ステントを第二直径まで縮径し、
前記第二直径は、前記第一直径よりも小さい請求項2に記載のステントデリバリーシステムの製造方法。
【請求項4】
前記第一縮径工程と前記加圧工程とは、2回以上繰り返し行われる請求項1又は2に記載のステントデリバリーシステムの製造方法。
【請求項5】
前記第一縮径工程と前記加圧工程とは、2回以上繰り返し行われる請求項3に記載のステントデリバリーシステムの製造方法。
【請求項6】
前記第二縮径工程は、2回以上繰り返し行われる請求項5に記載のステントデリバリーシステムの製造方法。
【請求項7】
前記第一解放工程では、前記ステントを、前記リコイル径以上に拡径させる請求項1に記載のステントデリバリーシステムの製造方法。
発明の詳細な説明
【技術分野】
【0001】
本開示は、ステントデリバリーシステムの製造方法に関する。
続きを表示(約 1,500 文字)
【背景技術】
【0002】
特許文献1には、バルーンカテーテルにステントをクリンプする、ステントデリバリーシステムの製造方法が開示されている。このステントデリバリーシステムの製造方法では、準備したステントを、折り畳まれたバルーンの外径と同じかこれよりも小さい内径を有する第二の径に予め収縮しておき、これに対して折り畳まれたバルーンを挿入し、更にステントの外面から径方向内側に向けて圧力を印加してステントをクリンプが完了した径である第三の径に収縮する。このステントデリバリーシステムの製造方法では、ステントの脱落や移動を防止可能なステントデリバリーシステムを製造することができるとされている。
【先行技術文献】
【特許文献】
【0003】
2012-070912号公報
【発明の概要】
【発明が解決しようとする課題】
【0004】
ステントデリバリーシステムでは、バルーンカテーテルのバルーンにクリンプされた状態のステントの保持力、すなわちリテンションが小さいと、ステントがバルーンから脱落してしまう場合がある。しかし、例えば特許文献1に開示されたような従来技術では十分なリテンションを実現できない場合があった。そのため、バルーンカテーテルにおける、ステントをバルーンに保持する保持力の向上、すなわち、リテンションの向上が望まれる。
【0005】
本開示は、かかる実状に鑑みて為されたものであって、その目的は、ステントがクリンプされたバルーンカテーテルのリテンションの向上を実現するステントデリバリーシステムの製造方法を提供することにある。
【課題を解決するための手段】
【0006】
上記目的を達成するための、本開示に係るステントデリバリーシステムの製造方法は以下のとおりである。
【0007】
[1] 筒状形状に形成されたステントの筒内にバルーンを挿入した状態で、前記ステントの径方向における内側向きに前記ステントを圧縮して前記ステントと前記バルーンとを縮径する第一圧縮工程と、その後に圧縮を解放する第一解放工程と、を含む第一縮径工程と、
前記バルーンに流体を供給して膨らませ、前記バルーンを前記ステントの内側に押し付ける加圧工程と、を含み、
前記加圧工程は、前記第一解放工程によって前記ステントがリコイルした状態のリコイル径よりも前記ステントを拡径させて行うステントデリバリーシステムの製造方法。
【0008】
[2] 前記加圧工程は、前記バルーンに供給した流体の圧力と、前記ステントの直径とを、所定の時間、一定に保つ保持工程を含む上記[1]に記載のステントデリバリーシステムの製造方法。
【0009】
[3] 前記第一縮径工程後に行われ、前記ステントの径方向における内側向きに前記ステントを圧縮して前記ステントと前記バルーンとを縮径する第二圧縮工程と、その後に圧縮を解放する第二解放工程と、を含む第二縮径工程とを更に含み、
前記第一圧縮工程は、前記ステントの径方向における内側向きに前記ステントを圧縮して前記ステントを第一直径まで縮径し、
前記第二圧縮工程は、前記ステントの径方向における内側向きに前記ステントを圧縮して前記ステントを第二直径まで縮径し、
前記第二直径は、前記第一直径よりも小さい上記[2]に記載のステントデリバリーシステムの製造方法。
【0010】
[4] 前記第一縮径工程と前記加圧工程とは、2回以上繰り返し行われる上記[1]又は[2]に記載のステントデリバリーシステムの製造方法。
(【0011】以降は省略されています)
この特許をJ-PlatPat(特許庁公式サイト)で参照する
関連特許
テルモ株式会社
カテーテル
4日前
テルモ株式会社
カテーテル
25日前
テルモ株式会社
カテーテル
4日前
テルモ株式会社
カテーテル
25日前
テルモ株式会社
カテーテル
25日前
テルモ株式会社
採血管ホルダ
27日前
テルモ株式会社
医療デバイス
29日前
テルモ株式会社
液体循環システム
29日前
テルモ株式会社
液体排出システム
29日前
テルモ株式会社
体液流通用ポート
25日前
テルモ株式会社
画像診断用カテーテル
25日前
テルモ株式会社
医療用長尺体の製造方法
18日前
テルモ株式会社
医療用具およびその製造方法
20日前
テルモ株式会社
動脈瘤治療システムおよび方法
18日前
テルモ株式会社
身体組成計測装置、および制御方法
19日前
テルモ株式会社
医療用具包装体および医療用具包装袋
26日前
テルモ株式会社
カテーテルおよびカテーテルの製造方法
25日前
テルモ株式会社
ステントデリバリーシステムの製造方法
29日前
テルモ株式会社
カテーテルおよびカテーテルの製造方法
25日前
テルモ株式会社
ステントデリバリーシステムの製造方法
29日前
テルモ株式会社
ステントデリバリーシステムの製造方法
29日前
テルモ株式会社
カテーテルおよびカテーテルの製造方法
25日前
テルモ株式会社
ステントデリバリーシステムの製造方法
29日前
テルモ株式会社
情報処理方法、情報処理装置及びプログラム
18日前
テルモ株式会社
情報処理方法、情報処理装置及びプログラム
18日前
テルモ株式会社
カテーテルデバイス及び回収対象物の回収方法
25日前
テルモ株式会社
プログラム、情報処理方法、及び情報処理装置
18日前
テルモ株式会社
輸液ポンプ及びその制御方法、並びに、プログラム
1か月前
テルモ株式会社
情報処理方法、情報処理装置及びコンピュータプログラム
18日前
テルモ株式会社
情報処理装置、コンピュータプログラム及び情報処理方法
1か月前
テルモ株式会社
コンピュータプログラム、情報処理装置及び情報処理方法
1か月前
テルモ株式会社
薬液投与装置
1か月前
テルモ株式会社
ステントデリバリーシステムの製造方法及びステントデリバリーシステム
29日前
テルモ株式会社
留置カテーテル、留置カテーテルシステム、判定装置、判定方法及びコンピュータプログラム
29日前
個人
貼付剤
1日前
個人
健康器具
8か月前
続きを見る
他の特許を見る