TOP
|
特許
|
意匠
|
商標
特許ウォッチ
Twitter
他の特許を見る
公開番号
2025126979
公報種別
公開特許公報(A)
公開日
2025-09-01
出願番号
2024023402
出願日
2024-02-20
発明の名称
瓶詰ビールの加熱殺菌方法および装置
出願人
株式会社今宮
代理人
個人
主分類
C12H
1/00 20060101AFI20250825BHJP(生化学;ビール;酒精;ぶどう酒;酢;微生物学;酵素学;突然変異または遺伝子工学)
要約
【課題】高額な加熱殺菌装置を用いることなく、瓶詰めされたビールを低コストで加熱殺菌できる瓶詰ビールの低温殺菌方法と装置を提供する。
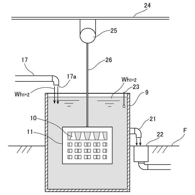
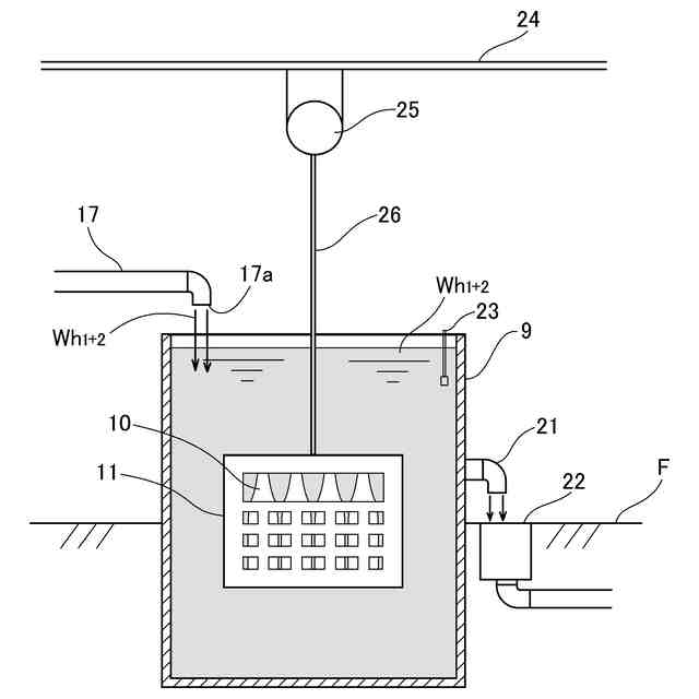
【解決手段】麦芽を糖化させる糖化工程と、糖化工程で得られた麦汁を発酵させる発酵工程と、発酵工程で得られた若ビールを熟成させる熟成工程とを経て、熟成工程で得られたビールを瓶詰め後に加熱殺菌するにあたり、源泉から汲み上げた60~85℃の温泉水を源泉タンク9の中に常時かけ流し、瓶詰め後の複数本の瓶詰ビール10をケース11に収容して源泉タンク9の中にケース11ごと一定時間浸し、加熱殺菌を行う。
【選択図】図2
特許請求の範囲
【請求項1】
麦芽を糖化させる糖化工程と、糖化工程で得られた麦汁を発酵させる発酵工程と、発酵工程で得られた若ビールを熟成させる熟成工程とを経て、熟成工程で得られたビールを瓶詰め後に加熱殺菌するにあたり、
源泉から汲み上げた60~85℃の温泉水を源泉タンクの中に常時かけ流し、瓶詰め後の複数本の瓶詰ビールをケースに収容して前記源泉タンクの中にケースごと一定時間浸し、加熱殺菌を行うことを特徴とする瓶詰ビールの加熱殺菌方法。
続きを表示(約 1,000 文字)
【請求項2】
源泉温度が65~100℃未満の温泉水と、源泉温度が25~65℃未満の温泉水を混合させ、60~85℃に調整された温泉水を源泉タンクの中に常時かけ流し、瓶詰め後の複数本の瓶詰ビールをケースに収容して前記源泉タンクの中にケースごと一定時間浸し、加熱殺菌を行うことを特徴とする、請求項1記載の瓶詰ビールの加熱殺菌方法。
【請求項3】
前記源泉タンクの中に常時かけ流された温泉水の、同源泉タンクの中での温度を65~70℃に保持し、前記源泉タンクの中の温泉水に瓶詰ビールを12~18分間浸すことを特徴とする、請求項1記載の瓶詰ビールの加熱殺菌方法。
【請求項4】
前記源泉タンクの中に常時かけ流された温泉水の、同源泉タンクの中での温度を67℃に保持し、前記源泉タンクの中の温泉水に瓶詰ビールを15分間浸すことを特徴とする、請求項1記載の瓶詰ビールの加熱殺菌方法。
【請求項5】
前記源泉タンクの中に常時かけ流された温泉水に、多数本の瓶詰ビールを、上面が開口し残りの面がメッシュ状に開口したケースに収容してケースごと一定時間浸すことを特徴とする、請求項1記載の瓶詰ビールの加熱殺菌方法。
【請求項6】
源泉タンクと、源泉から汲み上げた60~85℃の温泉水を前記源泉タンクに常時かけ流して供給する供給管と、上面が開口し残りの面がメッシュ状に開口したケースとを備え、源泉から汲み上げた60~85℃の温泉水を、前記供給管を経由して前記源泉タンクの中に常時かけ流して溜めるとともに、多数本の瓶詰ビールを前記ケースに収容して当該ケースごと源泉タンクの中に一定時間浸し、各瓶詰ビールを低温殺菌することを特徴とする瓶詰ビールの加熱殺菌装置。
【請求項7】
源泉タンクと、源泉温度が65~100℃未満の温泉水を第1源泉から汲み上げる第1配管と、源泉温度が25~65℃未満の温泉水を第2源泉から汲み上げる第2配管と、第1配管からの温泉水と第2配管からの温泉水を源泉タンクへの供給温度が60~85℃となるように途中で混合する混合部と、混合部から混合温泉水を源泉タンクの中に60~85℃の温度で常時かけ流して供給する供給管と、源泉タンクの中の混合温泉水の温度を計測する計測手段と、第1配管から混合部への温泉水の流量と第2配管から混合部への温泉水の流量をそれぞれ調整する流量調整手段を備えることを特徴とする瓶詰ビールの加熱殺菌装置。
発明の詳細な説明
【技術分野】
【0001】
本発明は、瓶詰ビールの加熱殺菌方法とこの方法に用いる装置に関する。
続きを表示(約 1,700 文字)
【背景技術】
【0002】
ビールの製造は、大きく分けると、麦芽の糖化、発酵、熟成、加熱殺菌、出荷の各工程に分けられる。麦芽の糖化は、ビールの原料となる麦芽を糖化タンクに投入し、酵素の働きで麦芽のでんぷんを麦芽糖に変える(糖化)。濾過により得られた麦汁は煮沸タンクで煮沸し、ホップを投入して冷却する。発酵は、冷却後の麦汁を発酵タンクに移し、ビール酵母を投入して発酵させる。熟成は、発酵後の若ビールを貯留タンク内で熟成させる。加熱殺菌は、熟成後のビールを瓶容器に瓶詰めし、加熱殺菌する。このように瓶詰めして加熱殺菌されたビールが出荷される。
【0003】
ビールの製造方法に関して、従来、長期保存が可能なビールの製造方法(特許文献1)、容器内の菌類を低温殺菌により死滅させるビールの製造方法(特許文献2)が提案されている。また、加熱殺菌に関して、超音波を用いて加熱殺菌する方法(特許文献3)が提案されている。
【先行技術文献】
【特許文献】
【0004】
特開2007-97433号公報
特開平09-224636号公報
特開昭58-179480号公報
【発明の概要】
【発明が解決しようとする課題】
【0005】
しかしながら、特許文献1の製造方法は、予熱と加熱の工程を備え、瓶詰め後のビールをそれぞれの工程で湯煎により加熱している。特許文献1の方法は、湯煎用の加熱装置が必要で一般に加熱装置は高額であり、また、湯煎の温度管理が複雑になることから、設備コストが高額になり、温度管理も難しい。湯煎による加熱を行わない場合、温度管理されたシャワーを通過させる方法があるが、この場合も設備コストや温度管理の問題が存在する。特許文献2の製造方法は、低温殺菌装置(例えばトンネル内を通過する瓶詰めされたビールに温水シャワーをかける装置など)を用いており、設備コストが非常に高い。また、特許文献3の方法も、超音波を照射する装置を新たに設置することで、製造コストの上昇を招くという課題がある。
【0006】
本発明は、前記課題に鑑みてなされたもので、高額な加熱殺菌装置を用いることなく、瓶詰めされたビールを低コストで加熱殺菌できる瓶詰ビールの殺菌方法と装置を提供することを目的とする。
【課題を解決するための手段】
【0007】
上記課題を解決するために、本発明に係る瓶詰ビールの加熱殺菌方法は、
麦芽を糖化させる糖化工程と、糖化工程で得られた麦汁を発酵させる発酵工程と、発酵工程で得られた若ビールを熟成させる熟成工程とを経て、熟成工程で得られたビールを瓶詰め後に加熱殺菌するにあたり、
源泉から汲み上げた60~85℃の温泉水を源泉タンクの中に常時かけ流し、瓶詰め後の複数本の瓶詰ビールをケースに収容して前記源泉タンクの中にケースごと一定時間浸し、加熱殺菌を行うことを第1の特徴とする。
【0008】
本発明に係る瓶詰ビールの加熱殺菌方法は、
源泉温度が65~100℃未満の温泉水と、源泉温度が25~65℃未満の温泉水を混合させ、60~85℃に調整された温泉水を源泉タンクの中に常時かけ流し、瓶詰め後の複数本の瓶詰ビールをケースに収容して前記源泉タンクの中にケースごと一定時間浸し、加熱殺菌を行うことを第2の特徴とする。
【0009】
本発明に係る瓶詰ビールの加熱殺菌方法は、
前記源泉タンクの中に常時かけ流された温泉水の、同源泉タンクの中での温度を65~70℃に保持し、前記源泉タンクの中の温泉水に瓶詰ビールを12~18分間浸すことを第3の特徴とする。
【0010】
本発明に係る瓶詰ビールの加熱殺菌方法は、
前記源泉タンクの中に常時かけ流された温泉水の、同源泉タンクの中での温度を67℃に保持し、前記源泉タンクの中の温泉水に瓶詰ビールを15分間浸すことを第4の特徴とする。
(【0011】以降は省略されています)
この特許をJ-PlatPat(特許庁公式サイト)で参照する
関連特許
個人
抗遺伝子劣化装置
3か月前
雪国アグリ株式会社
単糖類の製造方法
1か月前
テルモ株式会社
吐出デバイス
2か月前
島根県
油吸着材とその製造方法
1か月前
東ソー株式会社
pH応答性マイクロキャリア
2か月前
テルモ株式会社
容器蓋デバイス
2か月前
宝酒造株式会社
アルコール飲料
1か月前
トヨタ自動車株式会社
バイオ燃料製造方法
2か月前
株式会社豊田中央研究所
細胞励起装置
1か月前
個人
有機フッ素化合物を分解する廃液処理法
1か月前
月桂冠株式会社
低プリン体清酒
1か月前
株式会社シャローム
スフィンゴミエリン製造方法
2か月前
株式会社カクサスバイオ
新規免疫抑制方法
15日前
テルモ株式会社
採取組織細切補助デバイス
2か月前
新東工業株式会社
培養システム
1か月前
株式会社今宮
瓶詰ビールの加熱殺菌方法および装置
2か月前
横河電機株式会社
藻類培養装置
2か月前
株式会社村田製作所
濾過装置および濾過方法
1か月前
東ソー株式会社
免疫グロブリン結合性タンパク質の製造方法
20日前
東ソー株式会社
免疫学的測定法
1か月前
住友金属鉱山株式会社
連続発酵方法及び連続発酵装置
2か月前
株式会社ショウワ
キトサンオリゴマー分画方法
1か月前
株式会社日本触媒
スフェロイドの輸送方法
1か月前
フジッコ株式会社
エリナシンAの産生方法
1か月前
個人
酒粕パウダーの製造方法
7日前
NTN株式会社
細胞配置の制御方法
1か月前
株式会社カネカ
予測方法及び製造方法
1か月前
積水化学工業株式会社
遺伝子導入方法
1か月前
住友ベークライト株式会社
培養キット
2か月前
セイコーエプソン株式会社
菌糸複合材料
1か月前
東ソー株式会社
温度応答性マイクロキャリアを用いた拡大培養方法
2か月前
東ソー株式会社
死細胞の分離剤およびそれを用いた細胞の製造方法
20日前
株式会社Logomix
細胞ライブラリおよびその製造方法
8日前
国立大学法人九州大学
核酸増幅方法
2か月前
ZACROS株式会社
サンプリング容器、及び培養装置
1か月前
株式会社KINS
バイオマーカ及び判定補助方法
21日前
続きを見る
他の特許を見る