TOP
|
特許
|
意匠
|
商標
特許ウォッチ
Twitter
他の特許を見る
公開番号
2025149123
公報種別
公開特許公報(A)
公開日
2025-10-08
出願番号
2024049581
出願日
2024-03-26
発明の名称
菌糸複合材料
出願人
セイコーエプソン株式会社
代理人
個人
,
個人
,
個人
,
個人
主分類
C12N
1/00 20060101AFI20251001BHJP(生化学;ビール;酒精;ぶどう酒;酢;微生物学;酵素学;突然変異または遺伝子工学)
要約
【課題】強度と質感が向上したヴィーガンレザーとして使用できる菌糸複合材料の提供。
【解決手段】第1方向に配向する繊維と、菌糸体と、を含む菌糸複合材料であって、前記第1方向は前記繊維の長手方向であり、培養増殖した菌糸により前記繊維と前記菌糸体とが一体化している、菌糸複合材料。菌糸複合材料の一態様は菌糸複合シートが積層された積層体である。菌糸体はシイタケの菌糸体であることが好ましい。積層体は、少なくとも第1の菌糸複合シートと、第2の菌糸複合シートとが積層され、前記第1の菌糸複合シートの繊維の配向方向は、前記第2の菌糸複合シートの繊維の配向方向と交差する。
【選択図】なし
特許請求の範囲
【請求項1】
第1方向に配向する繊維と、菌糸体と、を含む菌糸複合材料であって、
前記第1方向は前記繊維の長手方向であり、
培養増殖した菌糸により前記繊維と前記菌糸体とが一体化している、菌糸複合材料。
続きを表示(約 730 文字)
【請求項2】
前記菌糸複合材料は菌糸複合シートが積層された積層体であり、
少なくとも第1の菌糸複合シートと、第2の菌糸複合シートとが積層され、
前記第1の菌糸複合シートの繊維の配向方向は、前記第2の菌糸複合シートの繊維の配向方向と交差する、請求項1に記載の菌糸複合材料。
【請求項3】
前記繊維は、解繊時の数平均繊維長が0.001mm以上5.0mm以下であり、数平均繊維径が1.0μm以上100.0μm以下である、請求項1又は2に記載の菌糸複合材料。
【請求項4】
前記繊維の含有割合をAとし、前記菌糸体の含有割合をBとしたとき、AとBとの比(A/B)が10/90~90/10である、請求項1又は2に記載の菌糸複合材料。
【請求項5】
前記菌糸の数平均繊維径が1μm以上10μm以下であり、前記繊維の数平均繊維径が11μm以上30μm以下である、請求項1又は2に記載の菌糸複合材料。
【請求項6】
前記菌糸体はシイタケの菌糸体である、請求項1又は2に記載の菌糸複合材料。
【請求項7】
さらに可塑剤を含む、請求項1又は2に記載の菌糸複合材料。
【請求項8】
さらにデンプン複合粒子を含む、請求項1又は2に記載の菌糸複合材料。
【請求項9】
さらに架橋剤を含む、請求項1又は2に記載の菌糸複合材料。
【請求項10】
前記菌糸複合材料の全量に対する、可塑剤、デンプン複合粒子及び架橋剤の合計含有割合が、2.5質量%以上80質量%以下である、請求項1又は2に記載の菌糸複合材料。
(【請求項11】以降は省略されています)
発明の詳細な説明
【技術分野】
【0001】
本発明は、菌糸複合材料に関する。
続きを表示(約 2,700 文字)
【背景技術】
【0002】
皮革素材は衣料品や装身具などの様々な用途に使用されている。皮革素材には、牛や羊などの哺乳類、ヘビやワニなどの爬虫類からとれた動物由来の革をなめした皮革や、革の質感を模倣して人工的に製造した合成皮革がある。
【0003】
近年、動物保護の観点や環境負荷を軽減する観点から、動物由来の素材や、石油由来の原料を多く使用する合成皮革のような素材を代替する代替素材が求められている。このような代替素材として、アップルレザーやキノコレザー等、植物由来の素材を使用し、革の見た目や質感を再現した素材が検討されおり、このような素材はヴィーガンレザーとして知られている。
【0004】
ヴィーガンレザーの1つであるキノコレザーは、キノコの菌糸体から作られた微細な繊維状構造を有する素材である。例えば特許文献1は、培養菌糸体材料と結合剤とを含む複合材料を開示している。
【先行技術文献】
【特許文献】
【0005】
特表2022-534025号公報
【発明の概要】
【発明が解決しようとする課題】
【0006】
動物由来の皮革や合成皮革の代替素材は衣料品、装身具、さらには家具等にも広く用いられるため、独自の質感や強度の向上が求められる。
本発明は上記事情に鑑みてなされたものであって、独自の質感や強度が向上したヴィーガンレザーとして使用できる菌糸複合材料を提供することを目的とする。
【課題を解決するための手段】
【0007】
すなわち、本発明は、以下の態様を含む。
[1]第1方向に配向する繊維と、菌糸体と、を含む菌糸複合材料であって、前記第1方向は前記繊維の長手方向であり、培養増殖した菌糸により前記繊維と前記菌糸体とが一体化している、菌糸複合材料。
[2]前記菌糸複合材料は菌糸複合シートが積層された積層体であり、少なくとも第1の菌糸複合シートと、第2の菌糸複合シートとが積層され、前記第1の菌糸複合シートの繊維の配向方向は、前記第2の菌糸複合シートの繊維の配向方向と交差する、[1]に記載の菌糸複合材料。
[3]前記繊維は、解繊時の数平均繊維長が0.001mm以上5.0mm以下であり、数平均繊維径が1.0μm以上100.0μm以下である、[1]又は[2]に記載の菌糸複合材料。
[4]前記繊維の含有割合をAとし、前記菌糸体の含有割合をBとしたとき、AとBとの比(A/B)が10/90~90/10である、[1]~[3]のいずれか1つに記載の菌糸複合材料。
[5]前記菌糸の数平均繊維径が1μm以上10μm以下であり、前記繊維の数平均繊維径が11μm以上30μm以下である、[1]~[4]のいずれか1つに記載の菌糸複合材料。
[6]前記菌糸体はシイタケの菌糸体である、[1]~[5]のいずれか1つに記載の菌糸複合材料。
[7]さらに可塑剤を含む、[1]~[6]のいずれか1つに記載の菌糸複合材料。
[8]さらにデンプン複合粒子を含む、[1]~[7]のいずれか1つに記載の菌糸複合材料。
[9]さらに架橋剤を含む、[1]~[8]のいずれか1つに記載の菌糸複合材料。
[10]前記菌糸複合材料の全量に対する、可塑剤、デンプン複合粒子及び架橋剤の合計含有割合が、2.5質量%以上80質量%以下である、[1]~[9]のいずれか1つに記載の菌糸複合材料。
[11]可塑剤として糖アルコールを含む、[1]~[10]のいずれか1つに記載の菌糸複合材料。
[12]可塑剤として糖アルコールを含み、前記糖アルコールは、ソルビトール、エリスリトール及びD-マンニトールからなる群より選択される1種以上である、[1]~[11]のいずれか1つに記載の菌糸複合材料。
[13]可塑剤とデンプン複合粒子を含み、前記可塑剤と前記デンプン複合粒子の合計含有量(100質量%)に対する、前記可塑剤の含有割合が10質量%以上80質量%以下である、[1]~[12]のいずれか1つに記載の菌糸複合材料。
[14]架橋剤としてジカルボン酸を含む、[1]~[13]のいずれか1つに記載の菌糸複合材料。
[15]架橋剤としてジカルボン酸を含み、前記ジカルボン酸は、コハク酸、アジピン酸及びセバシン酸からなる群より選択される1種以上である、[1]~[14]のいずれか1つに記載の菌糸複合材料。
[16]デンプン複合粒子と架橋剤を含み、前記デンプン複合粒子と前記架橋剤の合計含有量(100質量%)に対する、前記架橋剤の含有割合が1質量%以上50質量%以下である、[1]~[15]のいずれか1つに記載の菌糸複合材料。
[17]平均粒子径が1μm以上50μm以下のデンプン複合粒子を含む、[1]~[16]のいずれか1つに記載の菌糸複合材料。
[18]前記繊維はセルロースを含む、[1]~[17]のいずれか1つに記載の菌糸複合材料。
【発明の効果】
【0008】
本発明によれば、独自の質感や強度が向上したヴィーガンレザーとして使用できる菌糸複合材料を提供することができる。
【図面の簡単な説明】
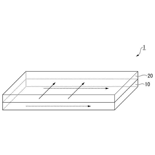
【0009】
本実施形態の積層体の一例を説明するための模式図である。
本実施形態の菌糸複合材料の製造に用いる配向装置の一例を説明するための模式図である。
【発明を実施するための形態】
【0010】
<菌糸複合材料>
本発明の一態様は、第1方向に配向する繊維と、菌糸体と、を含む菌糸複合材料である。菌糸複合材料は、培養増殖した菌糸により、繊維と菌糸体とが一体化している。
より詳細には、本実施形態の菌糸複合材料は、繊維を足場として菌糸が増殖培養し、繊維と菌糸体とが一体化している。足場となる繊維が第1方向に配向していることで、繊維配向と平行方向の強度が向上する。また、菌糸が繊維同士の隙間を埋めるように培養増殖し、繊維と菌糸体とが一体化しているため、繊維配向と交差する方向の強度も向上する。ここで「一体化」とは、繊維と菌糸とが絡み合った状態、繊維に菌糸が巻き付いた状態、菌糸が繊維に表面接着した状態、等の態様を含む。
(【0011】以降は省略されています)
この特許をJ-PlatPat(特許庁公式サイト)で参照する
関連特許
個人
抗遺伝子劣化装置
3か月前
個人
細胞内探査とその利用
3か月前
三洋化成工業株式会社
細胞培養用担体
9日前
雪国アグリ株式会社
単糖類の製造方法
2か月前
株式会社東洋新薬
経口組成物
3か月前
株式会社タクマ
バイオマス処理装置
4か月前
株式会社タクマ
バイオマス処理装置
4か月前
テルモ株式会社
吐出デバイス
3か月前
島根県
油吸着材とその製造方法
1か月前
東ソー株式会社
pH応答性マイクロキャリア
3か月前
テルモ株式会社
容器蓋デバイス
3か月前
宝酒造株式会社
アルコール飲料
2か月前
大陽日酸株式会社
培養装置
3か月前
大陽日酸株式会社
培養装置
3か月前
トヨタ自動車株式会社
バイオ燃料製造方法
2か月前
株式会社ファンケル
SEC12タンパク発現促進剤
4か月前
個人
有機フッ素化合物を分解する廃液処理法
1か月前
月桂冠株式会社
低プリン体清酒
1か月前
株式会社豊田中央研究所
細胞励起装置
2か月前
株式会社カクサスバイオ
新規免疫抑制方法
25日前
テルモ株式会社
採取組織細切補助デバイス
3か月前
株式会社シャローム
スフィンゴミエリン製造方法
3か月前
新東工業株式会社
培養システム
1か月前
横河電機株式会社
藻類培養装置
2か月前
株式会社今宮
瓶詰ビールの加熱殺菌方法および装置
3か月前
株式会社村田製作所
濾過装置および濾過方法
1か月前
株式会社ショウワ
キトサンオリゴマー分画方法
2か月前
公立大学法人北九州市立大学
微生物の検知方法
3か月前
東ソー株式会社
免疫グロブリン結合性タンパク質の製造方法
1か月前
東ソー株式会社
免疫学的測定法
1か月前
住友金属鉱山株式会社
連続発酵方法及び連続発酵装置
3か月前
個人
酒粕パウダーの製造方法
17日前
株式会社日本触媒
スフェロイドの輸送方法
2か月前
フジッコ株式会社
エリナシンAの産生方法
2か月前
積水化学工業株式会社
遺伝子導入方法
2か月前
酒ハックプロジェクト株式会社
カクテルスモーカー
4日前
続きを見る
他の特許を見る