TOP
|
特許
|
意匠
|
商標
特許ウォッチ
Twitter
他の特許を見る
10個以上の画像は省略されています。
公開番号
2025152256
公報種別
公開特許公報(A)
公開日
2025-10-09
出願番号
2024054073
出願日
2024-03-28
発明の名称
濾過装置および濾過方法
出願人
株式会社村田製作所
代理人
個人
,
個人
主分類
C12M
1/12 20060101AFI20251002BHJP(生化学;ビール;酒精;ぶどう酒;酢;微生物学;酵素学;突然変異または遺伝子工学)
要約
【課題】フィルタに捕捉した細胞を容易に保持することができる濾過装置および濾過方法を提供する。
【解決手段】
本開示の濾過装置1は、細胞を含む液体を濾過する濾過装置であって、第1主面10aと、第1主面10aと反対側の第2主面10bと、第1主面10aから第2主面10bに向かって貫通する複数の貫通孔12を画定するフィルタ基体部13を有する膜部11と、少なくとも第1主面10aのフィルタ基体部13に設けられた複数の突起14と、を有するフィルタ10と、フィルタ10を保持する保持部20と、フィルタ10を加熱する加熱部30と、を備え、第1主面10aは、第2主面10bよりも上流に位置し、複数の突起14は、加熱部30によりフィルタ10を加熱することにより膨張する。
【選択図】図1
特許請求の範囲
【請求項1】
細胞を含む液体を濾過する濾過装置であって、
第1主面と、前記第1主面と反対側の第2主面と、前記第1主面から前記第2主面に向かって貫通する複数の貫通孔を画定するフィルタ基体部を有する膜部と、少なくとも前記第1主面の前記フィルタ基体部に設けられた複数の突起と、を有するフィルタと、
前記フィルタを保持する保持部と、
前記フィルタを加熱する加熱部と、
を備え、
前記第1主面は、前記第2主面よりも上流に位置し、
前記複数の突起は、前記加熱部により前記フィルタを加熱することにより膨張する、
濾過装置。
続きを表示(約 1,000 文字)
【請求項2】
前記フィルタは、熱膨張可能な樹脂により形成される、
請求項1に記載の濾過装置。
【請求項3】
前記複数の突起は、前記フィルタ基体部の前記第1主面に設けられている、
請求項1に記載の濾過装置。
【請求項4】
前記第1主面に垂直な方向から見たときに、
前記複数の貫通孔は、斜方格子、六角格子、三角格子、正方格子、矩形格子、または平行体格子を含む格子状に配列され、
前記複数の突起は、配列を構成するための最小単位である単位格子を構成する前記フィルタ基体部に設けられた少なくとも1つの突起を含む、
請求項1に記載の濾過装置。
【請求項5】
前記突起の高さは、前記フィルタの前記膜部の厚さよりも小さく、
前記突起の高さは、前記フィルタ基体部の表面から前記突起の頂部までの距離である、
請求項1に記載の濾過装置。
【請求項6】
前記突起の高さは、0.1μm以上2μm以下であり、
前記突起の高さは、前記フィルタ基体部の表面から前記突起の頂部までの距離である、
請求項1に記載の濾過装置。
【請求項7】
前記複数の突起は、前記フィルタ基体部の第1主面に設けられ、
前記フィルタ基体部の前記第1主面において、前記複数の突起の間に凹部が設けられている、
請求項1に記載の濾過装置。
【請求項8】
前記複数の突起は、前記フィルタ基体部の第1主面に設けられ、
前記フィルタ基体部の前記第1主面において、前記複数の突起の間に平坦部が設けられている、
請求項1に記載の濾過装置。
【請求項9】
前記フィルタ基体部は、前記複数の貫通孔のうち第1貫通孔側の第1端部と前記第1貫通孔に隣り合う第2貫通孔側の第2端部とを有し、
前記複数の突起は、前記第1端部と前記第2端部との間に設けられる、
請求項1に記載の濾過装置。
【請求項10】
前記複数の突起は、前記第1端部から第1距離だけ離れた位置かつ前記第2端部から第2距離だけ離れた位置に配置され、
前記第1距離および前記第2距離は、前記第1端部から前記第2端部までの距離の1/5以上である、
請求項9に記載の濾過装置。
(【請求項11】以降は省略されています)
発明の詳細な説明
【技術分野】
【0001】
本開示は、濾過装置および濾過方法に関する。
続きを表示(約 1,700 文字)
【背景技術】
【0002】
細胞等の濾過対象物を含む液体から濾過対象物を分離するための濾過装置が知られている。例えば、特許文献1には、形状記憶機能を有する多孔質膜を含む膜モジュールを用いた懸濁質分離装置が開示されている。
【先行技術文献】
【特許文献】
【0003】
特開2000-189759号公報
【発明の概要】
【発明が解決しようとする課題】
【0004】
特許文献1に記載の懸濁質分離装置には、多孔質膜に捕捉した濾過対象物を保持することが難しく濾過対象物が脱落しやすいという課題がある。
【0005】
そこで、本開示は、フィルタに捕捉した細胞を容易に保持することができる濾過装置および濾過方法を提供する。
【課題を解決するための手段】
【0006】
本開示の一形態にかかる濾過装置は、
細胞を含む液体を濾過する濾過装置であって、
第1主面と、前記第1主面と反対側の第2主面と、前記第1主面から前記第2主面に向かって貫通する複数の貫通孔を画定するフィルタ基体部を有する膜部と、少なくとも前記第1主面の前記フィルタ基体部に設けられた複数の突起と、を有するフィルタと、
前記フィルタを保持する保持部と、
前記フィルタを加熱する加熱部と、
を備え、
前記第1主面は、前記第2主面よりも上流に位置し、
前記複数の突起は、前記加熱部により前記フィルタを加熱することにより膨張する。
【0007】
本開示の一形態にかかる濾過方法は、
上述した濾過装置を用いて細胞を含む液体を濾過する方法であって、
前記濾過装置の前記加熱部により前記フィルタを加熱するステップと、
前記細胞を含む液体を前記フィルタに供給するステップと、
前記フィルタで前記細胞を捕捉して前記複数の突起に前記細胞を保持するステップと、
を含む。
【発明の効果】
【0008】
本開示によると、フィルタに捕捉した細胞の脱落を容易に保持することができる濾過装置および濾過方法を提供することができる。
【図面の簡単な説明】
【0009】
本開示の実施の形態1にかかる濾過装置を示す概略図
図1の濾過装置のフィルタを示す概略平面図
図2のフィルタの膜部の一部を示す概略平面図
図3のA-A断面図
図3のB-B断面図
図3の領域R1を拡大した図
図4Aの領域R3を拡大した図
フィルタ10を加熱したときの領域R3を示す図
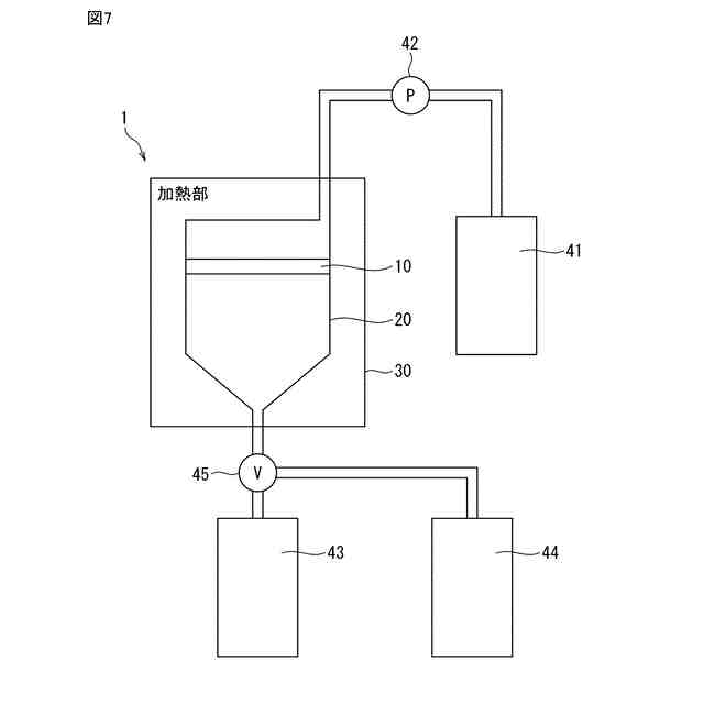
実施の形態1にかかる濾過装置を用いて濾過対象物を含む液体を濾過するためのシステムの一例を示す図
実施の形態1にかかる濾過装置を用いた濾過方法について説明するためのフローチャート
実施の形態1の変形例1にかかるフィルタの一部を示す部分断面図
図9の領域R4の拡大図
実施の形態2にかかる濾過装置を示す概略図
実施の形態2にかかる濾過装置を用いて濾過対象物を含む液体を濾過するためのシステムの一例を示す図
実施の形態2にかかる濾過装置を用いた濾過方法を説明するためのフローチャート
実施例1の濾過装置を用いて濾過対象物を含む液体を濾過したときの細胞数を示す表
比較例1の濾過装置を用いて濾過対象物を含む液体を濾過したときの細胞数を示す表
実施例1の濾過装置を用いて濾過対象物を含む液体を濾過したときの細胞数を示す表
比較例2の濾過装置を用いて濾過対象物を含む液体を濾過したときの細胞数を示す表
【発明を実施するための形態】
【0010】
(本開示に至った経緯)
濾過フィルタを用いて濾過対象物を含む液体を濾過する濾過装置が知られている。例えば、特許文献1には、形状記憶機能を有する多孔質膜を含む膜モジュールを用いた濾過分離装置が開示されている。
(【0011】以降は省略されています)
この特許をJ-PlatPat(特許庁公式サイト)で参照する
関連特許
株式会社村田製作所
測定装置
24日前
株式会社村田製作所
移相回路
22日前
株式会社村田製作所
二次電池
16日前
株式会社村田製作所
電子聴診器
22日前
株式会社村田製作所
コイル部品
10日前
株式会社村田製作所
コイル部品
22日前
株式会社村田製作所
電池パック
24日前
株式会社村田製作所
ネブライザ
22日前
株式会社村田製作所
コイル部品
22日前
株式会社村田製作所
高周波回路
23日前
株式会社村田製作所
フィルタ装置
23日前
株式会社村田製作所
電力増幅回路
2日前
株式会社村田製作所
外観検査装置
2日前
株式会社村田製作所
電力システム
11日前
株式会社村田製作所
圧力センサ装置
24日前
株式会社村田製作所
インダクタ部品
4日前
株式会社村田製作所
電池モジュール
22日前
株式会社村田製作所
伸縮性コイル部品
9日前
株式会社村田製作所
電子部品包装装置
24日前
株式会社村田製作所
高周波モジュール
2日前
株式会社村田製作所
ファブリペロー干渉計
23日前
株式会社村田製作所
造粒粉及びインダクタ
23日前
株式会社村田製作所
コンデンサモジュール
22日前
株式会社村田製作所
積層セラミック電子部品
23日前
株式会社村田製作所
積層セラミック電子部品
23日前
株式会社村田製作所
濾過装置および濾過方法
23日前
株式会社村田製作所
積層セラミック電子部品
23日前
株式会社村田製作所
積層セラミック電子部品
8日前
株式会社村田製作所
二次電池および電池パック
23日前
株式会社村田製作所
積層セラミックコンデンサ
23日前
株式会社村田製作所
高周波回路および通信装置
24日前
株式会社村田製作所
積層セラミックコンデンサ
23日前
株式会社村田製作所
積層セラミックコンデンサ
25日前
株式会社村田製作所
二次電池および電池パック
23日前
株式会社村田製作所
二次電池および電池パック
25日前
株式会社村田製作所
二次電池および電池パック
25日前
続きを見る
他の特許を見る