TOP
|
特許
|
意匠
|
商標
特許ウォッチ
Twitter
他の特許を見る
公開番号
2025140485
公報種別
公開特許公報(A)
公開日
2025-09-29
出願番号
2024039916
出願日
2024-03-14
発明の名称
細胞配置の制御方法
出願人
NTN株式会社
代理人
弁理士法人深見特許事務所
主分類
C12N
1/00 20060101AFI20250919BHJP(生化学;ビール;酒精;ぶどう酒;酢;微生物学;酵素学;突然変異または遺伝子工学)
要約
【課題】3個以上の液滴の連結されたスフェロイドの形成時に、液滴の位置精度を高め、細胞同士の自己凝集性が高められる細胞配置の制御方法を提供する。
【解決手段】培養すべき細胞を供給するための基板が準備される。第1溶媒を含む第1塗布液Aを少なくとも1回基板上に塗布する第1塗布液塗布工程がなされる。第1塗布液Aを覆うように、第2塗布液Bが滴下される。第1塗布液塗布工程における第1塗布液Aの塗布のうち、少なくとも1回の塗布に細胞が含まれる。基板は細胞低接着基板である。
【選択図】図16
特許請求の範囲
【請求項1】
培養すべき細胞を供給するための基板を準備する工程と、
第1溶媒を含む第1塗布液を少なくとも1回前記基板上に塗布する、第1塗布液塗布工程と、
前記第1塗布液を覆うように、増粘剤および第2溶媒を含む第2塗布液を滴下する第2塗布液滴下工程とを備え、
前記第1塗布液塗布工程における前記第1塗布液の塗布のうち、少なくとも1回の塗布に前記細胞が含まれ、
前記基板は細胞低接着基板である、細胞配置の制御方法。
続きを表示(約 1,200 文字)
【請求項2】
前記基板の表面にMPCポリマーおよびP-HEMAのいずれかがコーティングされることにより、前記細胞低接着基板が形成される、請求項1に記載の細胞配置の制御方法。
【請求項3】
前記基板の表面に放射線を照射することにより、前記表面の水に対する接触角を制御する工程をさらに備える、請求項1に記載の細胞配置の制御方法。
【請求項4】
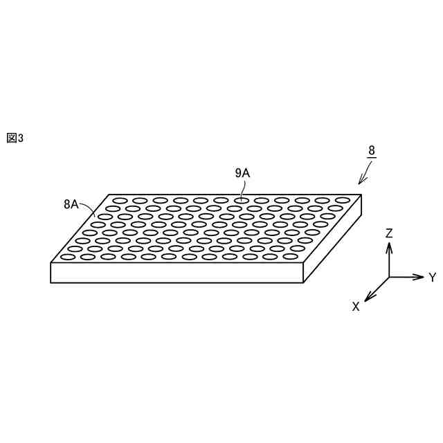
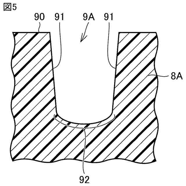
前記細胞低接着基板の表面には凹部が複数形成されており、
前記複数の凹部の、前記表面からもっとも離れた底面は前記表面に沿うように拡がる平面である、請求項1または2に記載の細胞配置の制御方法。
【請求項5】
前記細胞低接着基板の表面には凹部が複数形成されており、
前記複数の凹部の、前記表面からもっとも離れた底面は曲面状である、請求項1または2に記載の細胞配置の制御方法。
【請求項6】
前記細胞低接着基板の表面には凹部が複数形成されており、
前記複数の凹部の、前記表面からもっとも離れた底面は前記表面に垂直な方向に対して傾斜する壁面であり、前記壁面のうち前記表面からもっとも離れた部分は尖った形状を有する、請求項1または2に記載の細胞配置の制御方法。
【請求項7】
前記細胞低接着基板の表面には凹部が複数形成されており、
前記凹部の平面視における最大寸法は1mm未満である、請求項1または2に記載の細胞配置の制御方法。
【請求項8】
前記基板上に塗布する工程においては、前記第1塗布液が3回以上前記基板上に塗布され前記基板上に並べられる、請求項1または2に記載の細胞配置の制御方法。
【請求項9】
前記基板上に塗布する工程において、前記第1塗布液はN個(Nは2以上の自然数)塗布され、
前記基板上に塗布する工程では、前記N個の前記第1塗布液のうち任意に選択された2個の前記第1塗布液のそれぞれの寸法をr
1n
、r
1(n+1)
(nは1≦n≦N-1の自然数)とし、前記2個の前記第1塗布液のそれぞれの図心間の距離をd
n,n+1
とすれば、
(数1)d
n,n+1
≦r
1(n+1)
-r
1n
・・・(1)
および
(数2)r
1(n+1)
-r
1n
<d
n,n+1
<r
1n
+r
1(n+1)
・・・(2)
のいずれかが成立する位置に前記第1塗布液が塗布される、請求項1または2に記載の細胞配置の制御方法。
【請求項10】
前記第1塗布液がN個塗布される場合において、N個のそれぞれの前記第1塗布液の構成成分が互いに同一である、請求項9に記載の細胞配置の制御方法。
(【請求項11】以降は省略されています)
発明の詳細な説明
【技術分野】
【0001】
本発明は、細胞配置の制御方法に関する。
続きを表示(約 1,500 文字)
【背景技術】
【0002】
近年、オルガノイドの研究において、細胞組織内の細胞・タンパク・添加因子の配置を制御することが重要であると報告されている。この方法としては、第1に、2種類の細胞組織を近接させ1つの細胞組織にする方法がある。またこの方法としては、第2に、1つの細胞組織の一方向から化学的刺激、物理的刺激および電気的刺激を与え、細胞組織内で分化させる方法がある。
【0003】
以下の非特許文献1では、前腸と後腸とのオルガノイドが作製され、その後、前腸と中腸とのオルガノイドが近接されることで、1つの細胞組織とされた。さらに培養することで、前腸および中腸の境界から肝臓域、胆のう域および膵臓域が発生することが、非特許文献1に併せて報告されている。
【0004】
特許第7142840号公報(特許文献1)では、気相中、撥水処理された基板が準備される。基板上には、第一のハイドロゲル液滴と第二のハイドロゲル液滴とが連結された状態でゲル化される。これにより細胞含有ハイドロゲル体が形成される。
【先行技術文献】
【特許文献】
【0005】
特許第7142840号公報
【非特許文献】
【0006】
Hiroyuki Koike et al., "Modelling human hepato-biliary-pancreatic organogenesis from the foregut-midgut boundary", Nature 574, p.112-116 (2019)
【発明の概要】
【発明が解決しようとする課題】
【0007】
非特許文献1においては、細胞組織を含む2個のハイドロゲルを近接させる技術が開示される。しかし非特許文献1では、3個以上のハイドロゲルを近接させることは困難と推察される。
【0008】
一方、特許文献1によれば3個以上のハイドロゲル液滴を連結させ3個以上のハイドロゲルが連結した細胞組織(スフェロイド)を構築可能と考えられる。しかし特許文献1では液滴の位置、および液滴の供給される順番などの配置制御について考慮されていない。特許文献1では液滴が供給される基板についての考慮がない。このため特許文献1では3個以上の液滴の連結された細胞組織(スフェロイド)を形成する際に、各液滴の位置精度を向上させ、細胞同士の凝集性を高めることが難しい可能性がある。したがって特許文献1では各液滴の位置精度および細胞同士の凝集性の観点から改善の余地がある。
【0009】
本発明は以上の課題に鑑みなされたものである。本発明の目的は、3個以上の液滴の連結されたスフェロイドの形成時に、液滴の位置精度を高め、細胞同士の自己凝集性が高められる細胞配置の制御方法を提供することである。
【課題を解決するための手段】
【0010】
本開示に従った細胞配置の制御方法は、培養すべき細胞を供給するための基板が準備される。第1溶媒を含む第1塗布液を少なくとも1回基板上に塗布する、第1塗布液塗布工程がなされる。第1塗布液を覆うように、増粘剤および第2溶媒を含む第2塗布液を滴下する第2塗布液滴下工程がなされる。第1塗布液塗布工程における第1塗布液の塗布のうち、少なくとも1回の塗布に上記細胞が含まれる。基板は細胞低接着基板である。
【発明の効果】
(【0011】以降は省略されています)
この特許をJ-PlatPat(特許庁公式サイト)で参照する
関連特許
NTN株式会社
玉軸受
26日前
NTN株式会社
焼成軸受
12日前
NTN株式会社
軸受装置
26日前
NTN株式会社
軸受装置
26日前
NTN株式会社
焼結軸受
26日前
NTN株式会社
軸受装置
26日前
NTN株式会社
軸受装置
26日前
NTN株式会社
焼成軸受
12日前
NTN株式会社
転がり軸受
26日前
NTN株式会社
ボールねじ
今日
NTN株式会社
円すいころ軸受
今日
NTN株式会社
車輪用軸受装置
27日前
NTN株式会社
ボールねじ装置
今日
NTN株式会社
ボールねじ装置
今日
NTN株式会社
転がり軸受の設計方法
5日前
NTN株式会社
等速自在継手用ブーツ
25日前
NTN株式会社
ブーツ付等速自在継手
25日前
NTN株式会社
軸受装置および機械装置
25日前
NTN株式会社
環状部品の抜け止め構造
今日
NTN株式会社
等速自在継手の外側継手部材
25日前
NTN株式会社
転がり軸受の耐電食性能評価方法
5日前
NTN株式会社
転がり軸受の耐電食性能評価方法
5日前
NTN株式会社
軸受装置および異常検知システム
26日前
NTN株式会社
損傷状態診断システムおよび損傷状態診断方法
7日前
NTN株式会社
車輪用軸受装置
5日前
NTN株式会社
等速自在継手用外側継手部材及びこれを備える固定式等速自在継手
26日前
個人
抗遺伝子劣化装置
2か月前
個人
細胞内探査とその利用
2か月前
雪国アグリ株式会社
単糖類の製造方法
27日前
日本バイリーン株式会社
細胞用支持基材
4か月前
個人
細胞培養容器
3か月前
サッポロビール株式会社
飲料
4か月前
株式会社タクマ
バイオマス処理装置
2か月前
東洋紡株式会社
改変型RNAポリメラーゼ
3か月前
日油株式会社
蛋白質安定化剤
3か月前
株式会社東洋新薬
経口組成物
2か月前
続きを見る
他の特許を見る