TOP
|
特許
|
意匠
|
商標
特許ウォッチ
Twitter
他の特許を見る
10個以上の画像は省略されています。
公開番号
2025153932
公報種別
公開特許公報(A)
公開日
2025-10-10
出願番号
2024056654
出願日
2024-03-29
発明の名称
ブーツ付等速自在継手
出願人
NTN株式会社
代理人
個人
,
個人
,
個人
主分類
F16D
3/84 20060101AFI20251002BHJP(機械要素または単位;機械または装置の効果的機能を生じ維持するための一般的手段)
要約
【課題】軸部材の自重等による大きな折れ曲がりを防止可能な等速自在継手を提供する。
【解決手段】外側継手部材21及び内側継手部材23と、内側継手部材23とトルク伝達可能に連結された軸部材2と、継手内部空間を密封する筒状のブーツ30とを備え、
ブーツ30が、大径筒部31及び小径筒部32と、小径筒部32から大径筒部31に向けて延在し、両継手部材の相対的な角度変位に追従して弾性変形する弾性部33と、大径筒部31と弾性部33を接続する接続部34とを一体に有する可撓性材料の型成形品とされる。ブーツ30の接続部34は、弾性部33よりも厚肉に形成されている。
【選択図】図2
特許請求の範囲
【請求項1】
トルク伝達部材を介して相対的に角度変位する外側継手部材及び内側継手部材と、該内側継手部材とトルク伝達可能に連結された軸部材と、前記外側継手部材及び前記軸部材と共に画成する継手内部空間を密封する筒状のブーツとを備え、
前記ブーツが、前記外側継手部材に取り付けられた大径筒部と、前記軸部材に取り付けられた小径筒部と、前記小径筒部から前記大径筒部に向けて延在し、前記外側継手部材と前記軸部材の相対的な角度変位に追従して弾性変形する弾性部と、前記大径筒部と前記弾性部を接続する接続部とを一体に有する可撓性材料の型成形品とされ、
前記接続部は、前記弾性部よりも厚肉に形成されているブーツ付等速自在継手であって、
前記接続部は、2mm以上4mm以下の肉厚を有し、前記弾性部の大径筒部側の端部から径方向外向きに延びる環状部と、該環状部と前記大径筒部を接続し、環状部側から大径筒部側に向けて徐々に拡径したテーパ部とを備え、
前記環状部の肉厚xが2mm以上3mm未満の場合、前記環状部の肉厚xに対する前記テーパ部の肉厚yの比δ1(=y/x)が、下記の関係式(1)を満たし、前記環状部の肉厚xが3mm以上4mm以下の場合、前記比δ1が、下記の関係式(2)を満たすことを特徴とするブーツ付等速自在継手。
-0.21x+1.24≦ δ1 ≦-0.67x+3.31・・・(1)
-0.04x+0.71≦ δ1 ≦-0.33x+2.33・・・(2)
続きを表示(約 2,200 文字)
【請求項2】
前記環状部の肉厚xが2mm以上3mm未満の場合、前記比δ1が、前記関係式(1)の一部を変更した下記の関係式(3)を満たし、前記環状部の肉厚xが3mm以上4mm以下の場合、前記比δ1が、前記関係式(2)の一部を変更した下記の関係式(4)を満たす請求項2に記載のブーツ付等速自在継手。
-0.21x+1.24≦δ1 ≦(-0.21x+1.24)×1.2・・・(3)
-0.04x+0.71≦δ1 ≦(-0.04x+0.71)×1.2・・・(4)
【請求項3】
前記環状部の肉厚xが2mm以上3mm未満の場合、前記比δ1が、前記関係式(1)の一部を変更した下記の関係式(5)を満たし、前記環状部の肉厚xが3mm以上4mm以下の場合、前記比δ1が、前記関係式(2)の一部を変更した下記の関係式(6)を満たす請求項2に記載のブーツ付等速自在継手。
-0.21x+1.24≦ δ1 ≦(-0.21x+1.24)×1.1・・・(5)
-0.04x+0.71≦ δ1 ≦(-0.04x+0.71)×1.1・・・(6)
【請求項4】
前記テーパ部が軸方向に対してなす角度を20°以上30°以下とした請求項1~3の何れか一項に記載のブーツ付等速自在継手。
【請求項5】
トルク伝達部材を介して相対的に角度変位する外側継手部材及び内側継手部材と、該内側継手部材とトルク伝達可能に連結された軸部材と、前記外側継手部材及び前記軸部材と共に画成する継手内部空間を密封する筒状のブーツとを備え、
前記ブーツが、前記外側継手部材に取り付けられた大径筒部と、前記軸部材に取り付けられた小径筒部と、前記小径筒部から前記大径筒部に向けて延在し、前記外側継手部材と前記軸部材の相対的な角度変位に追従して弾性変形する弾性部と、前記大径筒部と前記弾性部を接続する接続部とを一体に有する可撓性材料の型成形品とされ、
前記接続部は、前記弾性部よりも厚肉に形成されているブーツ付等速自在継手であって、
前記接続部は、2mm以上4mm以下の肉厚を有し、前記弾性部の大径筒部側の端部から径方向外向きに延びる環状部と、該環状部と前記大径筒部を接続する円筒部とを備え、
前記環状部の肉厚xが2mm以上3mm未満の場合、前記環状部の肉厚xに対する前記円筒部の肉厚zの比δ2(=z/x)が、下記の関係式(7)を満たし、前記環状部の肉厚xが3mm以上4mm以下の場合、前記比δ2が、下記の関係式(8)を満たす請求項1に記載のブーツ付等速自在継手。
0.6 ≦ δ2 ≦ -0.67x+3.31・・・(7)
0.6 ≦ δ2 ≦ -0.33x+2.33・・・(8)
【請求項6】
トルク伝達部材を介して相対的に角度変位する外側継手部材及び内側継手部材と、該内側継手部材とトルク伝達可能に連結された軸部材と、前記外側継手部材及び前記軸部材と共に画成する継手内部空間を密封する筒状のブーツとを備え、
前記ブーツが、前記外側継手部材に取り付けられた大径筒部と、前記軸部材に取り付けられた小径筒部と、前記小径筒部から前記大径筒部に向けて延在し、前記外側継手部材と前記軸部材の相対的な角度変位に追従して弾性変形する弾性部と、前記大径筒部と前記弾性部を接続する接続部とを一体に有する可撓性材料の型成形品とされ、
前記接続部は、前記弾性部よりも厚肉に形成されているブーツ付等速自在継手であって、
前記接続部は、2mm以上4mm以下の肉厚を有し、前記弾性部の大径筒部側の端部から径方向外向きに延びる環状部と、該環状部と前記大径筒部を接続する円筒部とを備え、
前記環状部の肉厚xに対する前記円筒部の肉厚zの比δ2(=z/x)が、下記の関係式(9)を満たす請求項1に記載のブーツ付等速自在継手。
0.6 ≦ δ2 ≦ 0.6×1.2・・・(9)
【請求項7】
トルク伝達部材を介して相対的に角度変位する外側継手部材及び内側継手部材と、該内側継手部材とトルク伝達可能に連結された軸部材と、前記外側継手部材及び前記軸部材と共に画成する継手内部空間を密封する筒状のブーツとを備え、
前記ブーツが、前記外側継手部材に取り付けられた大径筒部と、前記軸部材に取り付けられた小径筒部と、前記小径筒部から前記大径筒部に向けて延在し、前記外側継手部材と前記軸部材の相対的な角度変位に追従して弾性変形する弾性部と、前記大径筒部と前記弾性部を接続する接続部とを一体に有する可撓性材料の型成形品とされ、
前記接続部は、前記弾性部よりも厚肉に形成されているブーツ付等速自在継手であって、
前記接続部は、2mm以上4mm以下の肉厚を有し、前記弾性部の大径筒部側の端部から径方向外向きに延びる環状部と、該環状部と前記大径筒部を接続する円筒部とを備え、
前記環状部の肉厚xに対する前記円筒部の肉厚zの比δ2(=z/x)が、下記の関係式(10)を満たすことを特徴とするブーツ付等速自在継手。
0.6 ≦ δ2 ≦ 0.6×1.1・・・(10)
【請求項8】
前記継手内部空間に潤滑剤としてのグリースが充填されており、
前記継手内部空間の容積に占める前記グリースの割合を35%以上とした請求項1に記載のブーツ付等速自在継手。
発明の詳細な説明
【技術分野】
【0001】
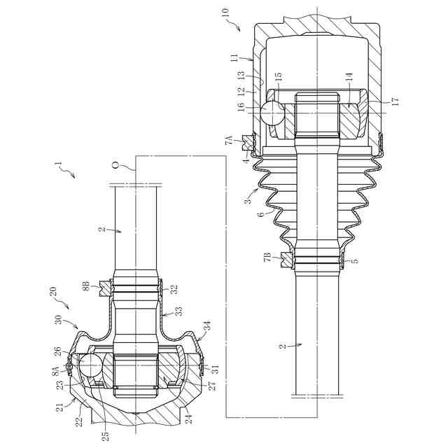
本発明は、自動車や各種産業機械の動力伝達機構に組み込まれる等速自在継手であって、シール部材として機能する筒状のブーツが装着されたブーツ付等速自在継手に関する。
続きを表示(約 2,400 文字)
【背景技術】
【0002】
例えば、車台上にエンジンや電動モータなどの駆動源を搭載した自動車は、駆動源の出力を駆動車輪に伝達するための動力伝達装置を備える。この種の動力伝達装置としては、例えば、連結した二軸の角度変位のみを許容する固定式等速自在継手と、連結した二軸の角度変位及び軸方向変位を許容する摺動式等速自在継手と、自動車の車幅方向に間隔を空けて配置された上記2つの等速自在継手の内側継手部材同士をトルク伝達可能に連結する軸部材とを備えたドライブシャフトがある。上記軸部材は「中間シャフト」や「動力伝達シャフト」などとも称される。
【0003】
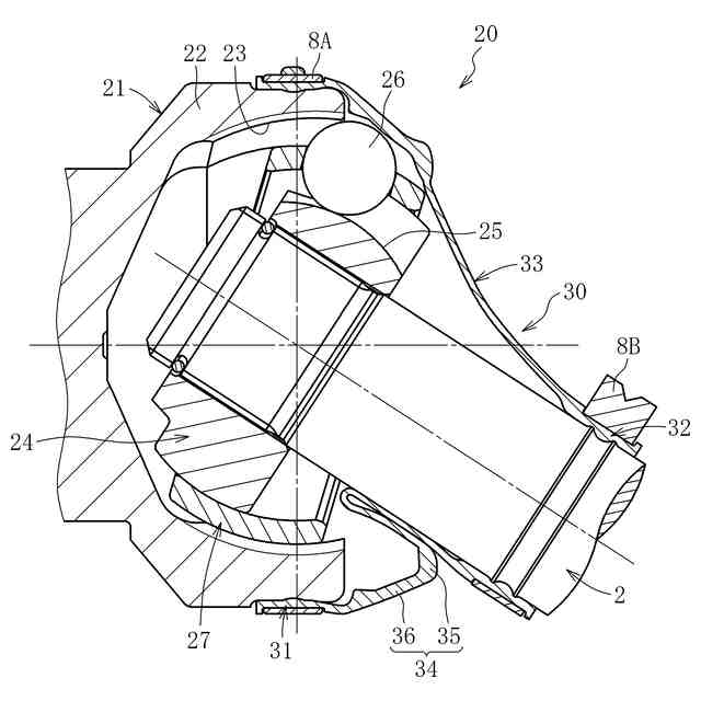
上記のドライブシャフトにおいて、軸部材と各等速自在継手の外側継手部材との間には、シール部材として機能する筒状のブーツ(等速自在継手用ブーツ)がそれぞれ設けられる。ブーツの軸方向一方側及び他方側の端部には大径筒部及び小径筒部がそれぞれ設けられており、大径筒部は外側継手部材に取り付けられ、小径筒部は軸部材に取り付けられる。これにより、外側継手部材、軸部材及びブーツの間に画成される継手内部空間が密封され、当該空間に充填された潤滑剤の外部漏洩や上記空間への異物侵入が防止される。
【0004】
ブーツの大径筒部と小径筒部の間には、外側継手部材と内側継手部材(に連結された軸部材)の相対変位に追従して弾性変形する部位(弾性部)が設けられている。この弾性部としては、蛇腹形状をなすものと、非蛇腹形状をなすものとがあり、後者の一例として下記の特許文献1に記載されたものが公知である。
【0005】
特許文献1のブーツは、その全体を樹脂又はゴム等の可撓性材料(弾性材料)で形成したものであり、弾性部は、自由状態では円弧状に湾曲した1つの谷部(折り返し部)を有する断面略J字状に形成されている。この弾性部は、接続部(特許文献1では「ブーツ肩部」)を介して大径筒部と接続されており、上記接続部には、軸方向に延びる複数の補強用リブが周方向に間隔を空けて設けられている。これにより、接続部の剛性(強度)を高め、弾性部が等速自在継手の回転時の遠心力の影響を受けて膨張変形するのを抑制することができるので、ブーツに求められるシール機能を安定して発揮できる、としている。また、全体を可撓性材料で形成した特許文献1のブーツは、上記接続部及び大径筒部に相当する部分が金属製の筒状(環状)部材で構成されたタイプのブーツよりも安価であるという利点がある。
【先行技術文献】
【特許文献】
【0006】
特開平11-190358号公報
【発明の概要】
【発明が解決しようとする課題】
【0007】
ところで、等速自在継手にブーツを装着してなるブーツ付等速自在継手は、ブーツの弾性部を膨張変形させるほどの大きな遠心力が生じる高速の回転伝達用途で使用される場合と、ブーツの弾性部を膨張変形させることがない小さな遠心力しか生じない比較的低速の回転伝達用途で使用される場合とがあり、特に後者の場合、特許文献1で採用されているブーツ形状の複雑化や高コスト化を招来する剛性(強度)向上対策を採る必要性は小さいと考えられる。但し、等速自在継手(を含むドライブシャフト)の輸送・運搬時や取付対象への取付時には、軸部材の自重等による等速自在継手の折れ曲がり(両継手部材の相対的な角度変位)が偶発的に生じる場合がある。このとき、ブーツの剛性が不十分であると、ブーツの弾性部が外側継手部材と軸部材の間に挟まれて(噛み込まれて)損傷するおそれがある。
【0008】
係る実情に鑑み、本発明の主な目的は、内側継手部材に連結された軸部材の自重等による両継手部材の大きな角度変位、さらにはこれに起因したブーツの弾性部の噛み込み(損傷)を効果的に防止することができるブーツ付等速自在継手を実現し、もってこのブーツ付等速自在継手(を含む動力伝達装置)の輸送・運搬作業や車両等の組付対象に対する組付作業の簡便化・効率化や耐久性向上に寄与することにある。
【課題を解決するための手段】
【0009】
上記の目的を達成するために創案された本発明に係るブーツ付等速自在継手は、
トルク伝達部材を介して相対的に角度変位する外側継手部材及び内側継手部材と、内側継手部材とトルク伝達可能に連結された軸部材と、外側継手部材及び軸部材と共に画成する継手内部空間を密封する筒状のブーツとを備え、
ブーツが、外側継手部材に取り付けられた大径筒部と、軸部材に取り付けられた小径筒部と、小径筒部から大径筒部に向けて延在し、両継手部材の相対的な角度変位に追従して弾性変形する弾性部と、大径筒部と弾性部を接続する接続部とを一体に有する可撓性材料の型成形品とされ、
接続部は、弾性部よりも厚肉に形成されているものである。
【0010】
上記の構成を有する本発明に係るブーツ付等速自在継手(以下、単に「等速自在継手」とも言う)に装着されるブーツでは、主に、接続部を弾性部よりも厚肉に形成するという接続部の肉厚制御により、軸部材の自重によるモーメント荷重に抗して弾性部が外側継手部材に対して非接触状態に維持される。そのため、ブーツは、形状の複雑化を招来するような対策を講じない簡素な構成でありながら、軸部材の自重による等速自在継手の偶発的な折れ曲がり(両継手部材の相対的な角度変位)を規制することができる。従って、このブーツを含む等速自在継手の輸送・運搬作業や車体に対する取付作業の簡便化・効率化に寄与することができる。
(【0011】以降は省略されています)
この特許をJ-PlatPat(特許庁公式サイト)で参照する
関連特許
NTN株式会社
ハンド
2か月前
NTN株式会社
玉軸受
1か月前
NTN株式会社
作業装置
1か月前
NTN株式会社
焼成軸受
1か月前
NTN株式会社
密封装置
1か月前
NTN株式会社
把持装置
2か月前
NTN株式会社
軸受装置
1か月前
NTN株式会社
軸受装置
1か月前
NTN株式会社
軸受装置
1か月前
NTN株式会社
軸受装置
1か月前
NTN株式会社
把持装置
2か月前
NTN株式会社
焼成軸受
1か月前
NTN株式会社
焼結軸受
1か月前
NTN株式会社
ボールねじ
27日前
NTN株式会社
転がり軸受
1か月前
NTN株式会社
荷積込装置
1か月前
NTN株式会社
焼入れ方法
26日前
NTN株式会社
転がり軸受
2か月前
NTN株式会社
転がり軸受
1か月前
NTN株式会社
回転伝達装置
1か月前
NTN株式会社
シール付軸受
1か月前
NTN株式会社
状態監視装置
2か月前
NTN株式会社
回転伝達装置
1か月前
NTN株式会社
回転伝達装置
1か月前
NTN株式会社
保持器付きころ
2か月前
NTN株式会社
車輪用軸受装置
1か月前
NTN株式会社
ボールねじ装置
27日前
NTN株式会社
円すいころ軸受
27日前
NTN株式会社
ボールねじ装置
27日前
NTN株式会社
モータユニット
2か月前
NTN株式会社
リンク作動装置
1か月前
NTN株式会社
車輪用軸受装置
1か月前
NTN株式会社
状態監視システム
2か月前
NTN株式会社
電動オイルポンプ
2か月前
NTN株式会社
軸受装置及び間座
1か月前
NTN株式会社
密封装置付き軸受
24日前
続きを見る
他の特許を見る