TOP
|
特許
|
意匠
|
商標
特許ウォッチ
Twitter
他の特許を見る
10個以上の画像は省略されています。
公開番号
2025149093
公報種別
公開特許公報(A)
公開日
2025-10-08
出願番号
2024049536
出願日
2024-03-26
発明の名称
転がり軸受
出願人
NTN株式会社
代理人
個人
,
個人
,
個人
主分類
F16C
33/41 20060101AFI20251001BHJP(機械要素または単位;機械または装置の効果的機能を生じ維持するための一般的手段)
要約
【課題】高速回転時の軸受内部の通油性を確保することができる低コストの転がり軸受を提供する。
【解決手段】保持器環状部18の軸方向一方側の端面に、周方向に隣り合う凸部27の間に径方向に貫通する凸部間隙間28が形成されるように周方向に間隔をおいて複数の凸部27が形成され、軸受空間3の軸方向一方側の環状開口の径方向外端に環状の通油隙間34を残して軸方向一方側の環状開口を覆う環状の側板33が、凸部27の先端面29と軸方向に対向して配置されている。
【選択図】図1
特許請求の範囲
【請求項1】
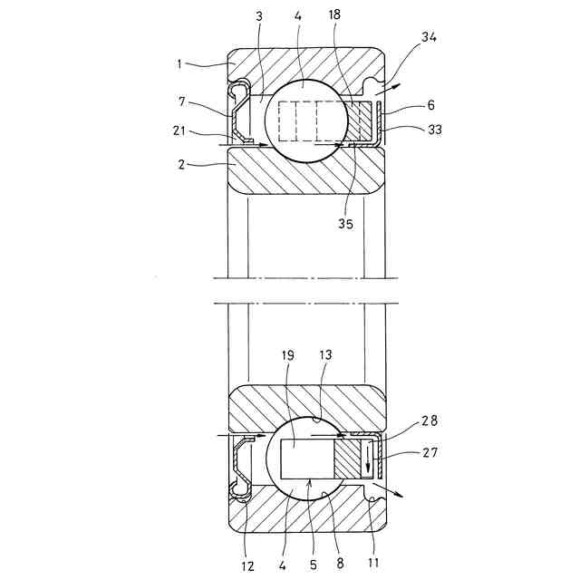
外輪(1)と、
前記外輪(1)の径方向内側に配置された内輪(2)と、
前記外輪(1)と前記内輪(2)の間に形成される環状の軸受空間(3)に組み込まれた複数の転動体(4)と、
前記複数の転動体(4)を保持する保持器(5)とを有し、
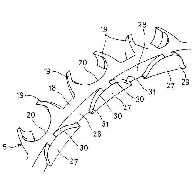
前記保持器(5)は、前記複数の転動体(4)の軸方向一方側を周方向に延びる保持器環状部(18)と、前記保持器環状部(18)から周方向に隣り合う前記転動体(4)の間を軸方向他方側に延びる保持器柱部(19)とを有し、前記転動体(4)を間に挟んで周方向に隣り合う前記保持器柱部(19)の間には、前記転動体(4)を収容するポケット(20)が形成されている転がり軸受において、
前記保持器環状部(18)の軸方向一方側の端面には、周方向に隣り合う凸部(27)の間に径方向に貫通する凸部間隙間(28)が形成され、
前記軸受空間(3)の軸方向一方側の環状開口の径方向外端に環状の通油隙間(34)を残して前記軸方向一方側の環状開口を覆う環状の側板(33)が、前記凸部(27)の先端面(29)と軸方向に対向して配置されていることを特徴とする転がり軸受。
続きを表示(約 1,300 文字)
【請求項2】
前記凸部(27)の保持器回転方向の前側の側面(30)が、径方向外側に向かって保持器回転方向の後方に傾斜している請求項1に記載の転がり軸受。
【請求項3】
前記凸部(27)の保持器回転方向の前側の側面(30)の径方向内側の端部に、軸方向から見て径方向内側に凸の曲線状のすくい面(31)が設けられている請求項1または2に記載の転がり軸受。
【請求項4】
前記保持器環状部(18)の内周に、前記凸部間隙間(28)の径方向内端の位置に対応する周方向位置を軸方向に延びる油案内溝(40)が形成されている請求項1または2に記載の転がり軸受。
【請求項5】
前記保持器環状部(18)の軸方向一方側の端面の周方向に隣り合う前記凸部(27)の間の部分には、径方向内側から径方向外側に向かって軸方向一方側に傾斜するように突出するかえし部(41)が設けられている請求項1または2に記載の転がり軸受。
【請求項6】
前記かえし部(41)は、前記保持器環状部(18)の軸方向一方側の端面の周方向に隣り合う前記凸部(27)の間の部分の径方向外側の端部に設けられ、前記保持器環状部(18)の軸方向一方側の端面の周方向に隣り合う前記凸部(27)の間の前記かえし部(41)よりも径方向内側の部分は、径方向に沿って軸方向位置が一定の非突出面(42)とされている請求項5に記載の転がり軸受。
【請求項7】
前記各凸部(27)が、前記各ポケット(20)の周方向中央に対応する位置に設けられている請求項1または2に記載の転がり軸受。
【請求項8】
前記軸受空間(3)の軸方向他方側の環状開口の径方向内端に第2通油隙間(21)を残して前記軸方向他方側の環状開口を覆う環状のシールド部材(7)が設けられている請求項1または2に記載の転がり軸受。
【請求項9】
前記シールド部材(7)は、前記第2通油隙間(21)を介して前記内輪(2)の外周と径方向に対向する隙間形成部(24)を有し、
前記隙間形成部(24)は、前記第2通油隙間(21)の径方向幅が軸方向一方側に向かって次第に狭くなるように、軸方向一方側に向かって次第に縮径する漏斗状に形成されている請求項8に記載の転がり軸受。
【請求項10】
前記外輪(1)の内周に、前記転動体(4)が転がり接触する外輪軌道溝(8)と、前記外輪軌道溝(8)の軸方向一方側に隣接する円筒状の外輪肩面(9)とが形成され、
前記内輪(2)の外周に、前記転動体(4)が転がり接触する内輪軌道溝(13)と、前記内輪軌道溝(13)の軸方向一方側に隣接する円筒状の内輪肩面(14)とが形成され、
前記保持器環状部(18)の内周と前記内輪肩面(14)との間の径方向距離(a)が、前記保持器環状部(18)の外周と前記外輪肩面(9)との間の径方向距離(b)よりも大きく設定されている請求項1または2に記載の転がり軸受。
(【請求項11】以降は省略されています)
発明の詳細な説明
【技術分野】
【0001】
この発明は、転がり軸受に関する。
続きを表示(約 1,600 文字)
【背景技術】
【0002】
自動車や産業機械などの回転軸を支持する軸受として、転がり軸受が多く用いられる(例えば、特許文献1,2)。
【0003】
特許文献1,2の転がり軸受は、外輪と、外輪の径方向内側に配置された内輪と、外輪と内輪の間に形成される環状の軸受空間に組み込まれた複数の玉と、その複数の玉を保持する保持器とを有する。保持器は、複数の玉の軸方向一方側を周方向に延びる保持器環状部と、保持器環状部から周方向に隣り合う玉の間を軸方向他方側に延びる保持器柱部とを有する。玉を間に挟んで周方向に隣り合う保持器柱部の間には、玉を収容するポケットが形成されている。
【0004】
この特許文献1,2の転がり軸受は、軸受外部から供給される潤滑油で軸受内部を潤滑しながら使用される。すなわち、特許文献1,2の転がり軸受は、軸方向の片側に給油ノズルを隣接して配置した状態で使用され、その給油ノズルから連続的に供給される潤滑油を軸受空間に導入し、その潤滑油で軸受内部を潤滑しながら回転する。
【0005】
ところで、上記のような転がり軸受を、例えば、dmn値(玉のピッチ円直径dm(mm)×回転数n(min
-1
))が65万以上となるような高速回転域で使用すると、玉と保持器が高速回転することから、外輪と内輪の間の軸受空間に存在する空気が周方向に高速移動し、エアカーテンが発生する。そして、このエアカーテンによって、軸受外部から軸受内部への潤滑油の流入が妨げられ、その結果、軸受内部を通過する潤滑油の油量が低下し、軸受内部の潤滑や冷却が不十分となる問題がある。
【0006】
特に近年、EV(バッテリー式電気自動車)やHEV(ハイブリッド電気自動車)等の電気自動車の分野では、電費向上や走行用の電動モータの出力密度向上を図るため、電気自動車のパワートレインを潤滑する潤滑油の低粘度化や少油量化が進んでおり、転がり軸受の潤滑条件が厳しくなってきている。そのため、走行用の電動モータの回転軸を支持する転がり軸受や、その電動モータから出力される回転を減速する減速機の回転軸を支持する転がり軸受は、高速回転時に軸受内部の潤滑や冷却が不十分となりやすいという問題がある。
【0007】
上記問題に対し、特許文献1では、保持器環状部を軸方向に貫通する通油孔と、保持器環状部の軸方向一方側の端面から突出する軸方向突起部とを形成し、保持器と一体に周方向移動する軸方向突起部で、軸方向一方側から供給される潤滑油を空中で捕捉して通油孔に誘導し、その通油孔を通じて保持器のポケットに潤滑油を導入するようにしている。
【0008】
また、上記問題に対し、特許文献2では、外輪と内輪の間の軸受空間の軸方向一方側の環状開口を覆う円環状の固定板を外輪に固定して設けるとともに、その固定板に形成したオイル吸引孔に専用の配管を介して吸引ポンプを接続し、その吸引ポンプで軸受内部の潤滑油を吸引することで、軸方向他方側から供給される潤滑油を軸受内部に引き込むようにしている。
【先行技術文献】
【特許文献】
【0009】
特開2022-164434号公報
特開2022-163432号公報
【発明の概要】
【発明が解決しようとする課題】
【0010】
しかしながら、高速回転時の軸受内部の通油性を確保するため、特許文献1のように、保持器環状部を軸方向に貫通する通油孔を形成したのでは、その通油孔によって保持器の強度が低下したり、保持器を成形する金型の構造が複雑となって製造コストが上昇したりする問題がある。
(【0011】以降は省略されています)
この特許をJ-PlatPat(特許庁公式サイト)で参照する
関連特許
NTN株式会社
玉軸受
28日前
NTN株式会社
軸受装置
28日前
NTN株式会社
焼成軸受
14日前
NTN株式会社
軸受装置
28日前
NTN株式会社
軸受装置
28日前
NTN株式会社
焼結軸受
28日前
NTN株式会社
軸受装置
28日前
NTN株式会社
焼成軸受
14日前
NTN株式会社
転がり軸受
29日前
NTN株式会社
荷積込装置
29日前
NTN株式会社
転がり軸受
28日前
NTN株式会社
焼入れ方法
1日前
NTN株式会社
ボールねじ
2日前
NTN株式会社
回転伝達装置
29日前
NTN株式会社
回転伝達装置
29日前
NTN株式会社
車輪用軸受装置
29日前
NTN株式会社
円すいころ軸受
2日前
NTN株式会社
リンク作動装置
1か月前
NTN株式会社
ボールねじ装置
2日前
NTN株式会社
ボールねじ装置
2日前
NTN株式会社
軸受装置及び間座
29日前
NTN株式会社
シェル形針状ころ軸受
1か月前
NTN株式会社
転がり軸受の設計方法
7日前
NTN株式会社
等速自在継手用ブーツ
27日前
NTN株式会社
ブーツ付等速自在継手
27日前
NTN株式会社
環状部品の抜け止め構造
2日前
NTN株式会社
軸受装置および機械装置
27日前
NTN株式会社
等速自在継手の外側継手部材
27日前
NTN株式会社
転がり軸受の耐電食性能評価方法
7日前
NTN株式会社
軸受装置および異常検知システム
28日前
NTN株式会社
連結機構及びこれを備えた研削盤
1か月前
NTN株式会社
転がり軸受の耐電食性能評価方法
7日前
NTN株式会社
軸受装置および異常検知システム
1か月前
NTN株式会社
ピッキング装置およびピッキング方法
29日前
NTN株式会社
軌道輪保持器一体型スラストころ軸受
1か月前
NTN株式会社
パラレルリンク機構およびリンク作動装置
1か月前
続きを見る
他の特許を見る