TOP
|
特許
|
意匠
|
商標
特許ウォッチ
Twitter
他の特許を見る
10個以上の画像は省略されています。
公開番号
2025165108
公報種別
公開特許公報(A)
公開日
2025-11-04
出願番号
2024068989
出願日
2024-04-22
発明の名称
ボールねじ
出願人
NTN株式会社
代理人
個人
,
個人
,
個人
主分類
F16H
25/22 20060101AFI20251027BHJP(機械要素または単位;機械または装置の効果的機能を生じ維持するための一般的手段)
要約
【課題】エンドキャップ式のボールねじにおいて、エンドキャップ等の循環部材の耐久性を維持しながら、騒音や振動を抑制する。
【解決手段】主通路11と接続路13との境界に形成される段差、及び、戻し通路12と接続路13との境界に形成される段差のうちの少なくとも一方を弾性的に吸収する弾性部材8を設ける。例えば、エンドキャップ6を、弾性部材8を介してナット本体5に取り付け、弾性部材8が弾性変形することで、エンドキャップ6とナット本体5との軸方向と直交する方向の相対移動が許容される構成とする。
【選択図】図1
特許請求の範囲
【請求項1】
内周面に雌ねじ溝が形成されたナット本体、及び、前記ナット本体の軸方向端部に取り付けられた循環部材を含むナットと、
前記ナットの内周に挿入され、外周面に雄ねじ溝が形成されたねじ軸と、
前記ナット本体の前記雌ねじ溝と前記ねじ軸の前記雄ねじ溝とで形成される主通路と、
前記主通路の外径側に設けられ、前記ナット本体の軸方向両端を連通する戻し通路と、
前記循環部材に設けられた溝部により形成され、前記主通路と前記戻し通路を接続する接続路と、
前記主通路、前記戻し通路、及び前記接続路に配された複数のボールとを有するボールねじにおいて、
前記主通路と前記接続路との境界に形成される段差、及び、前記戻し通路と前記接続路との境界に形成される段差のうちの少なくとも一方を弾性的に吸収する弾性部材を有するボールねじ。
続きを表示(約 380 文字)
【請求項2】
前記循環部材が前記弾性部材を介して前記ナット本体に取り付けられ、
前記弾性部材が弾性変形することで、前記循環部材と前記ナット本体との軸方向と直交する方向の相対移動が許容される請求項1に記載のボールねじ。
【請求項3】
前記主通路と前記接続路との境界、及び、前記戻し通路と前記接続路との境界のうちの少なくとも一方に前記弾性部材が配された請求項1に記載のボールねじ。
【請求項4】
前記弾性部材が、前記主通路と前記接続路との境界に配される第1緩衝部と、前記戻し通路と前記接続路との境界に配される第2緩衝部とを一体に有する請求項3に記載のボールねじ。
【請求項5】
前記弾性部材が、前記循環部材と前記ナット本体との間に挟持固定される平板部を一体に有する請求項3又は4に記載のボールねじ。
発明の詳細な説明
【技術分野】
【0001】
本発明は、ボールねじに関する。
続きを表示(約 1,900 文字)
【背景技術】
【0002】
ボールねじは、産業機械や車両等に搭載され、回転運動を直線運動に変換する運動変換機構として用いられる。ボールねじは、内周に雌ねじ溝が形成されたナットと、外周に雄ねじ溝が形成されたねじ軸と、雌ねじ溝と雄ねじ溝との間に配された多数のボールとを有する。電動モータ等の駆動源によりナット及びねじ軸の一方を回転させると、ボールを介してナット及びねじ軸の他方が軸方向に直動する。
【0003】
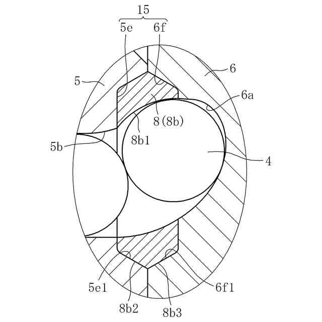
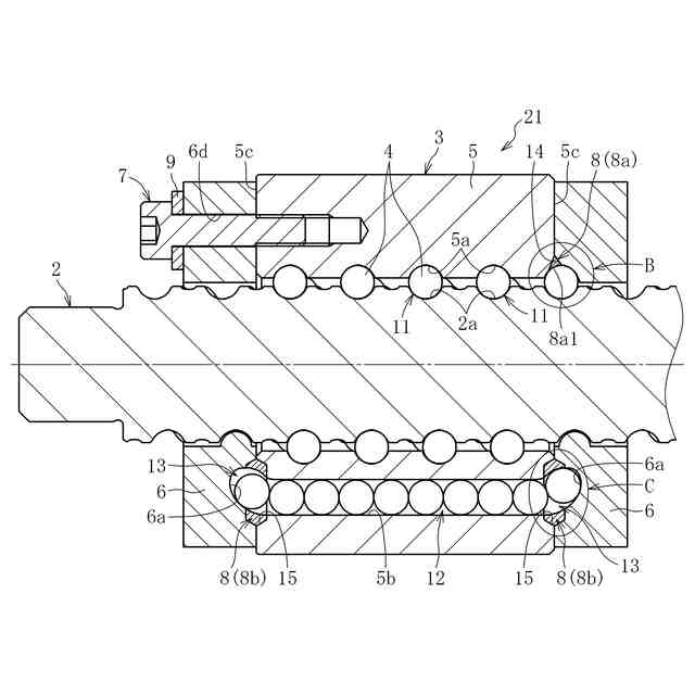
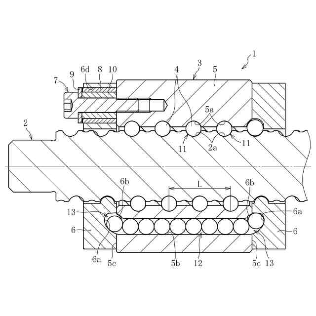
ボールねじには、雌ねじ溝と雄ねじ溝とで形成された主通路の終点まで達したボールを始点に戻すためのボール循環機構が設けられる。例えば、ナット本体の軸方向両端に取り付けた一対のエンドキャップでボール循環機構を形成した、いわゆるエンドキャップ式のボールねじが知られている(例えば、下記の特許文献1参照)。具体的には、ねじ軸の雄ねじ溝とナットの雌ねじ溝とで形成される主通路と、ナット本体を軸方向に貫通する戻し通路と、各エンドキャップの溝部とこれに対向するナット本体の端面とで形成された接続路とで、ボールの循環経路が構成される。
【先行技術文献】
【特許文献】
【0004】
特開2015-224663号公報
【発明の概要】
【発明が解決しようとする課題】
【0005】
エンドキャップ式のボールねじでは、主通路から接続路あるいは接続路から主通路にボールが移行する際に、ナット本体とエンドキャップのつなぎ目を通過する。このとき、ナット本体及びエンドキャップの加工誤差や組付誤差により、ナット本体の雌ねじ溝とエンドキャップの溝部の位相が僅かにずれて、これらのつなぎ目(すなわち、主通路と接続路との境界)に段差が生じることがある。上記と同様の理由から、接続路と戻し通路との境界にも段差が生じることがある。このような段差にボールが衝突することで、振動や騒音が発生する。
【0006】
例えば、上記特許文献1のボールねじは、エンドキャップが樹脂で形成されている。この場合、樹脂製のエンドキャップで形成された段差にボールが衝突することで、段差が弾性変形するため、段差が緩和されて騒音や振動が抑えられる。しかし、エンドキャップ全体を樹脂で形成すると、金属製と比べてボールとの接触部に摩耗が生じやすくなるため、耐久性が低下する。
【0007】
そこで、本発明は、エンドキャップ式のボールねじにおいて、エンドキャップ等の循環部材の耐久性を維持しながら、騒音や振動を抑制することを目的とする。
【課題を解決するための手段】
【0008】
前記課題を解決するために、本発明は、内周面に雌ねじ溝が形成されたナット本体、及び、前記ナット本体の軸方向端部に取り付けられた循環部材を含むナットと、前記ナットの内周に挿入され、外周面に雄ねじ溝が形成されたねじ軸と、前記ナット本体の前記雌ねじ溝と前記ねじ軸の前記雄ねじ溝とで形成される主通路と、前記主通路の外径側に設けられ、前記ナット本体の軸方向両端を連通する戻し通路と、前記循環部材に設けられた溝部により形成され、前記主通路と前記戻し通路を接続する接続路と、前記主通路、前記戻し通路、及び前記接続路に配された複数のボールとを有するボールねじにおいて、
前記主通路と前記接続路との境界に形成される段差、及び、前記戻し通路と前記接続路との境界に形成される段差のうちの少なくとも一方を弾性的に吸収する弾性部材を有するボールねじを提供する。
【0009】
上記のボールねじでは、主通路と接続路との境界あるいは戻し通路と接続路との境界をボールが通過する際に、上記の境界に形成される段差を弾性部材が吸収して緩和することで、上記の境界をボールが通過する際の振動や騒音を抑えることができる。また、循環部材は、弾性部材よりも強度の高い材料で形成することができるため、耐久性を確保することができる。
【0010】
上記のボールねじは、例えば、循環部材が弾性部材を介してナット本体に取り付けられ、弾性部材が弾性変形することで、循環部材とナット本体との軸方向と直交する方向の相対移動が許容される構成とすることができる。この場合、主通路と接続路との境界あるいは戻し通路と接続路との境界をボールが通過する際に、上記の境界に形成される段差にボールが衝突すると、弾性部材が弾性変形しながら循環部材とナット本体とが軸方向と直交する方向に相対移動する。これにより、上記の境界の段差が緩和されるため、この段差をボールが通過する際の振動や騒音を抑えることができる。
(【0011】以降は省略されています)
この特許をJ-PlatPat(特許庁公式サイト)で参照する
関連特許
NTN株式会社
焼成軸受
1か月前
NTN株式会社
焼成軸受
1か月前
NTN株式会社
焼入れ方法
26日前
NTN株式会社
ボールねじ
27日前
NTN株式会社
円すいころ軸受
27日前
NTN株式会社
ボールねじ装置
27日前
NTN株式会社
ボールねじ装置
27日前
NTN株式会社
密封装置付き軸受
24日前
NTN株式会社
ブーツ付等速自在継手
1か月前
NTN株式会社
転がり軸受の設計方法
1か月前
NTN株式会社
転動部材及び転動部品
3日前
NTN株式会社
環状部品の抜け止め構造
27日前
NTN株式会社
等速自在継手の外側継手部材
1か月前
NTN株式会社
転がり軸受の耐電食性能評価方法
1か月前
NTN株式会社
転がり軸受の耐電食性能評価方法
1か月前
NTN株式会社
窒化ケイ素焼結体、機械部品および軸受
3日前
NTN株式会社
損傷状態診断システムおよび損傷状態診断方法
1か月前
NTN株式会社
車輪用軸受装置
1か月前
NTN株式会社
ボールねじ装置及びこれを備えた電動アクチュエータ
11日前
個人
留め具
1か月前
個人
鍋虫ねじ
3か月前
個人
紛体用仕切弁
3か月前
個人
ホース保持具
7か月前
個人
回転伝達機構
3か月前
個人
差動歯車用歯形
5か月前
個人
トーションバー
8か月前
個人
給排気装置
1か月前
個人
ジョイント
2か月前
株式会社不二工機
電磁弁
6か月前
個人
ナット
26日前
個人
ナット
2か月前
株式会社不二工機
電磁弁
5か月前
個人
地震の揺れ回避装置
4か月前
個人
吐出量監視装置
3か月前
個人
ゲート弁バルブ
11日前
柿沼金属精機株式会社
分岐管
3か月前
続きを見る
他の特許を見る