TOP
|
特許
|
意匠
|
商標
特許ウォッチ
Twitter
他の特許を見る
公開番号
2025165106
公報種別
公開特許公報(A)
公開日
2025-11-04
出願番号
2024068987
出願日
2024-04-22
発明の名称
ボールねじ装置
出願人
NTN株式会社
代理人
個人
,
個人
主分類
F16H
25/22 20060101AFI20251027BHJP(機械要素または単位;機械または装置の効果的機能を生じ維持するための一般的手段)
要約
【課題】ナットの外周面の活用自由度が高く、全体としてコンパクトなボールねじ装置を提供する。
【解決手段】転動路7に配された複数のボール4を介して相対回転(相対移動)するナット2及びねじ軸3と、ボール4を循環させるための循環路8を形成する循環部材としてのこま部材5と、ナット2を軸方向の所定位置に保持する位置保持機構20と、を備えたボールねじ装置1において、位置保持機構20を、上記こま部材5と、こま部材5を、ボール4の循環を許容する許容位置と、ボール4の循環を規制する規制位置の間で径方向移動させる移動手段としての支持軸21を備えたもので構成し、かつ支持軸21を、中空軸に形成されたねじ軸3の中空部3eに配置する。
【選択図】図1
特許請求の範囲
【請求項1】
内周面に雌ねじ溝が形成されたナットと、
前記ナットの内周に挿入され、外周面に雄ねじ溝が形成されたねじ軸と、
前記雌ねじ溝と前記雄ねじ溝の間に形成される転動路に配された複数のボールと、
前記ボールを循環可能とするための循環路を形成する循環部材と、
前記ナット又は前記ねじ軸を所定の軸方向位置に保持する位置保持機構と、を備えたボールねじにおいて、
前記位置保持機構は、
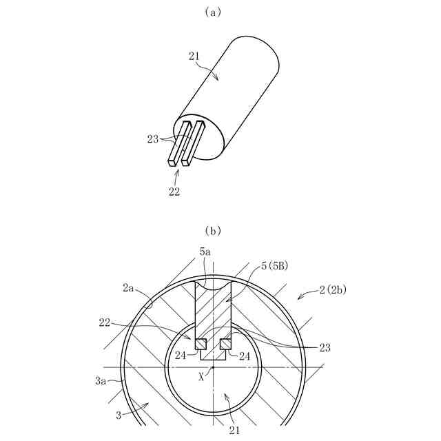
前記ねじ軸に嵌め込まれた前記循環部材としてのこま部材と、
前記こま部材を、前記ボールの循環を許容する許容位置と、前記ボールの循環を規制する規制位置の二位置間で径方向移動させる移動手段とを備え、
前記移動手段が、中空軸に形成された前記ねじ軸の中空部に配置されていることを特徴とするボールねじ装置。
続きを表示(約 250 文字)
【請求項2】
前記移動手段が、前記ねじ軸及び前記こま部材に対して軸方向に相対移動可能で、かつ、軸方向に対して傾斜したテーパ状の支持面で前記こま部材を支持した支持軸で構成されている請求項1に記載のボールねじ装置。
【請求項3】
前記支持軸は、前記支持面よりも径方向内側で前記こま部材と径方向に係合可能な係合面を有する請求項2に記載のボールねじ装置。
【請求項4】
前記ナットが直動側であり、前記ねじ軸が回転側である請求項1~3の何れか一項に記載のボールねじ装置。
発明の詳細な説明
【技術分野】
【0001】
本発明は、ボールねじ装置に関する。
続きを表示(約 2,200 文字)
【背景技術】
【0002】
回転運動を直線運動に、あるいは直線運動を回転運動に変換する運動変換機構の一種であるボールねじは、複数のボールを介して相対回転(相対移動)するねじ軸及びナットを備えており、ねじ軸とナットの相対移動時には、ねじ軸の外周面に形成された雄ねじ溝とナットの内周面に形成された雌ねじ溝の間の転動路に介在する複数のボールが両ねじ溝に沿って転動する。また、ボールねじは、ボールを循環可能とするための循環路を有しており、ねじ軸とナットの相対移動に伴って転動路の終端(長手方向の一端)に到達したボールは循環路を介して転動路の始端(長手方向の他端)に戻る。係る構成により、ねじ軸とナットが継続的に相対移動可能なボールねじが実現される。上記の循環路は、例えば、ナットに固定した循環部材としてのこま部材(に設けた溝部)で形成される(以上、例えば特許文献1を参照)。
【0003】
ボールねじは、ねじ軸とナットの相対移動を一時的に規制する(ねじ軸及びナットのうち直動側の部材を所定の軸方向位置に一時的に保持する)必要がある用途に使用される場合がある。このような場合には、特許文献1に記載されているような位置保持機構を具備したボールねじ装置が使用される。
【0004】
特許文献1に記載された位置保持機構は、ナットの外周面に沿って周方向に延びる円弧状の凹溝と、弾性部材を介して凹溝内に収容された押圧部材と、上記凹溝の溝底とナットの雌ねじ溝の溝底とに開口した径方向の貫通孔と、この貫通孔に進退(径方向移動)自在に挿入された突出部材とを備える(同文献の図1~図4を参照)。この位置保持機構では、ナット及びねじ軸のうち回転側の部材(ナット)の回転が停止すると押圧部材によって突出部材が径方向内側に押圧され、突出部材の先端部が転動路内に配置されるようになっている。これにより、転動路内でのボールの転動が規制されるので、直動側の部材であるねじ軸が所定の軸方向位置に保持される。
【先行技術文献】
【特許文献】
【0005】
特開2017-32109号公報
【発明の概要】
【発明が解決しようとする課題】
【0006】
特許文献1の位置保持機構は、その一部がナットの外周に露出・突出するように構成されているため、ナットの外周面を、他部材(例えば、ボールねじの出力を操作対象に伝達するための部材)を嵌合するための嵌合面として活用することが難しいという懸念がある。また、特許文献1のボールねじ装置では、ナットに嵌め込まれた循環部材としてのこま部材とは分離独立した位置保持機構をナットに設けていることから、ナットの大型化や、ボールねじ装置全体の複雑化が懸念される。
【0007】
以上の実情に鑑み、本発明の主な目的は、ねじ軸又はナットを所定の軸方向位置に保持する位置保持機構を備えたボールねじ装置であって、ナットの外周面の活用自由度が高く、かつ全体としてコンパクトなボールねじ装置を提供することを目的とする。
【課題を解決するための手段】
【0008】
上記の目的を達成するために創案された本発明は、
内周面に雌ねじ溝が形成されたナットと、
ナットの内周に挿入され、外周面に雄ねじ溝が形成されたねじ軸と、
雌ねじ溝と雄ねじ溝の間に形成される転動路に配された複数のボールと、
ボールを循環可能とするための循環路を形成する循環部材と、
ナット又はねじ軸を所定の軸方向位置に保持する位置保持機構と、を備えたボールねじ装置において、
位置保持機構は、
ねじ軸に嵌め込まれた上記循環部材としてのこま部材と、
こま部材を、ボールの循環を許容する許容位置と、ボールの循環を規制する規制位置との間で径方向移動させる移動手段とを備え、この移動手段が、中空軸に形成されたねじ軸の中空部に配置されていることを特徴とする。
【0009】
上記のように、本発明に係るボールねじ装置においては、ナット又はねじ軸を所定の軸方向位置に保持する位置保持機構が、ボールの循環を実現するために必須となる循環部材としてのこま部材を活用することで得られ、しかもこま部材は、従来のようにナットではなく、ねじ軸に嵌め込まれている。これに加え、ボールの循環を許容する許容位置と、ボールの循環を規制する規制位置との間で上記こま部材を径方向移動させる移動手段を中空軸に形成されたねじ軸の中空部に配置し、位置保持機構の構成要素をナットに設けずにねじ軸に集約して設けている。このため、ナット(の外周面)の活用自由度を高めつつ、ナット、ひいてはボールねじ装置の大型化や複雑化を回避することができる。
【0010】
上記の構成において、移動手段は、ねじ軸及びこま部材に対して軸方向に相対移動可能で、かつ、軸方向に対して傾斜したテーパ状の支持面でこま部材を支持した支持軸で構成することができる。移動手段を上記のような支持軸で構成すれば、ねじ軸の大型化を回避できることに加え、ねじ軸及びこま部材に対する支持軸の軸方向相対位置に応じてこま部材の径方向位置を調整することができるので、こま部材の位置変更を容易に行うことができる。
(【0011】以降は省略されています)
この特許をJ-PlatPat(特許庁公式サイト)で参照する
関連特許
NTN株式会社
玉軸受
28日前
NTN株式会社
軸受装置
28日前
NTN株式会社
焼成軸受
14日前
NTN株式会社
軸受装置
28日前
NTN株式会社
軸受装置
28日前
NTN株式会社
焼結軸受
28日前
NTN株式会社
軸受装置
28日前
NTN株式会社
焼成軸受
14日前
NTN株式会社
転がり軸受
29日前
NTN株式会社
荷積込装置
29日前
NTN株式会社
転がり軸受
28日前
NTN株式会社
焼入れ方法
1日前
NTN株式会社
ボールねじ
2日前
NTN株式会社
回転伝達装置
29日前
NTN株式会社
回転伝達装置
29日前
NTN株式会社
ボールねじ装置
2日前
NTN株式会社
ボールねじ装置
2日前
NTN株式会社
円すいころ軸受
2日前
NTN株式会社
車輪用軸受装置
29日前
NTN株式会社
軸受装置及び間座
29日前
NTN株式会社
ブーツ付等速自在継手
27日前
NTN株式会社
等速自在継手用ブーツ
27日前
NTN株式会社
シェル形針状ころ軸受
1か月前
NTN株式会社
転がり軸受の設計方法
7日前
NTN株式会社
軸受装置および機械装置
27日前
NTN株式会社
環状部品の抜け止め構造
2日前
NTN株式会社
等速自在継手の外側継手部材
27日前
NTN株式会社
連結機構及びこれを備えた研削盤
1か月前
NTN株式会社
軸受装置および異常検知システム
28日前
NTN株式会社
転がり軸受の耐電食性能評価方法
7日前
NTN株式会社
転がり軸受の耐電食性能評価方法
7日前
NTN株式会社
ピッキング装置およびピッキング方法
29日前
NTN株式会社
軌道輪保持器一体型スラストころ軸受
1か月前
NTN株式会社
データ集積装置およびデータ集積システム
29日前
NTN株式会社
損傷状態診断システムおよび損傷状態診断方法
9日前
NTN株式会社
車輪用軸受装置
7日前
続きを見る
他の特許を見る