TOP
|
特許
|
意匠
|
商標
特許ウォッチ
Twitter
他の特許を見る
公開番号
2025165107
公報種別
公開特許公報(A)
公開日
2025-11-04
出願番号
2024068988
出願日
2024-04-22
発明の名称
ボールねじ装置
出願人
NTN株式会社
代理人
個人
,
個人
主分類
F16H
25/24 20060101AFI20251027BHJP(機械要素または単位;機械または装置の効果的機能を生じ維持するための一般的手段)
要約
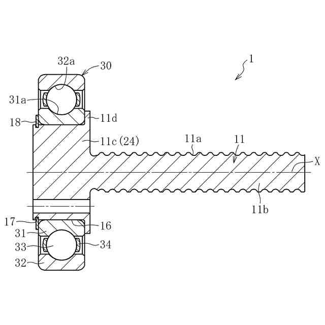
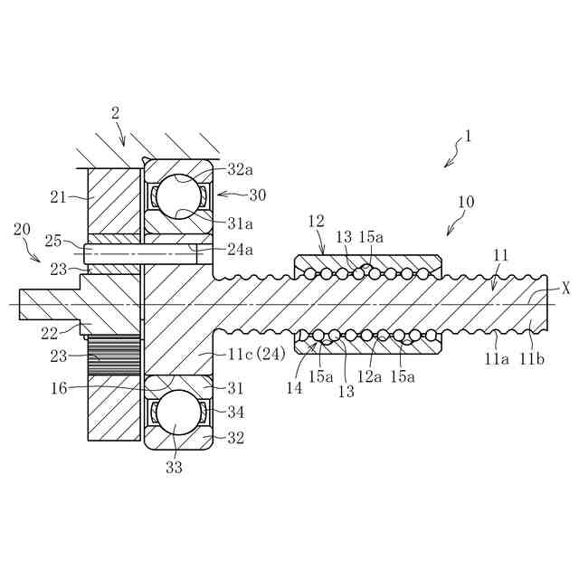
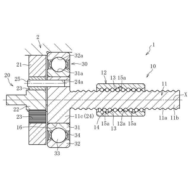
【課題】動作精度や静粛性に優れるものでありながら、組立性や転がり軸受の交換作業性に優れたボールねじ装置を提供する。
【解決手段】複数のボール13を介して相対回転するねじ軸11及びナット12を有するボールねじ10と、ねじ軸11を回転自在に支持する転がり軸受30と、回転駆動源の回転動力をねじ軸11に伝達する遊星減速機構20のキャリア24と、を備えたボールねじ装置1において、フランジ状をなす上記キャリア24をねじ軸11に一体に設け、キャリア24の外周面に転がり軸受30の内輪31を固定した。
【選択図】図3
特許請求の範囲
【請求項1】
複数のボールを介して相対回転するねじ軸及びナットを有するボールねじと、
前記ねじ軸を回転自在に支持する転がり軸受と、
回転駆動源の回転動力を前記ねじ軸に伝達する遊星減速機構のキャリアと、を備えたボールねじ装置において、
フランジ状をなす前記キャリアが前記ねじ軸に一体に設けられ、
前記キャリアの外周面に対して前記転がり軸受の内輪が固定されていることを特徴とするボールねじ装置。
続きを表示(約 330 文字)
【請求項2】
前記キャリアの外周面に対して前記転がり軸受の内輪が圧入固定されている請求項1に記載のボールねじ装置。
【請求項3】
前記ねじ軸の外周面に設けられたねじ溝が転造により成形され、前記キャリアの外周面に設けられた内輪固定面が研削により形成されている請求項1に記載のボールねじ装置。
【請求項4】
前記キャリアは、その外周面に設けられた内輪固定面の軸方向外側に、前記内輪と軸方向で係合可能な係止部を一体に有する請求項1に記載のボールねじ装置。
【請求項5】
前記キャリアは、その外周面に設けられた内輪固定面の軸方向外側に、前記内輪と軸方向で係合可能な止め輪の嵌合用溝を有する請求項1に記載のボールねじ装置。
発明の詳細な説明
【技術分野】
【0001】
本発明は、ボールねじ装置に関する。
続きを表示(約 2,100 文字)
【背景技術】
【0002】
複数のボールを介して相対回転(相対移動)するねじ軸及びナットを備えたボールねじは、回転運動を直線運動に、あるいは直線運動を回転運動に変換する運動変換機構の一種として広く利用されている。このボールねじの駆動時には、ねじ軸とナットの間でボールが転動するため、ねじ軸とナットは極めて効率良く相対移動可能である。従って、ボールねじは、自動車、産業用ロボット、工作機械等、良好な作動性や高い動作精度を求められる各種機械装置に組み込まれている。
【0003】
例えば下記の特許文献1には、遊星減速機構で減速された回転駆動源の回転動力によってねじ軸が回転駆動される、いわゆる軸回転型のボールねじ(ボールねじ装置)が開示されている。このボールねじ装置は、複数のボールを介して相対回転するねじ軸及びナットと、遊星減速機構の出力部材を構成するキャリアと、キャリアを回転自在に支持する転がり軸受とを備えており、ねじ軸に対して相対回転不能に嵌合固定されたキャリアの外周面に転がり軸受の内側軌道面を直接形成したことを主たる特徴とするものである。係る構成によれば、キャリアが転がり軸受の内輪の機能を兼ね備える分、内輪を省略して部品点数を少なくすることができるので、遊星減速機構を採用しているにも関わらず、組立性に優れたボールねじ装置を実現できる、としている。
【0004】
特許文献1のボールねじ装置において、回転駆動源の回転動力をねじ軸に正確に伝達するには、キャリアに対するねじ軸の嵌合精度が重要となるところ、キャリアとねじ軸はスプライン嵌合やインロー嵌合によって一体回転可能に連結されるため、キャリアとねじ軸の嵌合部には、はめ合いすきま等に起因する多少のガタが不可避的に存在する。上記嵌合部におけるガタの存在は、ねじ軸の回転時に振れとして現れるため、ボールねじの動作精度向上や静粛性向上(作動音や振動の発生防止)を図る上では上記ガタの発生を極力抑制又は防止するのが好ましい。
【0005】
そこで、下記の特許文献2には、遊星減速機構のキャリアに相当するキャリア部(をねじ軸に一体的に設け、キャリア部の外周面に転がり軸受の内側軌道面を直接形成したボールねじ装置が記載されている。この場合、キャリアとねじ軸の嵌合部が存在しなくなるため、はめ合いすきま等に起因するガタの発生を防止できると考えられる。
国際公開第2023/132172号公報
特許第7338810号公報
【発明の概要】
【発明が解決しようとする課題】
【0006】
特許文献2に記載のように、ねじ軸に一体的に設けたキャリア部の外周面に転がり軸受の内側軌道面を直接形成した場合、特許文献1に開示されたボールねじ装置よりも部品点数を減じることができる。しかしながら、この場合、内側軌道面を有する部材が格段に大型化されて取り扱いが難しくなるため、必ずしもボールねじ装置の組立性を向上できるとは限らず、却って組立性の低下を招来する可能性がある。また、使用時の不具合によって転がり軸受を交換等する必要が生じた場合、ねじ軸(を含むボールねじ)までも交換する必要が生じるため、多大な手間とコストが必要になる。
【0007】
以上の実情に鑑み、本発明は、転がり軸受により回転自在に支持されたねじ軸に対し、回転駆動源の回転動力が遊星減速機構のキャリアを介して伝達されるボールねじ装置において、組立性及び転がり軸受の交換作業性等を確実に高めることを目的とする。
【課題を解決するための手段】
【0008】
上記の目的を達成するために創案された本発明は、
複数のボールを介して相対回転するねじ軸及びナットを有するボールねじと、
ねじ軸を回転自在に支持する転がり軸受と、
回転駆動源の回転動力をねじ軸に伝達する遊星減速機構のキャリアとを備えたボールねじ装置において、
フランジ状をなすキャリアがねじ軸に一体に設けられ、
キャリアの外周面に対して転がり軸受の内輪が固定されていることを特徴とする。
【0009】
まず、本発明に係るボールねじ装置においては、フランジ状をなす遊星減速機構のキャリアがねじ軸に一体に設けられているため、ねじ軸とキャリアの嵌合部はそもそも存在しない。そのため、ねじ軸に対してキャリアを嵌合した場合に生じるはめ合いすきま等に由来するガタの発生、及びガタによるねじ軸回転時の軸振れの発生を防止して、動作精度及び静粛性に優れたボールねじ装置を実現することができる。
【0010】
また、本発明に係るボールねじ装置においては、キャリアの外周面に対して転がり軸受の内輪が固定されているため、転がり軸受は、その全体を、キャリアを一体に有するねじ軸とは別部品とすることができる。そのため、転がり軸受の交換も容易に行うことができる。
(【0011】以降は省略されています)
この特許をJ-PlatPat(特許庁公式サイト)で参照する
関連特許
NTN株式会社
玉軸受
1か月前
NTN株式会社
焼成軸受
1か月前
NTN株式会社
軸受装置
1か月前
NTN株式会社
軸受装置
1か月前
NTN株式会社
焼結軸受
1か月前
NTN株式会社
軸受装置
1か月前
NTN株式会社
軸受装置
1か月前
NTN株式会社
焼成軸受
1か月前
NTN株式会社
転がり軸受
1か月前
NTN株式会社
転がり軸受
1か月前
NTN株式会社
焼入れ方法
26日前
NTN株式会社
ボールねじ
27日前
NTN株式会社
荷積込装置
1か月前
NTN株式会社
回転伝達装置
1か月前
NTN株式会社
回転伝達装置
1か月前
NTN株式会社
円すいころ軸受
27日前
NTN株式会社
車輪用軸受装置
1か月前
NTN株式会社
ボールねじ装置
27日前
NTN株式会社
ボールねじ装置
27日前
NTN株式会社
軸受装置及び間座
1か月前
NTN株式会社
密封装置付き軸受
24日前
NTN株式会社
ブーツ付等速自在継手
1か月前
NTN株式会社
等速自在継手用ブーツ
1か月前
NTN株式会社
転動部材及び転動部品
3日前
NTN株式会社
シェル形針状ころ軸受
1か月前
NTN株式会社
転がり軸受の設計方法
1か月前
NTN株式会社
軸受装置および機械装置
1か月前
NTN株式会社
環状部品の抜け止め構造
27日前
NTN株式会社
等速自在継手の外側継手部材
1か月前
NTN株式会社
軸受装置および異常検知システム
1か月前
NTN株式会社
転がり軸受の耐電食性能評価方法
1か月前
NTN株式会社
転がり軸受の耐電食性能評価方法
1か月前
NTN株式会社
軌道輪保持器一体型スラストころ軸受
1か月前
NTN株式会社
ピッキング装置およびピッキング方法
1か月前
NTN株式会社
窒化ケイ素焼結体、機械部品および軸受
3日前
NTN株式会社
データ集積装置およびデータ集積システム
1か月前
続きを見る
他の特許を見る