TOP
|
特許
|
意匠
|
商標
特許ウォッチ
Twitter
他の特許を見る
公開番号
2025150655
公報種別
公開特許公報(A)
公開日
2025-10-09
出願番号
2024051655
出願日
2024-03-27
発明の名称
軸受装置
出願人
NTN株式会社
代理人
個人
,
個人
,
個人
,
個人
主分類
F16C
41/00 20060101AFI20251002BHJP(機械要素または単位;機械または装置の効果的機能を生じ維持するための一般的手段)
要約
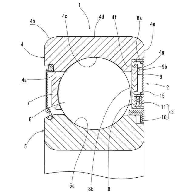
【課題】転がり軸受の軌道輪が進行波型クリープを起こしても、その軌道輪に固定されたセンサユニットのセンサによる検出精度の低下を抑制することが可能な軸受装置を提供する。
【解決手段】転がり軸受1の第一の軌道輪4は、軌道面4cを含む内周部4aと、中心軸CA周りの円周方向に沿った外径面4dと、外径面4dに対して半径方向深さδを有する逃げ面4hとを含む。第一の軌道輪4に固定されたセンサユニット2はセンサ9b、9cを含む。逃げ面4hが存在する中心軸CA周りの角度領域α内にセンサ9b、9cが配置されている。
【選択図】図1
特許請求の範囲
【請求項1】
第一の軌道輪と、第二の軌道輪と、前記第一の軌道輪と前記第二の軌道輪との間に配置された複数の転動体とを有する転がり軸受と、
前記第一の軌道輪に固定され一つ以上のセンサを含むセンサユニットと、を備え、
前記第一の軌道輪が内周部及び外周部を有し、これら内周部及び外周部のうちのいずれか一方の周部が軌道面を含み、当該一方の周部とは異なる他方の周部が当該第一の軌道輪の中心軸周りの円周方向に沿った外径面又は内径面を含む軸受装置において、
前記第一の軌道輪の前記他方の周部が、当該他方の周部に含まれた前記外径面又は内径面に対して半径方向深さを有する逃げ面をさらに含み、
前記逃げ面が存在する前記中心軸周りの角度領域内に少なくとも一つの前記センサが配置されていることを特徴とする軸受装置。
続きを表示(約 320 文字)
【請求項2】
前記センサユニットが、前記センサとして振動センサを含む請求項1に記載の軸受装置。
【請求項3】
前記振動センサが、当該振動センサに設定された検出方向と、前記中心軸から前記逃げ面に向かって延びる半径方向直線に平行な方向とを一致させた向きに配置されている請求項2に記載の軸受装置。
【請求項4】
前記センサユニットが、前記センサとして温度センサを含む請求項1から3のいずれか1項に記載の軸受装置。
【請求項5】
前記転動体間のピッチ角度をθとしたとき、前記逃げ面が存在する前記中心軸周りの角度領域が0.5θ以上2θ以下の範囲である請求項1から3のいずれか1項に記載の軸受装置。
発明の詳細な説明
【技術分野】
【0001】
この発明は、転がり軸受とセンサユニットとを備える軸受装置に関する。
続きを表示(約 2,400 文字)
【背景技術】
【0002】
従来、転がり軸受の状態を検出するためのセンサ等を基板に実装してセンサ付き回路基板に構成し、その回路基板をホルダに保持させてセンサユニットに組み立て、そのセンサユニットを軌道輪に固定した軸受装置が知られている。転がり軸受の状態検出は、一般に、温度や振動を検出することで行われる(特許文献1)。
【0003】
第一の軌道輪と第二の軌道輪間で公転する転動体に荷重が負荷される荷重負荷圏において、転動体と軌道輪の接触部での発熱量や潤滑状況が変化すると、転がり軸受の温度が変化する。このため、転がり軸受の温度を測定する場合、軸受装置は、昇温し易い荷重負荷圏に温度センサが近接するように機械設備に組み込まれる。
【0004】
また、荷重負荷圏において、転がり軸受に作用する負荷方向に軌道輪が振動したり(並進振動)、転動体と軌道輪の接触部が深刻な表面損傷に至ったりすることにより、転がり軸受の振動が発生する。このため、転がり軸受の振動を検出する場合、軸受装置は、振動センサに設定された検出方向と転がり軸受の振動方向とが一致するよう、また、荷重負荷圏に振動センサが近接するように機械設備に組み込まれる。
【先行技術文献】
【特許文献】
【0005】
特開2003-307435号公報
【発明の概要】
【発明が解決しようとする課題】
【0006】
しかしながら、軸受装置の軌道輪と他の機械のハウジング又は軸の相手部材とのはめあいがすきまばめに設定される場合や、そのはめあいの締め代が不足した場合、転がり軸受の荷重条件等によっては、その軌道輪が転動体の公転方向と同方向に回転するクリープを起こし得る。このクリープは、相手部材に対する軌道輪のはめあい面である外径面又は内径面に進行波が発生し、その進行波が軌道輪自体を移送させることで起こる。すなわち、転動体荷重が軌道輪の軌道面に作用すると、その直下で軌道輪の外径面又は内径面が相手部材の方へ突出し、波打つ。転がり軸受の運転時に転動体が公転するため、その外径面又は内径面の波打ちが進行波となる。この進行波が相手部材を転動体の公転方向と逆方向に移送しようとするが、相手部材の抵抗で逆に押し戻される形となり、結果、軌道輪が転動体の公転方向と同方向に回転する。
【0007】
軌道輪が前述の進行波型クリープを起こすと、その軌道輪に固定されたセンサユニットのセンサが荷重負荷圏から遠ざかり、そのセンサによる検出精度が低下する虞がある。
【0008】
上述の背景に鑑み、この発明が解決しようとする課題は、転がり軸受の軌道輪が進行波型クリープを起こしても、その軌道輪に固定されたセンサユニットのセンサによる検出精度の低下を抑制することが可能な軸受装置を提供することである。
【課題を解決するための手段】
【0009】
上記の課題を解決するため、この発明は、第一の軌道輪と、第二の軌道輪と、前記第一の軌道輪と前記第二の軌道輪との間に配置された複数の転動体とを有する転がり軸受と、前記第一の軌道輪に固定され一つ以上のセンサを含むセンサユニットと、を備え、前記第一の軌道輪が内周部及び外周部を有し、これら内周部及び外周部のうちのいずれか一方の周部が軌道面を含み、当該一方の周部とは異なる他方の周部が当該第一の軌道輪の中心軸周りの円周方向に沿った外径面又は内径面を含む軸受装置において、前記第一の軌道輪の前記他方の周部が、当該他方の周部に含まれた前記外径面又は内径面に対して半径方向深さを有する逃げ面をさらに含み、前記逃げ面が存在する前記中心軸周りの角度領域内に少なくとも一つの前記センサが配置されていることを特徴とする軸受装置、という構成1を採用した。
【0010】
上記構成1によると、第一の軌道輪の内周部と外周部のうち、軌道面を含む一方の周部とは反対側の他方の周部の外径面又は内径面において対応のハウジング又は軸である相手部材にすきまばめすることが可能である。そうすると、他方の周部に含まれた逃げ面と相手部材との間で半径方向隙間が比較的大きく形成される。転がり軸受に静止荷重が負荷される使用環境である場合、転がり軸受の荷重負荷圏に逃げ面が位置するように軸とハウジング間に転がり軸受を組み込めば、前述の半径方向隙間により、他方の周部が波状に変形しても相手部材と接触できないようにし、第一の軌道輪の進行波型クリープの発生を防止することが可能である。一方、軸とハウジング間に転がり軸受を組み込む際に逃げ面が荷重負荷圏に適切に配置されなかった場合、転がり軸受に負荷される荷重方向が変化する使用環境である場合等、逃げ面と荷重負荷圏との位置関係が適切でない場合、第一の軌道輪が進行波型クリープを起こし得る。当該クリープに伴い、第一の軌道輪に固定されたセンサユニットのセンサは、第一の軌道輪の中心軸周りの円周方向に移動する。当該クリープが一定以上進行すれば、逃げ面が荷重負荷圏に入って前述の半径方向隙間が形成され、進行波が逃げ面のところで遮断されるため、当該クリープが停止する。したがって、逃げ面が存在する当該中心軸周りの角度領域内に当該センサを予め配置しておけば、当該センサが荷重負荷圏に近接した位置に存在するときに当該クリープが停止することになり、このため、当該センサによる検出精度の低下を抑制することが可能である。このように、上記構成1によると、転がり軸受の軌道輪が進行波型クリープを起こしても、その軌道輪に固定されたセンサユニットのセンサによる検出精度の低下を抑制することが可能な軸受装置を提供することができる。
(【0011】以降は省略されています)
この特許をJ-PlatPat(特許庁公式サイト)で参照する
関連特許
NTN株式会社
玉軸受
1か月前
NTN株式会社
軸受装置
1か月前
NTN株式会社
軸受装置
1か月前
NTN株式会社
焼結軸受
1か月前
NTN株式会社
軸受装置
1か月前
NTN株式会社
焼成軸受
1か月前
NTN株式会社
焼成軸受
1か月前
NTN株式会社
軸受装置
1か月前
NTN株式会社
転がり軸受
1か月前
NTN株式会社
転がり軸受
1か月前
NTN株式会社
荷積込装置
1か月前
NTN株式会社
ボールねじ
23日前
NTN株式会社
焼入れ方法
22日前
NTN株式会社
回転伝達装置
1か月前
NTN株式会社
回転伝達装置
1か月前
NTN株式会社
ボールねじ装置
23日前
NTN株式会社
ボールねじ装置
23日前
NTN株式会社
円すいころ軸受
23日前
NTN株式会社
車輪用軸受装置
1か月前
NTN株式会社
軸受装置及び間座
1か月前
NTN株式会社
密封装置付き軸受
20日前
NTN株式会社
シェル形針状ころ軸受
1か月前
NTN株式会社
転がり軸受の設計方法
28日前
NTN株式会社
ブーツ付等速自在継手
1か月前
NTN株式会社
等速自在継手用ブーツ
1か月前
NTN株式会社
軸受装置および機械装置
1か月前
NTN株式会社
環状部品の抜け止め構造
23日前
NTN株式会社
等速自在継手の外側継手部材
1か月前
NTN株式会社
軸受装置および異常検知システム
1か月前
NTN株式会社
転がり軸受の耐電食性能評価方法
28日前
NTN株式会社
転がり軸受の耐電食性能評価方法
28日前
NTN株式会社
ピッキング装置およびピッキング方法
1か月前
NTN株式会社
データ集積装置およびデータ集積システム
1か月前
NTN株式会社
損傷状態診断システムおよび損傷状態診断方法
1か月前
NTN株式会社
車輪用軸受装置
28日前
NTN株式会社
等速自在継手用外側継手部材及びこれを備える固定式等速自在継手
1か月前
続きを見る
他の特許を見る