TOP
|
特許
|
意匠
|
商標
特許ウォッチ
Twitter
他の特許を見る
公開番号
2025149113
公報種別
公開特許公報(A)
公開日
2025-10-08
出願番号
2024049567
出願日
2024-03-26
発明の名称
回転伝達装置
出願人
NTN株式会社
代理人
個人
,
個人
,
個人
,
個人
主分類
F16D
41/08 20060101AFI20251001BHJP(機械要素または単位;機械または装置の効果的機能を生じ維持するための一般的手段)
要約
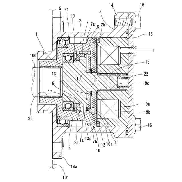
【課題】無励磁作動形の回転伝達装置に備わる摩擦部材と摩擦面部の摩耗を防止する。
【解決手段】内方部材1と外方部材2間に保持する係合子6をこれら部材1、2に係合させる係合位置と当該係合を解除する解放位置との間を移動可能に配置された保持器7と、保持器7に回り止めされたセンタリングばね8と、電磁石9と、保持器7に対して回り止めされかつ軸方向に移動可能に配置された摩擦部材10と、電磁石9と摩擦部材10間で電磁石9に軸方向に対向するアーマチュア11を介して摩擦部材10を軸方向に電磁石9から遠ざかる方へ付勢する離反ばね12と、その付勢された摩擦部材10を軸方向に受けると共に保持器7を前記係合位置へ移動させるように摩擦部材10に周方向力を与える摩擦面部2bと、電磁石9の励磁時に摩擦部材10を摩擦面部2bから軸方向に離れた位置に弾性的に保持する弾性部材19とを備える。
【選択図】図1
特許請求の範囲
【請求項1】
内方部材と、前記内方部材を取り囲む外方部材と、前記外方部材と前記内方部材との間に配置された係合子と、前記係合子を保持して前記外方部材と前記内方部材に係合させる係合位置と当該係合を解除する解放位置との間を周方向に移動可能に配置された保持器と、前記保持器を前記解放位置に弾性的に保持しかつ前記保持器に回り止めされたセンタリングばねと、電磁石と、前記保持器に対して回り止めされかつ軸方向に移動可能に配置された摩擦部材と、前記電磁石と前記摩擦部材との間で前記電磁石に軸方向に対向するアーマチュアと、前記アーマチュアを介して前記摩擦部材を軸方向に前記電磁石から遠ざかる方へ付勢する離反ばねと、前記離反ばねに付勢された前記摩擦部材を軸方向に受けると共に前記保持器を前記係合位置へ移動させるように当該摩擦部材に周方向力を与える摩擦面部と、を備える回転伝達装置において、
前記電磁石の励磁時に前記摩擦部材を前記摩擦面部から軸方向に離れた位置に弾性的に保持する弾性部材をさらに備えることを特徴とする回転伝達装置。
続きを表示(約 610 文字)
【請求項2】
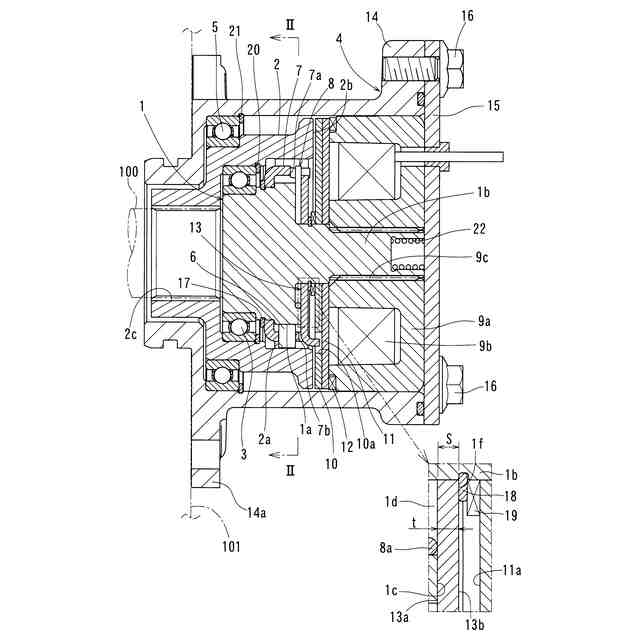
前記内方部材が、軸方向に延びる中心軸部と、前記中心軸部の周囲に位置する端面部と、前記端面部と前記中心軸部との間で周方向に延びる円弧状凹部とを有し、
前記センタリングばねが、前記円弧状凹部に収容された円孤状ばね部を有し、
前記端面部及び前記円孤状ばね部に隣接するばね押え部材と、前記摩擦部材とが前記中心軸部に通されており、
前記ばね押え部材の摩擦部材側への軸方向移動を規制する止め輪が前記中心軸部に取り付けられており、
前記弾性部材が、前記摩擦部材と前記止め輪とで軸方向に挟まれている請求項1に記載の回転伝達装置。
【請求項3】
前記ばね押え部材が、前記保持器及び前記摩擦部材に回り止めされており、
前記止め輪と前記内方部材の前記端面部との間で前記ばね押え部材が有する軸方向の厚さをtとし、前記端面部から前記止め輪に対応の止め輪溝部までの軸方向間隔をSとしたとき、t≦Sを満足している請求項2に記載の回転伝達装置。
【請求項4】
前記摩擦部材が非磁性材によって形成されている請求項1から3のいずれか1項に記載の回転伝達装置。
【請求項5】
前記内方部材又は前記外方部材が車両、船舶又は建設機械の駆動系若しくはステアリング装置に備わる回転軸に接続されている請求項1から3のいずれか1項に記載の回転伝達装置。
発明の詳細な説明
【技術分野】
【0001】
この発明は、回転トルクの伝達と遮断を行う回転伝達装置に関する。
続きを表示(約 2,600 文字)
【背景技術】
【0002】
従来、無励磁作動形の回転伝達装置として、内方部材と、内方部材を取り囲む外方部材との間に係合子が配置され、その係合子が保持器で保持され、電磁石の無励磁時にその保持器が係合位置に移動させられることにより係合子を介して内方部材と外方部材間で回転トルクの伝達が行われ、電磁石の励磁時にその保持器が解放位置に移動させられることにより前述の回転トルク伝達が遮断されるように構成されたものがある。
【0003】
例えば、特許文献1に開示された無励磁作動形の回転伝達装置は、内方部材を他の機械に備わる回転軸に接続するものである。外方部材は、ケースに対して回り止めされている。ケースは、静止系に取り付けられる。保持器は、そのセンタリングばねによって解放位置に弾性的に保持される。センタリングばねは、内方部材と一体に回転するように内方部材及び保持器に回り止めされている。電磁石に軸方向に対向するように摩擦部材及びアーマチュアが配置されている。摩擦部材は、保持器に対して回り止めされかつ軸方向に移動可能に配置されている。アーマチュアは、電磁石と摩擦部材との間に配置されている。外方部材の端面に摩擦面部が形成されている。電磁石の励磁時、摩擦部材に離反ばねの付勢力が与えられないため、摩擦部材は摩擦面部に押し付けられない。電磁石の無励磁時、摩擦部材は、アーマチュアを介して離反ばねにより軸方向に電磁石から遠ざかる方へ付勢され、摩擦面部に軸方向に受けられるので、摩擦面部に押し付けられた状態になる。したがって、電磁石の励磁時、内方部材が外方部材に対して回転すると、内方部材、保持器及び摩擦部材は一体的に回転することができる。一方、電磁石の無励磁時に内方部材が外方部材に対して回転すると、摩擦部材を軸方向に受ける摩擦面部は、外方部材に対して回転できないため、摩擦部材との軸方向接触部において相対的に摩擦部材の回転を制動し、その摩擦部材に対して回り止めされた保持器を係合位置へ移動させるように当該摩擦部材に周方向力(この場合、摩擦部材の回転に抵抗する摩擦力)を与えることができる。このため、センタリングばねが弾性変形させられると共に保持器が係合位置へ移動させられるので、内方部材及び外方部材に対して係合子が係合する。これにより、係合子を介して内方部材と外方部材間で回転トルクの伝達を行うことができる。一方、電磁石の励磁時、内方部材と外方部材が相対回転しても、摩擦部材が摩擦面部に押し付けられず、保持器がセンタリングばねによって解放位置に弾性的に保持されるため、内方部材及び外方部材に対して係合子が係合できない。これにより、内方部材と外方部材間で回転トルクの伝達を遮断することができる。
【先行技術文献】
【特許文献】
【0004】
特開2023-45468号公報
【発明の概要】
【発明が解決しようとする課題】
【0005】
特許文献1の回転伝達装置のように、係合子を保持する保持器の係合位置と解放位置間の移動がセンタリングばね、摩擦部材、アーマチュア、摩擦面部、電磁石、及び離反ばねの協働で行われる無励磁作動形の場合、電磁石の励磁時、アーマチュアが電磁石に軸方向に吸引されるとともに離反ばねが圧縮されるので、摩擦部材が摩擦面部から離れることを許すことになる。
【0006】
しかしながら、電磁石の励磁時かつ内方部材と外方部材の相対回転時、振動等によって摩擦部材と摩擦面部との軸方向接触が起こると、摩擦部材が摩擦面部に対して周方向に滑り合う。このような摺接が繰り返されると、摩擦部材と摩擦面部の接触部で摩耗が発生する懸念がある。特許文献1の回転伝達装置では、その摩耗対策について言及されていない。
【0007】
そこで、この発明が解決しようとする課題は、無励磁作動形の回転伝達装置に備わる摩擦部材と摩擦面部の摩耗を防止することである。
【課題を解決するための手段】
【0008】
上記の課題を達成するため、この発明は、内方部材と、前記内方部材を取り囲む外方部材と、前記外方部材と前記内方部材との間に配置された係合子と、前記係合子を保持して前記外方部材と前記内方部材に係合させる係合位置と当該係合を解除する解放位置との間を周方向に移動可能に配置された保持器と、前記保持器を前記解放位置に弾性的に保持しかつ前記保持器に回り止めされたセンタリングばねと、電磁石と、前記保持器に対して回り止めされかつ軸方向に移動可能に配置された摩擦部材と、前記電磁石と前記摩擦部材との間で前記電磁石に軸方向に対向するアーマチュアと、前記アーマチュアを介して前記摩擦部材を軸方向に前記電磁石から遠ざかる方へ付勢する離反ばねと、前記離反ばねに付勢された前記摩擦部材を軸方向に受けると共に前記保持器を前記係合位置へ移動させる周方向力を当該摩擦部材に与える摩擦面部と、を備える回転伝達装置において、前記電磁石の励磁時に前記摩擦部材を前記摩擦面部から軸方向に離れた位置に弾性的に保持する弾性部材をさらに備えることを特徴とする回転伝達装置、という構成1を採用した。
【0009】
上記構成1によると、電磁石の励磁時に弾性部材によって摩擦部材が摩擦面部から軸方向に離れた位置に弾性的に保持されるので、摩擦部材と摩擦面部の接触が防止される。これにより、摩擦部材と摩擦面部の摩耗の発生が防止される。
【0010】
上記構成1において、前記内方部材が、軸方向に延びる中心軸部と、前記中心軸部の周囲に位置する端面部と、前記端面部と前記中心軸部との間で周方向に延びる円弧状凹部とを有し、前記センタリングばねが、前記円弧状凹部に収容された円孤状ばね部を有し、前記端面部及び前記円孤状ばね部に隣接するばね押え部材と、前記摩擦部材と、前記アーマチュアとが前記中心軸部に通されており、前記ばね押え部材の摩擦部材側への軸方向移動を規制する止め輪が前記中心軸部に取り付けられており、前記弾性部材が、前記摩擦部材と前記止め輪とで軸方向に挟まれている、という構成2を採用することができる。
(【0011】以降は省略されています)
この特許をJ-PlatPat(特許庁公式サイト)で参照する
関連特許
NTN株式会社
玉軸受
1か月前
NTN株式会社
軸受装置
1か月前
NTN株式会社
焼結軸受
1か月前
NTN株式会社
焼成軸受
1か月前
NTN株式会社
軸受装置
1か月前
NTN株式会社
焼成軸受
1か月前
NTN株式会社
焼入れ方法
26日前
NTN株式会社
ボールねじ
27日前
NTN株式会社
円すいころ軸受
27日前
NTN株式会社
ボールねじ装置
27日前
NTN株式会社
ボールねじ装置
27日前
NTN株式会社
密封装置付き軸受
24日前
NTN株式会社
ブーツ付等速自在継手
1か月前
NTN株式会社
等速自在継手用ブーツ
1か月前
NTN株式会社
転動部材及び転動部品
3日前
NTN株式会社
転がり軸受の設計方法
1か月前
NTN株式会社
軸受装置および機械装置
1か月前
NTN株式会社
環状部品の抜け止め構造
27日前
NTN株式会社
等速自在継手の外側継手部材
1か月前
NTN株式会社
軸受装置および異常検知システム
1か月前
NTN株式会社
転がり軸受の耐電食性能評価方法
1か月前
NTN株式会社
転がり軸受の耐電食性能評価方法
1か月前
NTN株式会社
窒化ケイ素焼結体、機械部品および軸受
3日前
NTN株式会社
損傷状態診断システムおよび損傷状態診断方法
1か月前
NTN株式会社
車輪用軸受装置
1か月前
NTN株式会社
等速自在継手用外側継手部材及びこれを備える固定式等速自在継手
1か月前
NTN株式会社
ボールねじ装置及びこれを備えた電動アクチュエータ
11日前
個人
留め具
1か月前
個人
鍋虫ねじ
3か月前
個人
回転伝達機構
3か月前
個人
紛体用仕切弁
3か月前
個人
ホース保持具
7か月前
個人
差動歯車用歯形
5か月前
個人
トーションバー
8か月前
個人
ジョイント
2か月前
個人
給排気装置
1か月前
続きを見る
他の特許を見る