TOP
|
特許
|
意匠
|
商標
特許ウォッチ
Twitter
他の特許を見る
10個以上の画像は省略されています。
公開番号
2025165277
公報種別
公開特許公報(A)
公開日
2025-11-04
出願番号
2024069295
出願日
2024-04-22
発明の名称
円すいころ軸受
出願人
NTN株式会社
代理人
個人
,
個人
,
個人
,
個人
,
個人
主分類
F16C
33/51 20060101AFI20251027BHJP(機械要素または単位;機械または装置の効果的機能を生じ維持するための一般的手段)
要約
【課題】セグメント保持器の成形性と潤滑性を向上することができる円すいころ軸受を提供する。
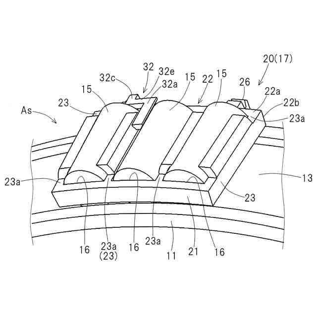
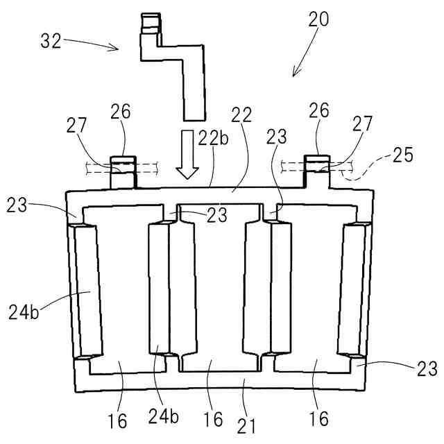
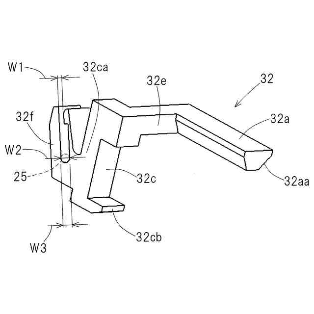
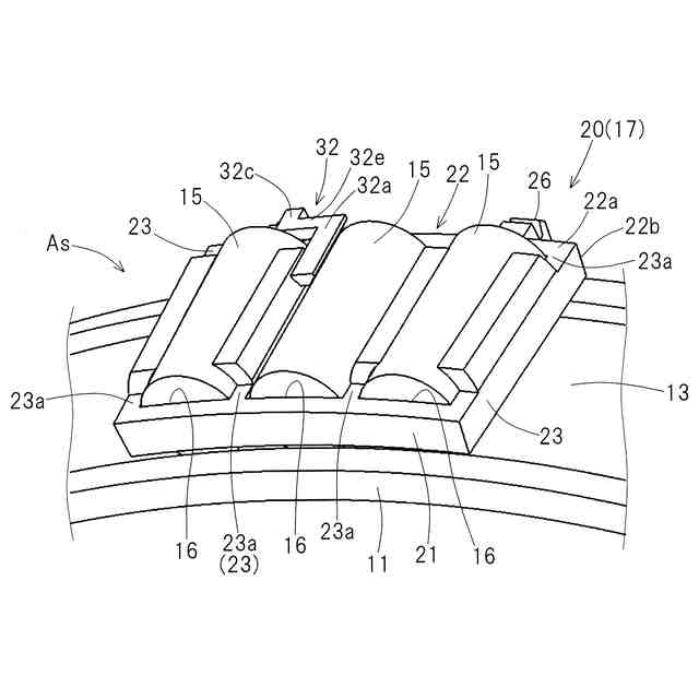
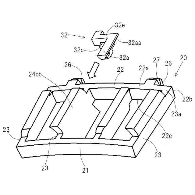
【解決手段】円すいころ軸受は、内外輪と、円すいころ15と、円すいころ15を保持する保持器17とを備え、保持器17は周方向に分割され連結される複数の保持器セグメント20を有する。保持器セグメント20は、周方向に延びる大径側弧状部22および小径側弧状部21と、大径側および小径側弧状部22,21を接続する複数の柱部23とを有する。ポケット16に収容された円すいころ15の外径側への脱落を防止する脱落防止部材32を、保持器セグメント20に着脱可能に備える。脱落防止部材32は、円すいころ15の外径面と接触する柱状部32aと、大径側弧状部22の大径側側面22bおよび内径面に係合するセグメント係合部32cと、柱状部32aとセグメント係合部32cを異なる周方向位置に繋ぐ梁部32eとを有する。
【選択図】図3
特許請求の範囲
【請求項1】
内輪と、外輪と、これら内輪および外輪間に介在された複数の円すいころと、前記円すいころを保持する保持器とを備え、前記保持器は周方向に分割され連結される複数の保持器セグメントを有し、前記保持器セグメントは、前記円すいころを収納する周方向に並ぶポケットを複数有し、
前記保持器セグメントは、周方向に延びる大径側弧状部および小径側弧状部と、これら大径側および小径側弧状部を接続する複数の柱部とを有し、前記大径側弧状部、小径側弧状部および柱部により前記ポケットが構成された円すいころ軸受であって、
前記ポケットに収容された前記円すいころの外径側への脱落を防止する脱落防止部材を、前記保持器セグメントに着脱可能に備え、前記脱落防止部材は、前記円すいころの外径面と接触する柱状部と、前記大径側弧状部の大径側側面および内径面に係合するセグメント係合部と、これら柱状部とセグメント係合部を異なる周方向位置に繋ぐ梁部とを有する円すいころ軸受。
続きを表示(約 740 文字)
【請求項2】
請求項1に記載の円すいころ軸受において、前記保持器セグメントは、前記柱部から内径側に延びる第1案内爪を有するポケット、および前記柱部から外径側に延びる第2案内爪を有するポケットを有し、前記脱落防止部材は、前記第1案内爪を有するポケットに収容された前記円すいころの外径側への脱落を防止する円すいころ軸受。
【請求項3】
請求項1または請求項2に記載の円すいころ軸受において、前記梁部は、前記大径側弧状部の外径面上に配置される円すいころ軸受。
【請求項4】
請求項1または請求項2に記載の円すいころ軸受において、前記複数の保持器セグメントは着脱可能な連結部材により連結され、前記脱落防止部材は、前記連結部材が着脱可能に係合される案内部を有する円すいころ軸受。
【請求項5】
請求項4に記載の円すいころ軸受において、前記保持器セグメントは、前記連結部材が着脱可能に係合される係合部を含む突出部を複数備える円すいころ軸受。
【請求項6】
請求項5に記載の円すいころ軸受において、前記連結部材の両端部が、締結部または締結部材により連結されている円すいころ軸受。
【請求項7】
請求項6に記載の円すいころ軸受において、前記保持器セグメントにおける前記複数の突出部のうち、いずれか1つの突出部と他の突出部との間に、前記締結部または締結部材が配置される円すいころ軸受。
【請求項8】
請求項1または請求項2に記載の円すいころ軸受において、前記保持器セグメントは、炭素繊維を配合したポリエーテルエーテルケトンまたはガラス繊維を配合したポリエーテルエーテルケトンである円すいころ軸受。
発明の詳細な説明
【技術分野】
【0001】
本発明は、風力発電装置の主軸受用の円すいころ軸受や、産業機械用の円すいころ軸受、特に外径1mを超えるような大型の円すいころ軸受に関する。
続きを表示(約 2,000 文字)
【背景技術】
【0002】
円すいころ軸受には、一般的に鋼板の保持器が使用される。鋼板の保持器は、例えば、プレス加工により製作されるが、外径が1mを超えるような大型のものでは、設備上の都合によりプレス加工が難しくなる。一方、削り出しで製作される保持器では、プレス加工品と比較して、大幅なコストアップとなり、マテリアルロスの観点からも無駄が多くなる。このためコストを抑えるために、樹脂の射出成型により複数の保持器セグメントを成形し、これらを組み立てたセグメント保持器が提案された(例えば、特許文献1)。
【0003】
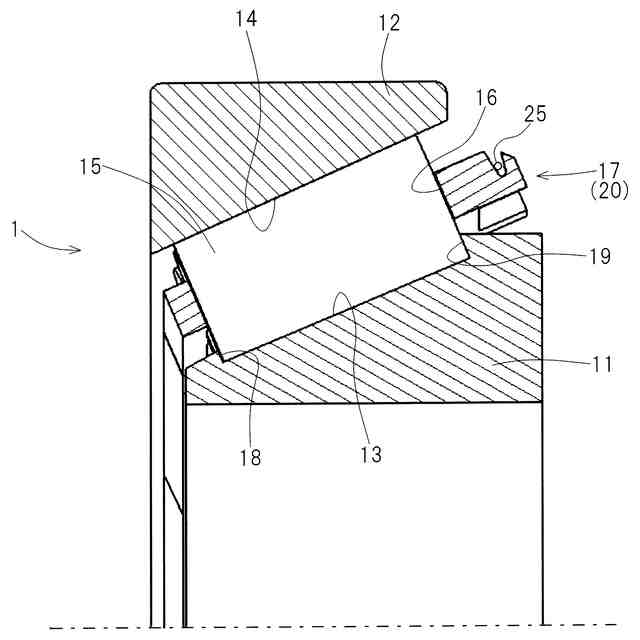
このようなセグメント保持器の場合、例えば、客先にて単列円すいころ軸受を風車に組み込む際、小端面を下にした状態で内輪アッシーを取り扱う工程がある。このとき、保持器からころが脱落しないないように、セグメント保持器をワイヤー等のような連結部材で連結する。さらに図20のように、ポケット16に挿入されたころが外径側へ脱落することを脱落防止部材100で防止することで内輪アッシーを分散させずに取り扱う手法が考案されている(例えば、特許文献2)。
【先行技術文献】
【特許文献】
【0004】
特許第4342512号公報
特開2022-179448号公報
【発明の概要】
【発明が解決しようとする課題】
【0005】
従来の発明では大径側弧状部の外径面と内径面に脱落防止部材を挿通する穴を有する突起を設ける必要がある。この穴はセグメントのポケットとは別方向を向くため、射出成形性に使用する金型の構造が複雑になり成形性が悪化する。また、この突起により軸受運転時に潤滑材を多くかき出し、潤滑性の悪化が懸念される。
【0006】
本発明の目的は、セグメント保持器の成形性と潤滑性を向上することができる円すいころ軸受を提供することである。
【課題を解決するための手段】
【0007】
本発明の円すいころ軸受は、内輪と、外輪と、これら内輪および外輪間に介在された複数の円すいころと、前記円すいころを保持する保持器とを備え、前記保持器は周方向に分割され連結される複数の保持器セグメントを有し、前記保持器セグメントは、前記円すいころを収納する周方向に並ぶポケットを複数有し、
前記保持器セグメントは、周方向に延びる大径側弧状部および小径側弧状部と、これら大径側および小径側弧状部を接続する複数の柱部とを有し、前記大径側弧状部、小径側弧状部および柱部により前記ポケットが構成された円すいころ軸受であって、
前記ポケットに収容された前記円すいころの外径側への脱落を防止する脱落防止部材を、前記保持器セグメントに着脱可能に備え、前記脱落防止部材は、前記円すいころの外径面と接触する柱状部と、前記大径側弧状部の大径側側面および内径面に係合するセグメント係合部と、これら柱状部とセグメント係合部を異なる周方向位置に繋ぐ梁部とを有する円すいころ軸受。
【0008】
この構成によると、円すいころ軸受を組み立てる際、脱落防止部材の柱状部およびセグメント係合部等により、保持器セグメントに対する脱落防止部材の径方向、周方向および軸方向の移動が制限され得る。このため保持器セグメントの弧状部の外径面に脱落防止部材を挿通する突起を設ける必要がなく、従来構造よりもセグメント保持器の成形性と潤滑性を向上することができる。
脱落防止部材は、柱状部とセグメント係合部を異なる周方向位置に繋ぐ梁部を有する。このため、複数の保持器セグメントをワイヤー等の連結部材で縛って一体化するとき、連結部材の端部同士を締結する締結部または締結部材を設ける周方向の作業空間を確保することが可能となる。柱状部とセグメント係合部が梁部により異なる周方向位置に配置されているため、円すいころ軸受の組立完了後に、前記締結部または締結部材を取り外す作業空間も確保し得る。したがって、従来構造と同等の組立性を確保することができる。
【0009】
前記保持器セグメントは、前記柱部から内径側に延びる第1案内爪を有するポケット、および前記柱部から外径側に延びる第2案内爪を有するポケットを有し、前記脱落防止部材は、前記第1案内爪を有するポケットに収容された前記円すいころの外径側への脱落を防止してもよい。
【0010】
この場合、各保持器セグメントの外径側に第2案内爪が延びるポケットに収容された円すいころは、前記第2案内爪によって脱落を防止し得る。前記内径側に延びる第1案内爪を有するポケットに収容された円すいころは、脱落防止部材によって脱落を防止し得る。保持器は、第1および第2案内爪により、運転時に円すいころだけで案内されるので、ころ案内を実現できる。
(【0011】以降は省略されています)
この特許をJ-PlatPat(特許庁公式サイト)で参照する
関連特許
NTN株式会社
基板
2か月前
NTN株式会社
玉軸受
1か月前
NTN株式会社
玉軸受
2か月前
NTN株式会社
ハンド
2か月前
NTN株式会社
軸受装置
1か月前
NTN株式会社
焼結軸受
1か月前
NTN株式会社
密封装置
1か月前
NTN株式会社
作業装置
1か月前
NTN株式会社
軸受装置
1か月前
NTN株式会社
焼成軸受
1か月前
NTN株式会社
焼成軸受
1か月前
NTN株式会社
軸受装置
1か月前
NTN株式会社
軸受装置
1か月前
NTN株式会社
把持装置
2か月前
NTN株式会社
把持装置
2か月前
NTN株式会社
軸受装置
2か月前
NTN株式会社
転がり軸受
1か月前
NTN株式会社
転がり軸受
2か月前
NTN株式会社
転がり軸受
2か月前
NTN株式会社
ボールねじ
27日前
NTN株式会社
焼入れ方法
26日前
NTN株式会社
荷積込装置
1か月前
NTN株式会社
転がり軸受
1か月前
NTN株式会社
等速自在継手
2か月前
NTN株式会社
回転伝達装置
1か月前
NTN株式会社
シール付軸受
1か月前
NTN株式会社
回転伝達装置
1か月前
NTN株式会社
回転伝達装置
1か月前
NTN株式会社
状態監視装置
2か月前
NTN株式会社
基板取付構造
2か月前
NTN株式会社
車輪用軸受装置
1か月前
NTN株式会社
円すいころ軸受
2か月前
NTN株式会社
リンク作動装置
1か月前
NTN株式会社
保持器付きころ
2か月前
NTN株式会社
モータユニット
2か月前
NTN株式会社
ボールねじ装置
27日前
続きを見る
他の特許を見る