TOP
|
特許
|
意匠
|
商標
特許ウォッチ
Twitter
他の特許を見る
10個以上の画像は省略されています。
公開番号
2025136939
公報種別
公開特許公報(A)
公開日
2025-09-19
出願番号
2024035879
出願日
2024-03-08
発明の名称
等速自在継手
出願人
NTN株式会社
代理人
個人
,
個人
主分類
F16D
3/84 20060101AFI20250911BHJP(機械要素または単位;機械または装置の効果的機能を生じ維持するための一般的手段)
要約
【課題】ブーツの長寿命化を図ることができ、しかも、グリースの外部への流出を有効に防止できて、長期にわたって、潤滑性能を維持することができる等速自在継手を提供する。
【解決手段】シャフトが、その軸方向のスライドを可能として内嵌されるスリーブ内環と、内側継手部材に固定されてシャフトに外嵌されるスリーブ外環とを備える。スリーブ外環とこれに対向するシャフトとの間に、前記スリーブ内環がスライド可能として嵌入されるすきま部が形成される。スリーブ内環のブーツ内嵌部がすきま部に嵌入状態が維持されて、常時、前記スリーブ外環と前記スリーブ内環とはオーバーラップ部位を有する。
【選択図】図2
特許請求の範囲
【請求項1】
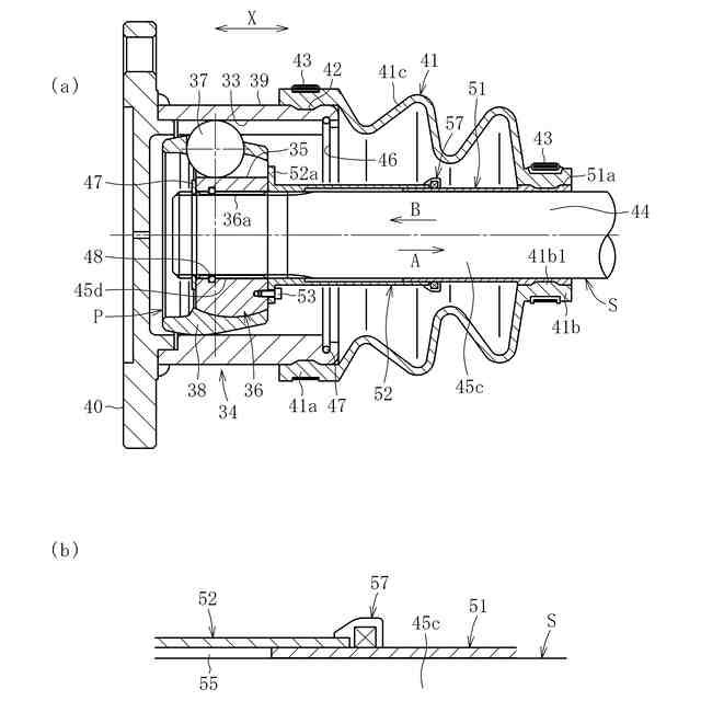
外側継手部材と、内側継手部材と、前記外側継手部材と前記内側継手部材との間に介在されるトルク伝達部材とを備え、前記内側継手部材と前記トルク伝達部材とを有する内部部品が前記外側継手部材に軸方向の摺動を可能として収容され、かつ、シャフトが前記内部部品の内側継手部材に連結されて、一方の開口端部が前記外側継手部材の開口部に装着されるともに、他方の開口端部が前記シャフトに装着されるブーツにて継手内部が密封される等速自在継手であって、
反内部部品側の端部が前記ブーツの他方の開口端部の内径部とシャフトの外径面との間に介在された状態で前記ブーツに内装されて、前記シャフトが、その軸方向のスライドを可能として嵌入されるスリーブ内環と、
前記スリーブ内環と反対側の端部が前記内部部品の内側継手部材に固定されて前記シャフトが嵌入されるスリーブ外環とを備え、
前記スリーブ外環とこれに対向するシャフトとの間に、前記スリーブ内環がスライド可能として嵌入されるすきま部が形成され、前記スリーブ内環のブーツ内嵌部が前記すきま部への嵌入状態が維持されて、常時、前記スリーブ外環と前記スリーブ内環とはオーバーラップ部位を有することを特徴とする等速自在継手。
続きを表示(約 170 文字)
【請求項2】
前記スリーブ外環のスリーブ内環側の端縁部に、外径側に突出する周方向突起部を設けたことを特徴とする請求項1に記載の等速自在継手。
【請求項3】
前記スリーブ外環のスリーブ内環側の端縁部に、前記スリーブ外環とスリーブ内環との間を密封するシール部材を配置したことを特徴とする請求項1に記載の等速自在継手。
発明の詳細な説明
【技術分野】
【0001】
本発明は、等速自在継手に関し、特に、鉄鋼や製紙や化学プラント等に使用される産業機械用の等速自在継手に関する。
続きを表示(約 1,900 文字)
【背景技術】
【0002】
産業機械の回転伝達部に用いられる動力伝達機構は、軸方向に離間して配設された一対の等速自在継手と、両等速自在継手を連結する中間軸(シャフト)とを備えたものである。等速自在継手には、角度変位のみを許容する固定式等速自在継手と、角度変位のみならず軸方向変位も許容する摺動式等速自在継手とがある。
【0003】
ところが、摺動式等速自在継手は、角度変位のみならず軸方向変位を許容するものであるので、外側継手部材の開口部を密閉する密封装置(例えば、ブーツ)に、これらの変位に対して、変位することになる。
【0004】
すなわち従来の摺動式等速自在継手は、図9に示すように、円筒状内周面に複数の直線状トラック溝3が軸方向に沿って形成された外側継手部材4と、球面状外周面に複数の直線状トラック溝5が外側継手部材4のトラック溝3と対をなして軸方向に沿って形成された内側継手部材6と、外側継手部材4のトラック溝3と内側継手部材6のトラック溝5との間に介在してトルクを伝達するトルク伝達部材としての複数のボール7と、外側継手部材4の円筒状内周面と内側継手部材6の球面状外周面との間に介在してボール7を保持するケージ8とを備えたものである。
【0005】
各外側継手部材4は、円筒状内周面にトラック溝3が形成された筒状本体部9と、この筒状本体部9の一方の開口部側に設けられるフランジ部10とからなる。また、筒状本体部9の他方の開口部は、ブーツ11にて塞がれている。ブーツ11は、大径部(一方の開口部)11aと、小径部(他方の開口部)11bと、大径部11aと小径部11bとを連結する蛇腹部11cとからなる。大径部11aが、筒状本体部9の他方の開口部の凹周溝を有するブーツ装着部12に外嵌されて、この状態でブーツバンド13にて締め付けられる。
【0006】
また、シャフトSには、凹周溝を有するブーツ装着部14が設けられ、このブーツ装着部14にブーツ11の小径部11bが外嵌されて、この状態でブーツバンド13にて締め付けられる。なお、外側継手部材4の内周面開口端部には、内部部品(内側継手部材6とケージ8とボール7等)Pの抜け止めとしての止め輪17が付設されている。すなわち、外側継手部材4の筒状本体部9の内径面の開口側には、周方向凹溝16が設けられ、この周方向凹溝16に止め輪17が装着されている。
【0007】
中間軸(シャフト)Sの端部には、雄スプライン15dが形成され、その雄スプライン15dが各内側継手部材6の軸孔に嵌入される。各内側継手部材6の軸孔の内径面には雌スプライン6aが形成されている。このため、シャフトSの雄スプライン15dが各内側継手部材6の軸孔に嵌入によって、各内側継手部材6の雌スプライン6aに噛合する。
【0008】
また、シャフトSの両端にある各雄スプライン15dには、一対の止め輪21,22が装着される。すなわち、雄スプライン15dの継手奥側及び継手開口側に周方向凹溝が形成され、各周方向凹溝にそれぞれ止め輪21,22が嵌着されている。このため、この一対の止め輪21,22間に内側継手部材6が介在されることになる。これによって、シャフトSの内側継手部材6からの抜けが防止される。したがって、内部部品Pは外側継手部材4内を、矢印X方向(軸方向)に往復動可能となっている。
【0009】
このような構成では、図9の実線で示すように、内部部品Pが外側継手部材4の中央部に配置される中立状態(ブーツが伸縮してない状態)から内部部品Pのボール7が仮想線7aで示す位置にスライドした際には、すなわち、内部部品Pが継手奥側へスライドした際には、シャフトSも一体的に継手奥側へスライドする。シャフトSが継手奥側へスライドすれば、シャフトSに固着されているブーツ11の小径部11bも継手奥側へ移動することになる。このため、ブーツ11は圧縮された状態となる。
【0010】
また、内部部品Pが外側継手部材4の中央部に配置される中立状態(ブーツが伸縮してない状態)から内部部品Pのボール7が仮想線7bで示す位置にスライドした際には、すなわち、内部部品Pが継手開口側へスライドした際には、シャフトSも一体的に継手開口側へスライドする。シャフトSが継手開口側へスライドすれば、シャフトSに固着されているブーツ11の小径部11bも継手開口側へ移動することになる。このため、ブーツ11は伸びた状態となる。
(【0011】以降は省略されています)
この特許をJ-PlatPat(特許庁公式サイト)で参照する
関連特許
NTN株式会社
ハンド
11日前
NTN株式会社
玉軸受
3日前
NTN株式会社
把持装置
11日前
NTN株式会社
把持装置
11日前
NTN株式会社
密封装置
9日前
NTN株式会社
軸受装置
3日前
NTN株式会社
軸受装置
3日前
NTN株式会社
作業装置
9日前
NTN株式会社
焼結軸受
3日前
NTN株式会社
軸受装置
3日前
NTN株式会社
軸受装置
3日前
NTN株式会社
荷積込装置
4日前
NTN株式会社
転がり軸受
4日前
NTN株式会社
転がり軸受
11日前
NTN株式会社
転がり軸受
3日前
NTN株式会社
状態監視装置
10日前
NTN株式会社
回転伝達装置
9日前
NTN株式会社
回転伝達装置
4日前
NTN株式会社
回転伝達装置
4日前
NTN株式会社
シール付軸受
9日前
NTN株式会社
車輪用軸受装置
4日前
NTN株式会社
車輪用軸受装置
9日前
NTN株式会社
リンク作動装置
5日前
NTN株式会社
状態監視システム
10日前
NTN株式会社
軸受装置及び間座
4日前
NTN株式会社
電動オイルポンプ
10日前
NTN株式会社
ブーツ付等速自在継手
2日前
NTN株式会社
シェル形針状ころ軸受
5日前
NTN株式会社
等速自在継手用ブーツ
2日前
NTN株式会社
軸受装置および機械装置
2日前
NTN株式会社
流量制御バルブ用シール
11日前
NTN株式会社
トリポード型等速自在継手
10日前
NTN株式会社
転がり軸受および軸受装置
10日前
NTN株式会社
等速自在継手の外側継手部材
2日前
NTN株式会社
転がり軸受およびスリンガ部材
10日前
NTN株式会社
状態監視装置、および診断方法
10日前
続きを見る
他の特許を見る