TOP
|
特許
|
意匠
|
商標
特許ウォッチ
Twitter
他の特許を見る
10個以上の画像は省略されています。
公開番号
2025150626
公報種別
公開特許公報(A)
公開日
2025-10-09
出願番号
2024051618
出願日
2024-03-27
発明の名称
軸受装置
出願人
NTN株式会社
代理人
個人
,
個人
,
個人
,
個人
主分類
F16C
41/00 20060101AFI20251002BHJP(機械要素または単位;機械または装置の効果的機能を生じ維持するための一般的手段)
要約
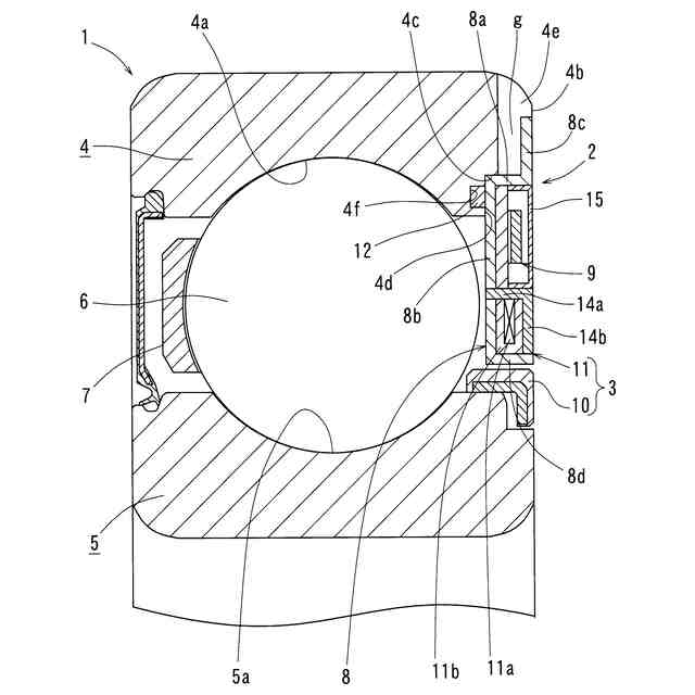
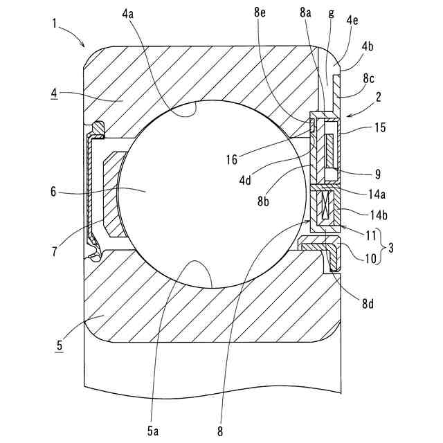
【課題】軌道輪にセンサ等のホルダを固定する際の軌道輪及びホルダの変形を低減すると共にホルダの再利用が容易な軸受装置を提供する。
【解決手段】転がり軸受1の第一の軌道輪4は、基板9a、センサ9b、9c、回路9d、9e等を設置可能なホルダ8を径方向に支える嵌合部4cと、ホルダ8を軸方向に支える段部4dとを有する。嵌合部4cとホルダ8はすきまばめされている。ホルダ8を磁気吸引力によって第一の軌道輪4に固定する少なくとも一つの永久磁石12がホルダ8と軌道輪4との間に配置される。
【選択図】図1
特許請求の範囲
【請求項1】
第一の軌道輪と、第二の軌道輪と、前記第一の軌道輪と前記第二の軌道輪との間に配置された複数の転動体とを有する転がり軸受と、
前記第一の軌道輪に接続され、基板、センサ、回路等を設置可能なホルダと、を備え、
前記第一の軌道輪が、前記ホルダを径方向に支える嵌合部と、前記ホルダを軸方向に支える段部とを有する軸受装置において、
前記ホルダを磁気吸引力によって前記第一の軌道輪に固定するように当該ホルダと当該第一の軌道輪との間に配置される少なくとも一つの永久磁石をさらに備えることを特徴とする軸受装置。
続きを表示(約 630 文字)
【請求項2】
前記第一の軌道輪の前記嵌合部と前記ホルダとがすきまばめされており、
前記少なくとも一つの永久磁石が軸方向の磁気吸引力によって前記ホルダを前記第一の軌道輪に固定するように配置されている請求項1に記載の軸受装置。
【請求項3】
前記第一の軌道輪及び前記ホルダがそれぞれ磁性体からなる請求項1又は2に記載の軸受装置。
【請求項4】
前記ホルダと前記第一の軌道輪とのうちの少なくとも一方の部材が、前記永久磁石を埋め込めるように前記段部に対して軸方向に凹んだ窪み部を含む請求項3に記載の軸受装置。
【請求項5】
互いに周方向に隣接しかつ互いに相反する極性に配置された対の前記永久磁石を備える請求項3又は4に記載の軸受装置。
【請求項6】
前記第一の軌道輪に固定された前記永久磁石と、前記ホルダに固定された前記永久磁石とを備え、
前記第一の軌道輪に固定された永久磁石と前記ホルダに固定された永久磁石とが、互いに異なる極を向け合うように配置されている請求項1から4のいずれか1項に記載の軸受装置。
【請求項7】
前記ホルダが、前記嵌合部に嵌る周部と、前記周部から径方向に突き出た突起部とを有し、
前記第一の軌道輪が、前記突起部との間に軸方向隙間を形成しかつ前記突起部と周方向に隙間なく嵌め合う切欠き部を有する請求項1から4のいずれか1項に記載の軸受装置。
発明の詳細な説明
【技術分野】
【0001】
この発明は、転がり軸受とセンサユニットとを備える軸受装置に関する。
続きを表示(約 1,400 文字)
【背景技術】
【0002】
従来、転がり軸受の状態を検出するためのセンサ等を基板に実装してセンサ付き回路基板に構成し、その回路基板をホルダに保持させてセンサユニットに組み立て、そのセンサユニットを軌道輪に固定した軸受装置が知られている。
【0003】
その回路基板に電力を供給する発電機のステータをセンサユニットに設ける場合、そのホルダにステータのヨーク機能をもたせる場合がある。また、軸受の振動を検出する場合等、軸受の状態検出においてホルダを軌道輪と所定の同軸度を確保した状態に配置することが好ましい場合もある。このような場合、そのホルダは、環状体とされ、軌道輪の内外周の一方に嵌合されている。
【0004】
また、交流直流変換の電源回路を基板に実装したり、無線通信回路を基板に実装したり、複数のセンサを基板に実装したりする等、センサユニットの高機能化を図るために回路基板の面積を大きくしたい場合もある。このような場合、ホルダには、径方向に延びる環状側部と、環状側部の軌道輪側から軸方向に延びる嵌合用の周部とを設け、環状側部に回路基板を取り付け、周部を軌道輪に圧入する固定構造を採用することにより、回路基板の面積を大きく得つつ、センサユニットの軸方向の幅を抑えることも行われている。
【0005】
前述のようなホルダは、圧入に耐える強度を確保するため、一般に金属製のものであり、特に、ホルダにヨーク機能をもたせる場合、鉄系の磁性体製のものである。
【0006】
例えば、特許文献1のセンサ付軸受装置は、ホルダにヨーク機能をもたせ、振動センサ、温度センサ、電源回路、無線通信回路等を周方向に長い基板上に実装した回路基板に構成し、その回路基板をホルダの環状側部の転動体側の側面上に取り付け、ホルダの周部と軌道輪を互いの円筒面同士で嵌合固定している。
【先行技術文献】
【特許文献】
【0007】
特開2003-307435号公報
【発明の概要】
【発明が解決しようとする課題】
【0008】
特許文献1のセンサ付軸受装置のように、ホルダと軌道輪の互いの円筒面同士を嵌合固定する場合、接着剤を用いて固定すると、接着前の脱脂作業が必要になる等、軸受装置の組み立てが煩雑になる。
【0009】
ホルダと軌道輪の互いの円筒面同士を圧入すれば、接着剤を用いる場合よりも簡単に固定することは可能だが、軌道輪とホルダ間の径方向の締め代が過大になると、互いの圧入が難しくなり、また、圧入時の押圧荷重で軌道面の変形やホルダの変形を招き、転がり軸受やセンサユニットの性能面に悪影響を及ぼす可能性がある。特に、ホルダをプレス等で製作した場合、ホルダの公差幅が機械加工に比して大きくなるため、圧入作業が難しくなる懸念が高まる。さらに、軸受が破損した場合、センサユニットを再利用しようとすると、圧入したホルダを軌道輪から引き抜く必要があるが、その引き抜きが困難であり、また、引き抜き時にホルダが塑性変形して再利用が困難となる問題がある。
【0010】
上述の背景に鑑み、この発明が解決しようとする課題は、軌道輪にセンサ等のホルダを固定する際の軌道輪及びホルダの変形を低減すると共にホルダの再利用が容易な軸受装置を提供することである。
【課題を解決するための手段】
(【0011】以降は省略されています)
この特許をJ-PlatPat(特許庁公式サイト)で参照する
関連特許
NTN株式会社
焼成軸受
1か月前
NTN株式会社
ボールねじ
27日前
NTN株式会社
焼入れ方法
26日前
NTN株式会社
円すいころ軸受
27日前
NTN株式会社
ボールねじ装置
27日前
NTN株式会社
ボールねじ装置
27日前
NTN株式会社
密封装置付き軸受
24日前
NTN株式会社
転動部材及び転動部品
3日前
NTN株式会社
転がり軸受の設計方法
1か月前
NTN株式会社
環状部品の抜け止め構造
27日前
NTN株式会社
転がり軸受の耐電食性能評価方法
1か月前
NTN株式会社
転がり軸受の耐電食性能評価方法
1か月前
NTN株式会社
窒化ケイ素焼結体、機械部品および軸受
3日前
NTN株式会社
損傷状態診断システムおよび損傷状態診断方法
1か月前
NTN株式会社
車輪用軸受装置
1か月前
NTN株式会社
ボールねじ装置及びこれを備えた電動アクチュエータ
11日前
個人
留め具
1か月前
個人
鍋虫ねじ
3か月前
個人
紛体用仕切弁
3か月前
個人
回転伝達機構
3か月前
個人
差動歯車用歯形
5か月前
個人
ジョイント
2か月前
個人
給排気装置
1か月前
株式会社不二工機
電磁弁
5か月前
個人
ナット
2か月前
個人
ナット
26日前
個人
地震の揺れ回避装置
4か月前
個人
ゲート弁バルブ
11日前
個人
吐出量監視装置
3か月前
カヤバ株式会社
ダンパ
5か月前
カヤバ株式会社
緩衝器
1か月前
兼工業株式会社
バルブ
27日前
柿沼金属精機株式会社
分岐管
3か月前
カヤバ株式会社
緩衝器
4か月前
カヤバ株式会社
緩衝器
4か月前
カヤバ株式会社
ダンパ
5か月前
続きを見る
他の特許を見る