TOP
|
特許
|
意匠
|
商標
特許ウォッチ
Twitter
他の特許を見る
公開番号
2025140447
公報種別
公開特許公報(A)
公開日
2025-09-29
出願番号
2024039857
出願日
2024-03-14
発明の名称
モータユニット
出願人
NTN株式会社
代理人
個人
,
個人
主分類
H02K
5/22 20060101AFI20250919BHJP(電力の発電,変換,配電)
要約
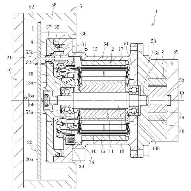
【課題】組立性が良好なモータユニットを提供する。
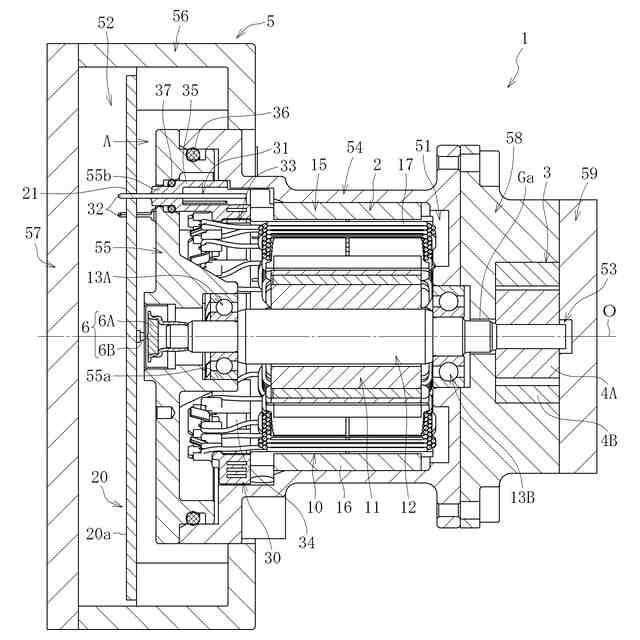
【解決手段】電動モータ10と、電動モータ10の軸方向に対して直交する方向に沿って配置された制御基板20と、モータ収容室51、基板収容室52、及び両収容室51,52の間に設けられた隔壁としてのモータカバー55を有するハウジング5とを備え、コイル17に結線された軸方向のピン状端子32を、モータカバー55に設けた端子挿通孔55bを介して制御基板20に設けた端子挿入孔21に挿入することにより、コイル17と制御基板20(の制御部)とが電気的に接続されるモータユニット2である。ピン状端子32は、これを絶縁保持した端子保持部53及びその外周に設けられた環状の弾性シール37を介してモータカバー55に保持されている。
【選択図】図1
特許請求の範囲
【請求項1】
三相モータからなる電動モータと、
前記電動モータの軸方向に対して直交する方向に沿って配置された制御基板と、
前記電動モータを収容したモータ収容室、前記制御基板を収容した基板収容室、及び前記モータ収容室と前記基板収容室の間に設けられた隔壁を有するハウジングと、を備え、
前記電動モータのステータコイルに結線された軸方向に延びるピン状端子を、前記隔壁に設けた端子挿通孔を介して前記制御基板に設けた端子挿入孔に挿入することにより、前記ステータコイルと前記制御基板とが電気的に接続されるモータユニットであって、
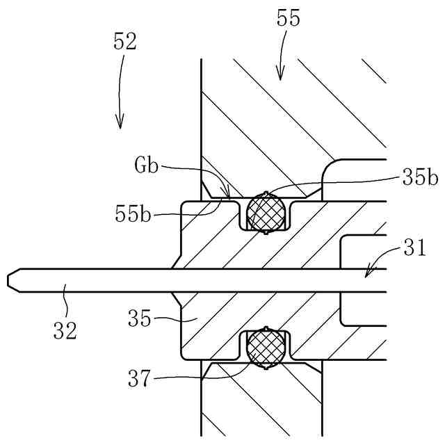
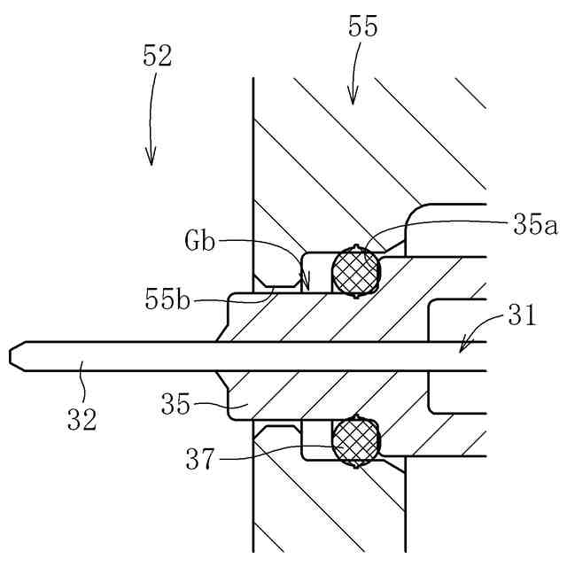
前記ピン状端子は、これを内周に絶縁保持した端子保持部、及びその外周に設けられた環状の弾性シールを介して前記隔壁に保持されていることを特徴とするモータユニット。
続きを表示(約 530 文字)
【請求項2】
前記隔壁を含む前記ハウジングは金属で形成され、
前記ピン状端子は、前記端子保持部の基板収容室側の端部を基板収容室内に突出させた状態で前記隔壁に保持されている請求項1に記載のモータユニット。
【請求項3】
前記端子保持部の外周面に、前記弾性シールを収容した環状溝が設けられている請求項1に記載のモータユニット。
【請求項4】
それぞれが前記ピン状端子、及び対応するステータコイルの端末部との結線用端子を有する計三つのバスバーと、前記電動モータと前記隔壁の軸方向間で計三つのバスバーを互いに非接触の状態で絶縁保持した保持部材とをさらに備え、前記端子保持部が、前記保持部材と一体に樹脂で型成形されている請求項1に記載のモータユニット。
【請求項5】
前記隔壁は、前記電動モータの出力軸の支持軸受が装着される円筒状の軸受装着面を有する請求項1に記載のモータユニット。
【請求項6】
前記ハウジングは、前記電動モータの出力軸に装着されるポンプロータを収容するポンプ収容室をさらに有し、前記モータ収容室と前記ポンプ収容室とが径方向隙間を介して連通している請求項1に記載のモータユニット。
発明の詳細な説明
【技術分野】
【0001】
本発明は、モータユニットに関する。
続きを表示(約 2,500 文字)
【背景技術】
【0002】
例えば下記の特許文献1には、モータユニットと、モータユニットの出力を受けて駆動されるポンプユニットとを備えた車両用の電動ポンプが記載されている。上記モータユニットは、三相モータからなる電動モータと、電動モータの軸方向と直交する方向(径方向)に沿って配置され、電動モータの作動を制御する制御部が設けられた基板(制御基板)と、電動モータ及び制御基板を互いに隔絶した状態で収容したハウジングとを備えており、モータステータに設けられた三相のコイル(U相、V相及びW相コイル)の端末部を制御基板に設けられた対応する孔部に直接挿入することにより、コイルと制御基板(に設けられた制御部)とが電気的に接続される。つまり、特許文献1のモータユニットでは、コイルを構成するコイル線の端末部が電動モータの動力線として機能する。
【0003】
特許文献1のモータユニットにおいては、制御基板に対するコイル線の端末部の接続作業を簡便に実施可能とすべく、電動モータと制御基板との軸方向間に、コイル線の端末部を制御基板の孔部に向けて軸方向に案内しつつ所定の位置・姿勢で保持する樹脂製のコイルガイドを設けている。このコイルガイドは、ハウジングの内部空間を電動モータの収容室と制御基板の収容室とに区分する隔壁としての機能と、モータ収容室の一端開口部を封口する蓋部材としての機能とを併せ持つ。そのため、コイルガイドには、軸方向の貫通孔からなり、コイル線の端末部を軸方向に案内する案内部と、コイルガイドの一端面又は他端面のうち案内部が開口する領域に設けられたポッティング領域と、ポッティング領域に充填されたポッティング材とが設けられる。
【0004】
係る構成によれば、コイルガイドの案内部にコイル線(の端末部)が挿入された後、ポッティング領域に充填されたポッティング材によってコイル線と案内部の間の隙間が封止され、モータ収容室と基板収容室とが液密的に区分される。このため、仮にポンプユニットを収容したポンプ収容室からモータ収容室にオイル等の流体(絶縁流体)が浸入した場合でも、案内部(上記隙間)を介しての基板収容室への絶縁流体の浸入、さらには制御基板に対する絶縁流体の付着を防止し、所定のモータ出力、ひいてはポンプ能力を安定的に維持・発揮することができるようになっている。
【先行技術文献】
【特許文献】
【0005】
特開2023-4064号公報
【発明の概要】
【発明が解決しようとする課題】
【0006】
特許文献1のモータユニットのように、電動モータの軸方向外側にモータの制御基板を配置する場合には、モータ収容室と基板収容室の軸方向間に隔壁及び蓋部材として機能する部材(コイルガイド)を設けると共に、このコイルガイドに対して動力線を精度良く保持させる必要がある。しかしながら、特許文献1の構成上、コイルガイドに対して動力線を保持させる際には、軸方向の貫通孔からなる案内部に対するコイル線の端末部の挿入及び位置決めや、ポッティング領域に対するポッティング材の充填及び硬化などを精度良く実施する必要があるため、モータユニットの組立工程が煩雑でコスト高となり易い。
【0007】
上記の実情に鑑み、本発明の主な目的は、組立性に優れたモータユニットを提供することにある。
【課題を解決するための手段】
【0008】
上記の目的を達成するために創案された本発明は、
三相モータからなる電動モータと、
電動モータの軸方向に対して直交する方向に沿って配置された制御基板と、
電動モータを収容したモータ収容室、制御基板を収容した基板収容室、及びモータ収容室と基板収容室の間に設けられた隔壁を有するハウジングと、を備え、
電動モータのステータコイルに結線された軸方向に延びるピン状端子を、隔壁に設けた端子挿通孔を介して制御基板に設けた端子挿入孔に挿入することにより、ステータコイルと制御基板とが電気的に接続されるモータユニットであって、
ピン状端子は、これを内周に絶縁保持した端子保持部、及び端子保持部の外周に設けられた環状の弾性シールを介して隔壁に保持されていることを特徴とする。
【0009】
上記の構成によれば、モータユニットの組立時にハウジングのモータ収容室の開口部を隔壁で封口する(ハウジングの内部空間を隔壁によってモータ収容室と基板収容室とに区分する)に当たり、ピン状端子を内周に保持した端子保持部の外周に環状の弾性シールを設けておけば、隔壁に対するポッティング材の充填作業、及び充填したポッティング材の硬化作業等を行うことなく、ピン状端子(外周に弾性シールを装着した端子保持部に保持されたピン状端子)を隔壁の端子挿通孔に挿通させるだけで、隔壁の端子挿通孔をシールすることができる。また、端子保持部で保持されたピン状端子を隔壁の端子挿通孔に挿通させ、モータ収容室の開口を隔壁で封口すると、隔壁及び弾性シールによってピン状端子をハウジングに対して位置決めすることができる。そのため、基板に設けた端子挿入孔に対するピン状端子の挿入作業、すなわちステータコイルと制御基板の電気的な接続作業をスムーズに完了することができる。従って、本発明によれば、組立性に優れ、低コストに製造(量産)可能なモータユニットを実現することができる。
【0010】
高い耐久性を具備し、信頼性に富むモータユニットを実現する上では、隔壁を含め、ハウジングを金属製とするのが好ましい。この場合、ピン状端子は、端子保持部の基板収容室側の端部を基板収容室内に突出させた状態で隔壁(の端子挿通孔)に保持させるのが好ましい。これにより、例えば端子保持部と隔壁の基板収容室側の端部を面一とする場合に比べ、ハウジングの隔壁とピン状端子間の沿面距離を長くすることができるので、ハウジングの隔壁とピン状端子の間の絶縁性を高めることができる。
(【0011】以降は省略されています)
この特許をJ-PlatPat(特許庁公式サイト)で参照する
関連特許
個人
単極モータ
13日前
株式会社アイシン
ロータ
17日前
株式会社アイシン
ロータ
13日前
西部電機株式会社
充電装置
20日前
日星電気株式会社
ケーブル組立体
5日前
西部電機株式会社
充電装置
20日前
日本精機株式会社
サージ保護回路
20日前
トヨタ自動車株式会社
固定子
18日前
株式会社デンソー
回転機
11日前
トヨタ自動車株式会社
製造装置
18日前
個人
連続ガウス加速器形磁力増幅装置
20日前
株式会社ダイヘン
充電装置
17日前
株式会社ミツバ
ブラシレスモータ
19日前
株式会社アイシン
ステータ
17日前
株式会社アイシン
ステータ
17日前
株式会社アイシン
ステータ
17日前
株式会社ダイヘン
充電装置
17日前
株式会社アイシン
ステータ
17日前
東京瓦斯株式会社
通信装置
19日前
株式会社ダイヘン
充電装置
17日前
株式会社ダイヘン
充電装置
17日前
カヤバ株式会社
筒型リニアモータ
19日前
個人
太陽エネルギー収集システム
18日前
個人
二次電池繰返パルス放電器用印刷基板
3日前
トヨタ自動車株式会社
被膜形成装置
18日前
株式会社kaisei
発電システム
13日前
株式会社ダイヘン
電力システム
20日前
株式会社ミツバ
回転電機
10日前
株式会社ダイヘン
電力変換装置
20日前
株式会社ミツバ
回転電機
17日前
東京瓦斯株式会社
給電システム
19日前
株式会社デンソー
電力変換装置
12日前
株式会社デンソー
電力変換装置
4日前
ASTI株式会社
電力変換装置
18日前
株式会社ダイヘン
インバータ装置
12日前
株式会社アイシン
回転電機
20日前
続きを見る
他の特許を見る