TOP
|
特許
|
意匠
|
商標
特許ウォッチ
Twitter
他の特許を見る
公開番号
2025151840
公報種別
公開特許公報(A)
公開日
2025-10-09
出願番号
2024053441
出願日
2024-03-28
発明の名称
製造装置
出願人
トヨタ自動車株式会社
代理人
個人
主分類
H02K
15/10 20250101AFI20251002BHJP(電力の発電,変換,配電)
要約
【課題】スロット紙の座屈の発生を抑制すること。
【解決手段】基部31と、基部31からスロット紙2に向けて突出する突出部32と、を有する、背面パンチ13と、背面パンチ13との間でスロット紙2を挟んで、ダイス11の中空部21にスロット紙2を折り曲げながら引き込む成形パンチ12と、中空部21に挿入しながら、折り曲げられたスロット紙2の角部2b,2cを押圧する挿入プッシャ14と、を備え、挿入プッシャ14は、スロット紙の第1の角部2bを押圧する第1の押圧部41と、第2の角部2cを押圧する第2の押圧部42と、を有し、背面パンチ13の突出部32は、スロット紙2の第1の角部2bと第2の角部2cの間の背面部2aに当接するとともに、第1の角部2bから第2の角部2cまでの長さに対して、同一の方向に半分以下の長さの幅で形成されている。
【選択図】図1
特許請求の範囲
【請求項1】
基部と、前記基部から、スロット紙に向けて突出する突出部と、を有する、背面パンチと、
前記背面パンチとの間でスロット紙を挟んで、ダイスの中空部に前記スロット紙を折り曲げながら引き込む成形パンチと、
前記中空部に挿入しながら、前記折り曲げられたスロット紙の角部を押圧する挿入プッシャと、を備え、
前記挿入プッシャは、
前記折り曲げられたスロット紙の第1の角部を押圧する第1の押圧部と、第2の角部を押圧する第2の押圧部と、を有し、
前記背面パンチの前記突出部は、
前記折り曲げられたスロット紙の前記第1の角部と前記第2の角部の間の背面部に当接するとともに、前記第1の角部から前記第2の角部までの長さに対して、同一の方向に、半分以下の長さの幅で形成されている、
製造装置。
発明の詳細な説明
【技術分野】
【0001】
本開示は、ステータの製造装置に関する。
続きを表示(約 1,300 文字)
【背景技術】
【0002】
近年、ステータとロータから構成されるモータが広く利用されている。ステータでは、ステータコアのスロット部にコイルを格納するが、このスロットに絶縁紙であるスロット紙を挿入することが行われている。
【0003】
特許文献1には、寸法が長い絶縁紙をステータコアのスロット内にスムースに挿入することができる方法について開示されている。
【先行技術文献】
【特許文献】
【0004】
特開2014-135865号公報
【発明の概要】
【発明が解決しようとする課題】
【0005】
スロット紙は、ステータのスロット内に挿入させる際に座屈する場合がある。そのため一般に、スロット紙の座屈が発生しにくくするために、スロット紙において、搬送方向に折りグセをつける手法などがある。しかしながら、折りグセを付ける方法は、スロット紙をステータに挿入する際に用いる治具側による対策方法ではなく、スロット紙の形状に依存した対策であり、治具側においてスロット紙の座屈への対策を行う余地があった。
【0006】
本開示は、スロット紙の座屈の発生を抑制したステータの製造装置を提供するものである。
【課題を解決するための手段】
【0007】
本開示にかかる製造装置は、基部と、前記基部から、スロット紙に向けて突出する突出部と、を有する、背面パンチと、前記背面パンチとの間でスロット紙を挟んで、ダイスの中空部に前記スロット紙を折り曲げながら引き込む成形パンチと、前記中空部に挿入しながら、前記折り曲げられたスロット紙の角部を押圧する挿入プッシャと、を備え、前記挿入プッシャは、前記折り曲げられたスロット紙の第1の角部を押圧する第1の押圧部と、第2の角部を押圧する第2の押圧部と、を有し、前記背面パンチの前記突出部は、前記折り曲げられたスロット紙の前記第1の角部と前記第2の角部の間の背面部に当接するとともに、前記前記背面部の幅である前記第1の角部から前記第2の角部までの長さに対して、同一の方向に、半分以下の長さの幅で形成されている、
これにより、挿入プッシャは、折り曲げられたスロット紙の角部を押圧することができる。
【発明の効果】
【0008】
本開示よれば、スロット紙の座屈の発生を抑制することができる製造装置を提供することができる。
【図面の簡単な説明】
【0009】
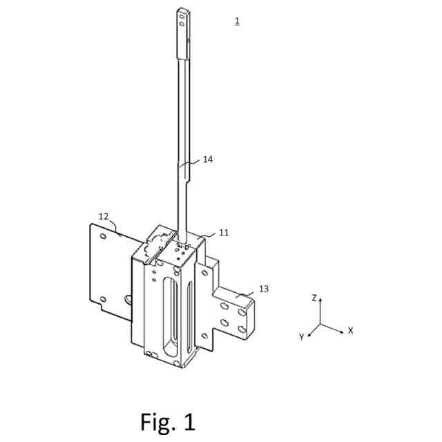
実施の形態1にかかる製造装置の一例を示す図である。
実施の形態1にかかるスロット紙を成形する過程を示す図である。
実施の形態1にかかるスロット紙に当接する挿入プッシャを示す図である。
【発明を実施するための形態】
【0010】
実施の形態1
以下、図面を参照して本実施の形態に係るステータの製造装置について説明する。図1は、ステータコアのスロットに対して、スロット紙2を成形して挿入する製造装置1の一例を示した図である。
(【0011】以降は省略されています)
この特許をJ-PlatPat(特許庁公式サイト)で参照する
関連特許
トヨタ自動車株式会社
方法
2日前
トヨタ自動車株式会社
椅子
2日前
トヨタ自動車株式会社
車両
1日前
トヨタ自動車株式会社
車両
6日前
トヨタ自動車株式会社
電池
8日前
トヨタ自動車株式会社
車両
7日前
トヨタ自動車株式会社
電池
9日前
トヨタ自動車株式会社
方法
2日前
トヨタ自動車株式会社
電磁弁
2日前
トヨタ自動車株式会社
電動車
2日前
トヨタ自動車株式会社
モータ
今日
トヨタ自動車株式会社
ケース
8日前
トヨタ自動車株式会社
加熱器
6日前
トヨタ自動車株式会社
固定子
7日前
トヨタ自動車株式会社
判定装置
2日前
トヨタ自動車株式会社
二次電池
7日前
トヨタ自動車株式会社
車載装置
6日前
トヨタ自動車株式会社
通話装置
6日前
トヨタ自動車株式会社
制御装置
6日前
トヨタ自動車株式会社
蓄電装置
6日前
トヨタ自動車株式会社
監視装置
7日前
トヨタ自動車株式会社
車両構造
6日前
トヨタ自動車株式会社
ロボット
9日前
トヨタ自動車株式会社
製造装置
7日前
トヨタ自動車株式会社
路側装置
8日前
トヨタ自動車株式会社
バッテリ
7日前
トヨタ自動車株式会社
蓄電装置
8日前
トヨタ自動車株式会社
バッテリ
7日前
トヨタ自動車株式会社
制御装置
8日前
トヨタ自動車株式会社
塗工装置
7日前
トヨタ自動車株式会社
電動車両
今日
トヨタ自動車株式会社
ガスタンク
6日前
トヨタ自動車株式会社
三角表示板
6日前
トヨタ自動車株式会社
車両下部構造
2日前
トヨタ自動車株式会社
車両制御装置
7日前
トヨタ自動車株式会社
車両制御装置
2日前
続きを見る
他の特許を見る