TOP
|
特許
|
意匠
|
商標
特許ウォッチ
Twitter
他の特許を見る
公開番号
2025158713
公報種別
公開特許公報(A)
公開日
2025-10-17
出願番号
2024061529
出願日
2024-04-05
発明の名称
飛行体
出願人
トヨタ自動車株式会社
代理人
弁理士法人酒井国際特許事務所
主分類
B64D
25/00 20060101AFI20251009BHJP(航空機;飛行;宇宙工学)
要約
【課題】適切な位置でバッテリを切り離すことができる飛行体を提供する。
【解決手段】飛行体1は、プロセッサを備える。このプロセッサは、飛行体の飛行中に複数の高電圧バッテリいずれかの異常を検出した場合、安全地点まで移動し、異常を検出した高電圧バッテリを安全地点で離脱させる。
【選択図】図1
特許請求の範囲
【請求項1】
複数の高電圧バッテリで構成された高電圧バッテリユニットにより駆動する飛行体であって、
前記飛行体の駆動を制御するプロセッサを備え、
前記プロセッサは、
前記飛行体の飛行中に前記複数の高電圧バッテリいずれかの異常を検出した場合、安全地点まで移動し、
異常を検出した前記高電圧バッテリを前記安全地点で離脱させる、
飛行体。
発明の詳細な説明
【技術分野】
【0001】
本開示は、飛行体に関する。
続きを表示(約 1,300 文字)
【背景技術】
【0002】
特許文献1には、全ての飛行ルートを回りつつ、飛行中のバッテリ切れを防止する技術が開示されている。
【先行技術文献】
【特許文献】
【0003】
特開2018-55463号公報
【発明の概要】
【発明が解決しようとする課題】
【0004】
ところで、飛行体では、電力供給に第1バッテリおよび第2バッテリを離れた位置に配置し、第1バッテリおよび第2バッテリの一方に異常が発生した場合、異常が発生したバッテリを飛行中に切り離している。しかしながら、バッテリは、重く発熱体であるため、周囲への影響を考慮して適切な場所で切り離す必要があり、改善の余地があった。
【0005】
本開示は、上記に鑑みてなされたものであって、適切な位置でバッテリを切り離すことができる飛行体を提供することを目的とする。
【課題を解決するための手段】
【0006】
上記した課題を解決し、目的を達成するために、本開示に係る飛行体は、複数の高電圧バッテリで構成された高電圧バッテリユニットにより駆動する飛行体であって、前記飛行体の駆動を制御するプロセッサを備え、前記プロセッサは、前記飛行体の飛行中に前記複数の高電圧バッテリいずれかの異常を検出した場合、安全地点まで移動し、異常を検出した前記高電圧バッテリを前記安全地点で離脱させる。
【発明の効果】
【0007】
本開示によれば、バッテリを適切な位置で切り離すことができるという効果を奏する。
【図面の簡単な説明】
【0008】
図1は、一実施の形態に係る飛行体の概略構成を示す図である。
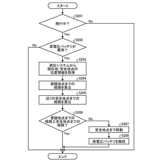
図2は、一実施の形態に係る飛行体が実行する処理の概要を説明するフローチャートである。
図3は、一実施の形態の変形例に飛行体が実行する処理の概要を説明するフローチャートである。
【発明を実施するための形態】
【0009】
以下、本開示の実施の形態に係る飛行体について、図面を参照しながら説明する。なお、下記の実施の形態における構成要素は、当業者が置換可能かつ容易なもの、あるいは実質的に同一のものが含まれる。また、以下の説明において参照する各図は、本開示の内容を理解でき得る程度に形状、大きさ、および位置関係を概略的に示してあるに過ぎない。即ち、本開示は、各図で例示された形状、大きさおよび位置関係のみに限定されるものではない。
【0010】
〔飛行体の構成〕
図1は、一実施の形態に係る飛行体の概略構成を示す図である。図1に示す飛行体1は、飛行体1を前方に進めようとする力である推力、飛行体1を上方に引っ張り、浮き上がらせようとする力である揚力、飛行体1を下方に引っ張ろうとする力である重力および飛行体1を後方に引っ張ろうとする力である抵抗力を制御することによって飛行することができる。
(【0011】以降は省略されています)
特許ウォッチbot のツイートを見る
この特許をJ-PlatPat(特許庁公式サイト)で参照する
関連特許
トヨタ自動車株式会社
車両
10日前
トヨタ自動車株式会社
電池
2日前
トヨタ自動車株式会社
電池
2日前
トヨタ自動車株式会社
電動車
10日前
トヨタ自動車株式会社
蓄電装置
2日前
トヨタ自動車株式会社
エンジン
2日前
トヨタ自動車株式会社
蓄電装置
2日前
トヨタ自動車株式会社
蓄電装置
3日前
トヨタ自動車株式会社
蓄電装置
2日前
トヨタ自動車株式会社
蓄電装置
2日前
トヨタ自動車株式会社
塗工装置
2日前
トヨタ自動車株式会社
蓄電装置
2日前
トヨタ自動車株式会社
蓄電装置
2日前
トヨタ自動車株式会社
制御装置
2日前
トヨタ自動車株式会社
エンジン
10日前
トヨタ自動車株式会社
蓄電装置
2日前
トヨタ自動車株式会社
蓄電装置
2日前
トヨタ自動車株式会社
蓄電装置
2日前
トヨタ自動車株式会社
蓄電装置
3日前
トヨタ自動車株式会社
処理装置
2日前
トヨタ自動車株式会社
蓄電装置
2日前
トヨタ自動車株式会社
蓄電装置
10日前
トヨタ自動車株式会社
蓄電装置
10日前
トヨタ自動車株式会社
蓄電装置
10日前
トヨタ自動車株式会社
反応容器
10日前
トヨタ自動車株式会社
車両装置
2日前
トヨタ自動車株式会社
制御装置
10日前
トヨタ自動車株式会社
蓄電装置
2日前
トヨタ自動車株式会社
判定装置
10日前
トヨタ自動車株式会社
蓄電装置
2日前
トヨタ自動車株式会社
蓄電装置
2日前
トヨタ自動車株式会社
蓄電装置
2日前
トヨタ自動車株式会社
熱利用回路
4日前
トヨタ自動車株式会社
正極活物質
4日前
トヨタ自動車株式会社
正極活物質
4日前
トヨタ自動車株式会社
支援ロボット
2日前
続きを見る
他の特許を見る