TOP
|
特許
|
意匠
|
商標
特許ウォッチ
Twitter
他の特許を見る
公開番号
2025154698
公報種別
公開特許公報(A)
公開日
2025-10-10
出願番号
2024057842
出願日
2024-03-29
発明の名称
車載装置
出願人
トヨタ自動車株式会社
代理人
個人
,
個人
,
個人
,
個人
主分類
G08G
1/00 20060101AFI20251002BHJP(信号)
要約
【課題】他車両が排水をした地点と重複する場所に排水をすることを防止する。
【解決手段】車載装置は、車両に搭載される車載装置であって、通信部と、測位部と、制御部とを備える。通信部は、上記車両とは異なる1つ以上の他車両が排水を行った1つ以上の第1排水位置を示す第1排水位置情報を取得可能に構成される。測位部は、上記車両の現在位置を示す現在位置情報を取得又は生成可能に構成される測位部と、第1排水位置情報及び現在位置情報に基づいて、1つ以上の第1排水位置から離れた場所を、上記車両が排水をする第2排水位置に決定する。制御部は、通信部を介して、第2排水位置を示す第2排水位置情報を、上記車両の外部へ送信可能に構成される。
車載装置。
【選択図】図2
特許請求の範囲
【請求項1】
車両に搭載される車載装置であって、
前記車両とは異なる1つ以上の他車両が排水を行った1つ以上の第1排水位置を示す第1排水位置情報を取得可能に構成される通信部と、
前記車両の現在位置を示す現在位置情報を取得又は生成可能に構成される測位部と、
前記第1排水位置情報及び前記現在位置情報に基づいて、前記1つ以上の前記第1排水位置から離れた場所を、前記車両が排水をする第2排水位置に決定する制御部とを備え、
前記制御部は、前記通信部を介して、前記第2排水位置を示す第2排水位置情報を、前記車両の外部へ送信可能に構成される
車載装置。
発明の詳細な説明
【技術分野】
【0001】
本開示は、車載装置に関する。
続きを表示(約 1,400 文字)
【背景技術】
【0002】
燃料電池車両は、水素ガスと空気中の酸素とを用いて発生させた電力を使用して走行する。このとき、水素ガスと酸素との反応に伴い、副生成物として水(以下、「生成水」とする。)が生成される。燃料電池車両は、走行とともに生成し貯留された生成水を、何れかの場所で排出する必要がある。しかし、外気温が低い場合、排出された生成水が、道路上で凍結する可能性がある。交差点等の車両が制動及び/又は発進する場所で、燃料電池車両から生成水が排出されると、生成水が道路上で凍結することが懸念される。このため、特許文献1では、車両が交通規則に従って停止する停止位置を表す停止位置情報を取得し、燃料電池車両の現在位置が停止位置と近接関係にある場合、生成水を排水しないように制御することが提案されている。
【先行技術文献】
【特許文献】
【0003】
特開2020-43021号公報
【発明の概要】
【発明が解決しようとする課題】
【0004】
一方、交差点等の特定の場所以外であっても、外気温が低いとき複数の燃料電池車両が重複した場所で生成水を排水すると、路面に排出された生成水が滞留し凍結する虞がある。路面が凍結すると、道路を通行する車両のタイヤがスリップして、事故に繋がる危険性がある。このため、燃料電池車両が生成水を排出する場所は、分散していることが好ましい。
【0005】
かかる事情に鑑みてなされた本開示の目的は、他車両が排水をした地点と重複する場所に排水をすることを防止することができる車載装置を提供することにある。
【課題を解決するための手段】
【0006】
本開示の一実施形態に係る車載装置は、車両に搭載される車載装置であって、前記車両とは異なる1つ以上の他車両が排水を行った1つ以上の第1排水位置を示す第1排水位置情報を取得可能に構成される通信部と、前記車両の現在位置を示す現在位置情報を取得又は生成可能に構成される測位部と、前記第1排水位置情報及び前記現在位置情報に基づいて、前記1つ以上の前記第1排水位置から離れた場所を、前記車両が排水をする第2排水位置に決定する制御部とを備え、前記制御部は、前記通信部を介して、前記第2排水位置を示す第2排水位置情報を、前記車両の外部へ送信可能に構成されることを特徴とするものである。
【発明の効果】
【0007】
本開示によれば、他車両が排水をした地点と重複する場所に排水をすることを防止することができる車載装置を提供することができる。
【図面の簡単な説明】
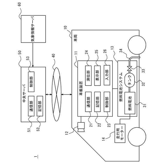
【0008】
本開示の一実施形態に係る排水システムの概略構成を示すブロック図である。
図1に示す車載装置の動作の一例を示すフローチャートである。
【発明を実施するための形態】
【0009】
以下、本開示の一実施形態について、図面を参照して説明する。なお、以下の説明で用いられる図は模式的なものである。図面上の寸法、比率及び配置等は現実のものとは一致していない。
【0010】
(システム全体の構成)
図1に示すように、本開示の一実施形態に係る排水システム1は、少なくとも一台の車両10と中央サーバ50とを含む。
(【0011】以降は省略されています)
この特許をJ-PlatPat(特許庁公式サイト)で参照する
関連特許
個人
安全支援装置
16日前
日本精機株式会社
警報システム
2か月前
個人
自動電動車椅子
2か月前
株式会社SUBARU
車両
1か月前
スズキ株式会社
運転支援装置
2か月前
エムケー精工株式会社
車両誘導装置
2か月前
ニッタン株式会社
検知器
2か月前
個人
磁気路上での車両の路線離脱防御
1か月前
ニッタン株式会社
検知器
2か月前
ニッタン株式会社
検知器
2か月前
株式会社国際電気
防災システム
2か月前
ニッタン株式会社
検知器
1か月前
日本無線株式会社
船舶システム
17日前
株式会社小糸製作所
移動体検出装置
2か月前
トヨタ自動車株式会社
サーバ
25日前
ダイハツ工業株式会社
移動支援装置
1か月前
トヨタ自動車株式会社
サーバ
1か月前
日本信号株式会社
異常走行検出装置
1か月前
株式会社SUBARU
運転支援装置
1か月前
大阪瓦斯株式会社
音声出力システム
1か月前
三菱自動車工業株式会社
制御システム
1か月前
株式会社CCT
通信装置及び表示方法
1か月前
株式会社小糸製作所
車両検出システム
2か月前
日本精機株式会社
報知装置及び報知システム
2か月前
株式会社デンソー
運航管理装置
1か月前
株式会社SUBARU
事故情報収集装置
1か月前
能美防災株式会社
火災感知器
2か月前
株式会社 ミックウェア
車内環境制御システム
1か月前
ホーチキ株式会社
火災検出システム
1か月前
能美防災株式会社
非常伝達装置
2か月前
ヨシモトポール株式会社
接近報知システム
2か月前
株式会社SUBARU
車室内異常検知装置
1か月前
株式会社豊田中央研究所
注意喚起装置
2か月前
シャープ株式会社
駐車制御装置
1か月前
能美防災株式会社
火災感知器及び火災報知システム
1か月前
株式会社関電工
車両運行通知システム
1か月前
続きを見る
他の特許を見る