TOP
|
特許
|
意匠
|
商標
特許ウォッチ
Twitter
他の特許を見る
公開番号
2025144830
公報種別
公開特許公報(A)
公開日
2025-10-03
出願番号
2024044698
出願日
2024-03-21
発明の名称
制御装置
出願人
トヨタ自動車株式会社
代理人
個人
,
個人
,
個人
主分類
H01M
10/44 20060101AFI20250926BHJP(基本的電気素子)
要約
【課題】複数種類の二次電池における蓄電状態を推定するにあたって、蓄電量が下限近くなっても蓄電状態の推定精度を高める。
【解決手段】
蓄電装置2は、複数種類の二次電池211,221と、二次電池211,221の放電順序を決定する制御装置23と、を備える。制御装置23は、二次電池211,221全体の蓄電状態を示す値が閾値以下となった場合に、蓄電状態の推定精度が相対的に高い高精度電池211よりも、蓄電状態の推定精度が相対的に低い低精度電池221を優先的に放電させる。
【選択図】図1
特許請求の範囲
【請求項1】
複数種類の二次電池と、
前記複数種類の二次電池の放電順序を決定する制御装置と、を備え、
前記制御装置は、前記複数種類の二次電池全体の蓄電状態を示す値が閾値以下となった場合に、前記複数種類の二次電池に含まれ蓄電状態の推定精度が相対的に高い高精度電池よりも、前記複数種類の二次電池に含まれ蓄電状態の推定精度が相対的に低い低精度電池を優先的に放電させる、蓄電装置。
続きを表示(約 300 文字)
【請求項2】
前記制御装置は、前記複数種類の二次電池全体の蓄電状態を示す値が閾値以下となった場合に、前記低精度電池を放電させ、前記高精度電池の放電を抑制する、請求項1に記載の蓄電装置。
【請求項3】
前記制御装置は、前記低精度電池を優先的に放電させた結果、前記低精度電池の蓄電状態を示す値が閾値以下となった場合に、前記低精度電池の放電を抑制し、前記高精度電池を放電させる、請求項2に記載の蓄電装置。
【請求項4】
前記高精度電池は三元系リチウムイオン電池であり、前記低精度電池はリン酸鉄系リチウムイオン電池である、請求項1から3のいずれか1項に記載の蓄電装置。
発明の詳細な説明
【技術分野】
【0001】
本開示は、制御装置に関する。
続きを表示(約 1,400 文字)
【背景技術】
【0002】
蓄電セルのSOC(State Of Charge)や残存容量といった蓄電状態を算出する手法として下記特許文献1に記載されているような電流積算法が知られている。
【先行技術文献】
【特許文献】
【0003】
特開2022-132800号公報
【発明の概要】
【発明が解決しようとする課題】
【0004】
特許文献1では、同種の蓄電セルが複数設けられている場合には、ある程度精度よく蓄電状態を推定することができる。しかしながら、異種の蓄電セルが複数設けられている場合には、電流積算法による蓄電状態の推定精度が高い蓄電セルと、電流積算法による蓄電状態の推定精度が低い蓄電セルとが混在する場合があり、そのような場合には全体としての蓄電状態の推定精度が低下する。全体としての蓄電状態の推定精度が低下すると、推定した蓄電状態よりも実際の蓄電状態が少ない場合も想定される。この状態で蓄電セルからの放電を継続して蓄電状態を推定すると、下限付近において急激な推定値の低下が発生する場合がある。
【0005】
本開示は、複数種類の二次電池における蓄電状態を推定するにあたって、蓄電量が下限近くなっても蓄電状態の推定精度を高めることを目的とする。
【課題を解決するための手段】
【0006】
本開示は、蓄電装置であって、複数種類の二次電池と、複数種類の二次電池の放電順序を決定する制御装置と、を備える。制御装置は、複数種類の二次電池全体の蓄電状態を示す値が閾値以下となった場合に、複数種類の二次電池に含まれ蓄電状態の推定精度が相対的に高い高精度電池よりも、複数種類の二次電池に含まれ蓄電状態の推定精度が相対的に低い低精度電池を優先的に放電させる。
【発明の効果】
【0007】
本開示によれば、複数種類の二次電池における蓄電状態を推定するにあたって、蓄電量が下限近くなっても蓄電状態の推定精度を高めることができる。
【図面の簡単な説明】
【0008】
図1は、本実施形態における蓄電システムを説明するための概略構成図である。
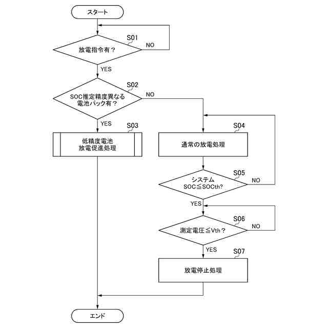
図2は、図1に示される電池統合ECUの処理を説明するためのフローチャートである。
図3は、図1に示される電池統合ECUの処理を説明するためのフローチャートである。
【発明を実施するための形態】
【0009】
以下、添付図面を参照しながら本実施形態について説明する。説明の理解を容易にするため、各図面において同一の構成要素に対しては可能な限り同一の符号を付して、重複する説明は省略する。
【0010】
図1を参照しながら本実施形態における蓄電システムSについて説明する。蓄電システムSは、不図示の発電設備(風力発電、太陽光発電などを含む)によって発電された電力を蓄えるシステムである。蓄電システムSは、不図示の系統に対して、蓄えた電力を供給するシステムでもある。蓄電システムSは、蓄電装置2と、EMS(Energy Management System)3と、PCS(Power Conditioning System)4と、を備えている。
(【0011】以降は省略されています)
この特許をJ-PlatPat(特許庁公式サイト)で参照する
関連特許
個人
安全なNAS電池
1か月前
日本発條株式会社
積層体
6日前
東レ株式会社
多孔質炭素シート
25日前
個人
防雪防塵カバー
6日前
ローム株式会社
半導体装置
2日前
エイブリック株式会社
半導体装置
27日前
エイブリック株式会社
半導体装置
27日前
ローム株式会社
半導体装置
4日前
ローム株式会社
半導体装置
4日前
ローム株式会社
半導体装置
4日前
キヤノン株式会社
電子機器
25日前
ローム株式会社
半導体装置
25日前
太陽誘電株式会社
全固体電池
2日前
ニチコン株式会社
コンデンサ
18日前
株式会社ティラド
面接触型熱交換器
17日前
個人
半導体パッケージ用ガラス基板
5日前
東レ株式会社
ガス拡散層の製造方法
25日前
株式会社GSユアサ
蓄電装置
2日前
株式会社GSユアサ
蓄電装置
6日前
ニチコン株式会社
コンデンサ
18日前
株式会社ホロン
冷陰極電子源
2日前
日本特殊陶業株式会社
保持装置
1か月前
日本特殊陶業株式会社
保持装置
2日前
マクセル株式会社
配列用マスク
17日前
株式会社ヨコオ
コネクタ
27日前
ローム株式会社
電子装置
6日前
TDK株式会社
電子部品
2日前
トヨタ自動車株式会社
二次電池
6日前
日本特殊陶業株式会社
保持装置
6日前
日本特殊陶業株式会社
保持装置
2日前
日本特殊陶業株式会社
保持装置
4日前
ローム株式会社
半導体装置
6日前
株式会社カネカ
正極活物質
6日前
ヒロセ電機株式会社
電気コネクタ
6日前
東レエンジニアリング株式会社
実装装置
2日前
ローム株式会社
半導体装置
6日前
続きを見る
他の特許を見る