TOP
|
特許
|
意匠
|
商標
特許ウォッチ
Twitter
他の特許を見る
公開番号
2025135035
公報種別
公開特許公報(A)
公開日
2025-09-18
出願番号
2022129341
出願日
2022-08-15
発明の名称
面接触型熱交換器
出願人
株式会社ティラド
代理人
主分類
H01L
23/473 20060101AFI20250910BHJP(基本的電気素子)
要約
【課題】 面接触型熱交換器の製造費の低減、およびその熱交換器の小型化。
【解決手段】 平坦な底部1aの外周に縁1cを有するカッププレート1と、 カッププレート1の縁1cに外周が接続される平坦なフランジプレート3と、カッププレート1とフランジプレート3との間に配置されるコア2と、を有し、コア2内に熱媒体5を導く流路4を形成し、カッププレート1の前記底部1aの外面に伝熱面1bを形成し、その伝熱面1bに熱交換対象物6を配置する。
【選択図】図3
特許請求の範囲
【請求項1】
平坦な底部(1a)の外周に縁(1c)を有するカッププレート(1)と、
カッププレート(1)の縁(1c)に外周が接続される平坦なフランジプレート(3)と、
カッププレート(1)とフランジプレート(3)との間に配置されるコア(2)と、
を有し、
コア(2)内に熱媒体(5)を導く流路(4)が形成され、
カッププレート(1)の前記底部(1a)の外面に伝熱面(1b)が形成され、その伝熱面(1b)に熱交換対象物(6)が配置される面接触型熱交換器。
続きを表示(約 68 文字)
【請求項2】
請求項1に記載の面接触型熱交換器において、
熱交換対象物(6)が電子機器である面接触型熱交換器。
発明の詳細な説明
【技術分野】
【0001】
本発明は、面接触型熱交換器に関する。
続きを表示(約 2,300 文字)
【背景技術】
【0002】
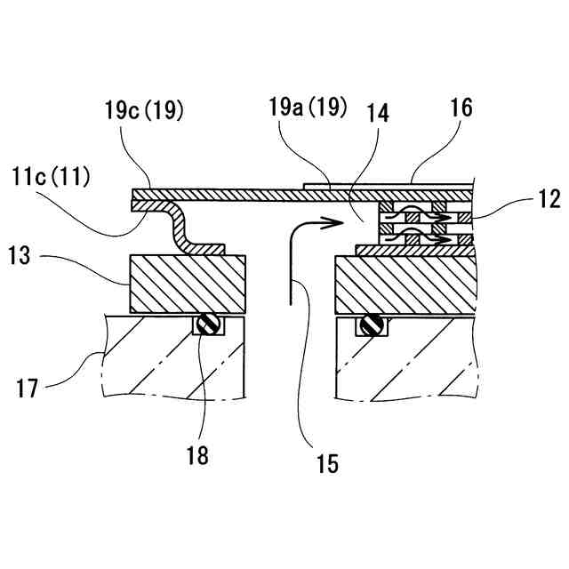
従来知られている面接触型熱交換器においては、図4に示す如く、底部11aを有するカップ状に形成されたカッププレート11と、カッププレート11の底部11aの内側に対向する平坦なトッププレート19とによりケーシングが形成されている。
そして、図5に示す如く、カッププレート11の底部11aの内側とトッププレート19との間には、熱媒体15が流通する流路14が形成され、その流路14にコア12が配置される。トッププレート19の外側には伝熱面19aが形成されており、その伝熱面19aに熱交換対象物16が配置される。
カッププレート11の底部11aの外面側は、図4に示す如く、ボス部13aを有するフランジプレート13に接する。
そして、図6に示す如く、トッププレート19は、カッププレート11を介してフランジプレート13のボス部13aに取付けられる。
そのフランジプレート13は、シール材18を介して筐体17に取付けられる。
【発明の概要】
【発明が解決しようとする課題】
【0003】
従来の面接触型熱交換器のフランジプレート13は、カッププレート11、トッププレート19よりも、板厚が厚く形成されており、成形に多くの工数を必要とする。それとともに、ボス部13aの存在によりフランジプレート13の形状が複雑化し、フランジプレート13の加工費がかかる欠点があった。
また、面接触型熱交換器の部品点数の削減、および小型化が望まれているが、従来の面接触型熱交換器の構造では、トッププレート19を必要とし、そのプレート19の分、高さ寸法が大きくならざるを得ない。
そこで本発明は、面接触型熱交換器の製造費の低減、およびその熱交換器の小型化を課題とする。
【課題を解決するための手段】
【0004】
上記課題を解決するための第1の発明は、平坦な底部1aの外周に縁1cを有するカッププレート1と、
カッププレート1の縁1cに外周が接続される平坦なフランジプレート3と、
カッププレート1とフランジプレート3との間に配置されるコア2と、
を有し、
コア2内に熱媒体5を導く流路4が形成され、
カッププレート1の前記底部1aの外面に伝熱面1bが形成され、その伝熱面1bに熱交換対象物6が配置される面接触型熱交換器である。
【0005】
第2の発明は、第1の発明の面接触型熱交換器において、
熱交換対象物6が電子機器である面接触型熱交換器である。
【発明の効果】
【0006】
第1の発明の面接触型熱交換器は、カッププレート1が平坦な底部1aの外周に縁1cを有するものであり、その縁1cに平坦なフランジプレート3の外周が接続される。そして、カッププレート1の前記底部1aの外面に伝熱面1bが形成され、その伝熱面1bに熱交換対象物6が配置されるものである。
これにより、トッププレート19が不要となり部品点数が減少するとともに、フランジプレート3の形状が簡素となりその加工費が下がるので、面接触型熱交換器の製造費を低減することができる。
また、トッププレート19が不要となったことにより、その厚み分、高さ寸法を抑え、面接触型熱交換器を小型化することができる。
【0007】
第2の発明の面接触型熱交換器は、熱交換対象物6が電子機器であることを特徴とする。
これにより、製造費が少なく、かつ、占有空間(高さ)の少ない面接触型熱交換器で、電子機器を冷却することが可能となる。
【図面の簡単な説明】
【0008】
本発明の面接触型熱交換器の分解斜視図。
同面接触型熱交換器を筐体に設置した状態を示す斜視図。
図2のIII―III矢視断面図。
従来の面接触型熱交換器の分解斜視図。
図4のV―V矢視断面図。
図4のVI―VI矢視断面図。
【発明を実施するための形態】
【0009】
次に、図面に基づいて本発明の実施の形態につき説明する。
本発明の面接触型熱交換器は、特に、電動車両のインバータ等の電子機器を冷却するための電子機器冷却器として好適である。
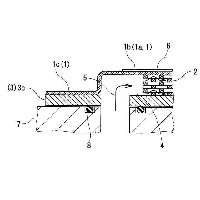
この面接触型熱交換器は、図1に示す如く、平坦な底部1aを有するカップ状に形成されたカッププレート1と、カッププレート1の内部に配置されるコア2と、カッププレート1の底部1aの内側に対向する平坦なフランジプレート3と、を具備する。
カッププレート1の底部1aの内側とフランジプレート3との間には、熱媒体5が流通する流路4が形成され、カッププレート1の底部1aの外面に熱交換対象物6を配置する平坦な伝熱面1bが形成されている。
【0010】
フランジプレート3は、カッププレート1よりも厚く形成されるが、図4、図6のボス部13aを廃止し、平坦に形成されているため、従来の面接触型熱交換器よりもフランジプレート3の加工費が下がる。
フランジプレート3は、本実施例の面接触型熱交換器のケーシングの一部を形成する。
フランジプレート3は、その縁3cとカッププレート1の縁1cとが接続された状態で、図2、図3に示す如く、シール材8を介して、筐体7に取付けられる。
(【0011】以降は省略されています)
この特許をJ-PlatPat(特許庁公式サイト)で参照する
関連特許
個人
フレキシブル電気化学素子
5日前
株式会社ユーシン
操作装置
5日前
日新イオン機器株式会社
イオン源
1日前
ローム株式会社
半導体装置
12日前
ローム株式会社
半導体装置
7日前
株式会社GSユアサ
蓄電設備
5日前
株式会社GSユアサ
蓄電設備
5日前
株式会社ホロン
冷陰極電子源
12日前
太陽誘電株式会社
全固体電池
12日前
太陽誘電株式会社
コイル部品
5日前
株式会社GSユアサ
蓄電装置
12日前
オムロン株式会社
電磁継電器
6日前
サクサ株式会社
電池の固定構造
5日前
TDK株式会社
電子部品
12日前
日本特殊陶業株式会社
保持装置
12日前
日本特殊陶業株式会社
保持装置
12日前
トヨタ自動車株式会社
蓄電装置
5日前
日東電工株式会社
積層体
6日前
日本特殊陶業株式会社
保持装置
14日前
ノリタケ株式会社
熱伝導シート
5日前
トヨタ自動車株式会社
バッテリ
6日前
日本特殊陶業株式会社
電極
12日前
古河電気工業株式会社
端子
5日前
株式会社ダイヘン
搬送装置
5日前
日本製紙株式会社
導電性フィルム
6日前
日本特殊陶業株式会社
電極
12日前
日本特殊陶業株式会社
電極
12日前
東レエンジニアリング株式会社
実装装置
12日前
日本製紙株式会社
導電性フィルム
6日前
TDK株式会社
コイル部品
14日前
ローム株式会社
半導体装置
7日前
ローム株式会社
半導体装置
7日前
SMK株式会社
キートップ及びスイッチ
7日前
日本特殊陶業株式会社
電極
12日前
TDK株式会社
コイル部品
12日前
日東電工株式会社
電子装置
8日前
続きを見る
他の特許を見る