TOP
|
特許
|
意匠
|
商標
特許ウォッチ
Twitter
他の特許を見る
10個以上の画像は省略されています。
公開番号
2025149606
公報種別
公開特許公報(A)
公開日
2025-10-08
出願番号
2024050356
出願日
2024-03-26
発明の名称
半導体装置
出願人
ローム株式会社
代理人
個人
,
個人
主分類
H01L
23/50 20060101AFI20251001BHJP(基本的電気素子)
要約
【課題】絶縁破壊の発生を低減することが可能な半導体装置を提供する。
【解決手段】半導体装置A1は、第1半導体素子11と、第2半導体素子12と、第1リード31と、第2リード32と、第1ワイヤ41と、を備える。第1リード31は、第1半導体素子11と電気的に接続されている。第2リード32は、第2半導体素子12と電気的に接続され且つ第1リード31から離隔している。第1ワイヤ41は、第1半導体素子11と第2半導体素子12とを電気的に接続する。第1ワイヤ41は、第1半導体素子11に接合された第1端部411と、第2半導体素子12に接合された第2端部412と、を有する。第1端部411は、第1半導体素子11の厚さ方向zにおいて、第2端部412と異なる位置に配置されている。
【選択図】図8
特許請求の範囲
【請求項1】
第1半導体素子と、
第2半導体素子と、
前記第1半導体素子と電気的に接続された第1リードと、
前記第2半導体素子と電気的に接続され且つ前記第1リードから離隔した第2リードと、
前記第1半導体素子と前記第2半導体素子とを電気的に接続する第1ワイヤと、を備え、
前記第1ワイヤは、前記第1半導体素子に接合された第1端部と、前記第2半導体素子に接合された第2端部と、を有し、
前記第1端部は、前記第1半導体素子の厚さ方向において、前記第2端部と異なる位置にある、半導体装置。
続きを表示(約 1,000 文字)
【請求項2】
前記第1半導体素子の前記厚さ方向の寸法は、前記第2半導体素子の前記厚さ方向の寸法より大きい、請求項1に記載の半導体装置。
【請求項3】
前記第1半導体素子は、第1半導体基板を有し、
前記第2半導体素子は、第2半導体基板を有し、
前記第1半導体基板の前記厚さ方向の寸法は、前記第2半導体基板の前記厚さ方向の寸法より大きい、請求項2に記載の半導体装置。
【請求項4】
スペーサをさらに備え、
前記スペーサは、前記第1半導体素子および前記第1リードの間に配置されている、請求項1に記載の半導体装置。
【請求項5】
前記スペーサは、前記第1リードに導通する、請求項4に記載の半導体装置。
【請求項6】
前記第1リードは、前記第1半導体素子が搭載された第1アイランド部を含み、
前記第2リードは、前記第2半導体素子が搭載された第2アイランド部を含み、
前記第1アイランド部は、前記厚さ方向に直交する第1方向に見て、前記第2アイランド部と重なる、請求項1に記載の半導体装置。
【請求項7】
前記第1リードおよび前記第2リードを覆う封止樹脂をさらに備え、
前記第1リードは、1つ以上の第1端子部を含み、
前記1つ以上の第1端子部は、前記封止樹脂に覆われた被覆部と、前記封止樹脂から露出し且つ前記被覆部に繋がる露出部と、を含み、
前記被覆部は、前記第1アイランド部に繋がる、請求項6に記載の半導体装置。
【請求項8】
前記第1リードは、前記第1半導体素子が搭載される第1搭載面を含み、
前記第2リードは、前記第2半導体素子が搭載される第2搭載面を含み、
前記第1方向に見て、前記第1搭載面は、前記第2搭載面と重ならない、請求項6に記載の半導体装置。
【請求項9】
前記第1リードは、前記第1方向に見て屈曲した第1屈曲部を含み、
前記第2リードは、前記第1方向に見て屈曲した第2屈曲部を含み、
前記第1屈曲部の水平面に対するなす内角は、前記第2リードの水平面に対するなす内角より大きい、請求項8に記載の半導体装置。
【請求項10】
前記第1アイランド部は、前記第1搭載面から前記厚さ方向に突出する凸部を有する、請求項8に記載の半導体装置。
(【請求項11】以降は省略されています)
発明の詳細な説明
【技術分野】
【0001】
本開示は、半導体装置に関する。
続きを表示(約 3,100 文字)
【背景技術】
【0002】
電気自動車または家電機器には、インバータ装置が用いられている。インバータ装置は、たとえば半導体装置と、IGBT(Insulated Gate Bipolar Transistor)またはMOSFET(Metal Oxide Semiconductor Field Effect Transistor)などのスイッチング素子とを備える。当該半導体装置は、制御素子および駆動素子を含む。前記インバータ装置においては、ECU(Engine Control Unit)から出力された制御信号が、前記半導体素子の制御素子に入力されると、制御素子によってPWM(Pulse Width Modulation)制御信号に変換される。変換された制御信号は、前記半導体素子の駆動素子に伝送される。駆動素子は、PWM制御信号に基づき、複数のスイッチング素子の駆動を制御する。複数のスイッチング素子が例えば6つのスイッチング素子である場合、直流電力からモータ駆動用の三相交流電力が生成される。このように、電気自動車または家電機器は、インバータ装置を介して制御される。
【0003】
前記半導体装置において、上記した制御素子に供給される電源電圧は低電圧(例えば、5V)であるのに対して、上記した駆動素子に供給される電源電圧は高電圧(例えば、600V以上)である場合がある。従来、電源電圧が異なる複数の素子間では、信号を伝達する手段として、絶縁素子が用いられている。たとえば、特許文献1には、絶縁素子を備える半導体装置の一例として、インテリジェントパワーモジュールが開示されている。当該モジュールは、制御回路と、絶縁トランスと、アーム回路(上アームまたは下アーム)と、を備える。絶縁トランスは、制御回路およびアーム回路の間の信号を伝送する。制御回路は、CPU、あるいはCPUが搭載されたシステムLSIを含む。アーム回路は、ゲートドライバICを含む。制御回路のCPUは、ゲートドライブ用PWM信号を生成する。ゲートドライブ用PWM信号は、スイッチング素子の導通または非導通を制御する。ゲートドライブ用PWM信号は、絶縁トランスを介して、絶縁環境においてアーム回路に伝送される。アーム回路のゲートドライバICは、ゲートドライブ用PWM信号に基づいてゲート信号を生成する。ゲート信号は、スイッチング素子の制御端子に伝送され、スイッチング素子にスイッチング動作を行わせる。
【先行技術文献】
【特許文献】
【0004】
特開2009-49035号公報
【0005】
[概要]
電源電圧が異なる複数の素子を一つのパッケージ内に搭載する半導体装置は、絶縁破壊が生じるおそれがある。このような半導体デバイスは、1つのパッケージ内に混在する高電圧部と低電圧部の電位差が大きい場合に絶縁破壊が発生しやすい傾向がある。絶縁破壊は半導体装置を故障させる原因であり、半導体装置の信頼性を低下させる。
【0006】
本開示は、従来より改良が施された半導体装置を提供することを一の課題とする。特に本開示は、上記した事情に鑑み、絶縁破壊の発生を低減することが可能な半導体装置を提供することを一の課題とする。
【0007】
本開示の第1の側面によって提供される半導体装置は、第1半導体素子と、第2半導体素子と、第1リードと、第2リードと、第1ワイヤと、を備える。前記第1リードは、前記第1半導体素子と電気的に接続されている。前記第2リードは、前記第2半導体素子と電気的に接続され且つ前記第1リードから離隔する。前記第1ワイヤは、前記第1半導体素子と前記第2半導体素子とを電気的に接続する。前記第1ワイヤは、前記第1半導体素子に接合された第1端部と、前記第2半導体素子に接合された第2端部と、を有する。前記第1端部は、前記第1半導体素子の厚さ方向において、前記第2端部と異なる位置にある。
【0008】
上記構成によれば、絶縁破壊の発生を低減することが可能な半導体装置を提供することができる。
【図面の簡単な説明】
【0009】
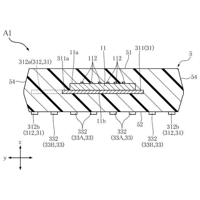
図1は、本開示の第1実施形態に係る半導体装置を示す平面図である。
図2は、図1の平面図において、封止樹脂を想像線で示した図である。
図3は、本開示の第1実施形態に係る半導体装置を示す正面図である。
図4は、本開示の第1実施形態に係る半導体装置を示す右側面図である。
図5は、本開示の第1実施形態に係る半導体装置を示す左側面図である。
図6は、図2のVI-VI線に沿った断面の断面図である。
図7は、図2のVII-VII線に沿った断面の断面図である。
図8は、図7の一部を拡大した断面図である。
図9は、本開示の第1実施形態に係る半導体素子を示す断面図である。
図10は、本開示の第1実施形態に係る半導体装置の製造方法の一例を示すフローチャートである。
図11は、図10に示す製造方法の一工程を示す平面図である。
図12は、図10に示す製造方法の一工程を示す平面図である。
図13は、図10に示す製造方法の一工程を示す平面図である。
図14は、図10に示す製造方法の一工程を示す平面図である。
図15は、図10に示す製造方法の一工程を示す平面図である。
図16は、図10に示す製造方法の一工程を示す断面図である。
図17は、図10に示す製造方法の一工程を示す平面図である。
図18は、本開示の第1実施形態に係る半導体装置の断面図である。
図19は、本開示の第1実施形態の第1変形例に係る半導体装置の一部を示す断面図である。
図20は、本開示の第1実施形態の第2変形例を示す平面図であって、封止樹脂を想像線で示す。
図21は、本開示の第2実施形態に係る半導体装置の一部を示す断面図である。
図22は、本開示の第2実施形態の第1変形例に係る半導体装置の一部を示す断面図である。
図23は、本開示の第3実施形態に係る半導体装置を示す平面図であって、封止樹脂を想像線で示した図である。
図24は、図23のXXIV-XXIV線に沿った断面の一部を拡大した断面図である。
図25は、本開示の第4実施形態に係る半導体装置を示す断面図である。
図26は、図25の一部を拡大した断面図である。
図27は、本開示の第4実施形態の第1変形例に係る半導体装置の一部を示す断面図である。
図28は、本開示の第4実施形態の第2変形例にかかる半導体装置の一部を示す断面図である。
図29は、本開示の第4実施形態の第3変形例にかかる半導体装置の一部を示す断面図である。
図30は、本開示の第5実施形態に係る半導体装置を示す平面図であって、封止樹脂を想像線で示す。
図31は、図30のXXXI-XXXI線に沿った断面の一部を拡大した断面図である。
図32は、本開示の半導体装置を備えた車両の概要図である。
【0010】
[詳細な説明]
本開示の半導体装置、半導体装置の設計方法および半導体装置の製造方法の好ましい実施の形態について、図面を参照して、以下に説明する。以下では、同一あるいは類似の構成要素には、同じ符号を付して重複する説明を省略する。
(【0011】以降は省略されています)
この特許をJ-PlatPat(特許庁公式サイト)で参照する
関連特許
ローム株式会社
半導体装置
1か月前
ローム株式会社
半導体装置
1か月前
ローム株式会社
半導体装置
3日前
ローム株式会社
半導体装置
26日前
ローム株式会社
半導体装置
26日前
ローム株式会社
半導体装置
1か月前
ローム株式会社
半導体装置
18日前
ローム株式会社
半導体装置
10日前
ローム株式会社
半導体装置
10日前
ローム株式会社
半導体装置
10日前
ローム株式会社
電源制御装置
26日前
ローム株式会社
信号伝達装置
26日前
ローム株式会社
定電圧生成回路
10日前
ローム株式会社
定電圧生成回路
10日前
ローム株式会社
半導体集積回路
11日前
ローム株式会社
半導体集積回路
10日前
ローム株式会社
半導体集積回路
1か月前
ローム株式会社
半導体メモリ装置
1か月前
ローム株式会社
半導体モジュール
19日前
ローム株式会社
モータドライバ回路
26日前
ローム株式会社
比較回路、半導体装置
10日前
ローム株式会社
逐次比較型AD変換回路
18日前
ローム株式会社
サーマルプリントヘッド
10日前
ローム株式会社
電源制御装置及び電源装置
3日前
ローム株式会社
半導体装置およびシステム
18日前
ローム株式会社
半導体装置、電子機器、車両
1か月前
ローム株式会社
半導体装置、電子機器、車両
1か月前
ローム株式会社
監視回路及びレジスタ制御装置
10日前
ローム株式会社
電源制御装置、スイッチング電源
3日前
ローム株式会社
昇圧型スイッチングレギュレータ
12日前
ローム株式会社
信号受信装置、IC及び電気機器
24日前
ローム株式会社
電圧調整装置及び電荷蓄積システム
12日前
ローム株式会社
モータドライバ回路および駆動方法
11日前
ローム株式会社
パルス幅変調回路およびモータ駆動装置
1か月前
ローム株式会社
半導体装置および半導体装置の製造方法
11日前
ローム株式会社
半導体装置および半導体装置の製造方法
1か月前
続きを見る
他の特許を見る