TOP
|
特許
|
意匠
|
商標
特許ウォッチ
Twitter
他の特許を見る
10個以上の画像は省略されています。
公開番号
2025141032
公報種別
公開特許公報(A)
公開日
2025-09-29
出願番号
2024040754
出願日
2024-03-15
発明の名称
半導体装置
出願人
ローム株式会社
代理人
個人
,
個人
主分類
H01L
23/50 20060101AFI20250919BHJP(基本的電気素子)
要約
【課題】配線基板への実装時における実装信頼性を向上できる半導体装置を提供する。
【解決手段】半導体装置A10において、厚さ方向zを向き、かつ、電極33が配置された素子主面305を有する半導体素子3と、厚さ方向zの第1側z1を向く樹脂頂面41を有し、かつ、半導体素子3を覆う封止樹脂4とを備えた。素子主面305および樹脂頂面41は矩形状である。厚さ方向zに視て、素子主面305の辺305aは、樹脂頂面41の辺41aに対して傾斜している。
【選択図】図2
特許請求の範囲
【請求項1】
厚さ方向を向き、かつ、電極が配置された素子主面を有する半導体素子と、
前記厚さ方向の第1側を向く樹脂頂面を有し、かつ、前記半導体素子を覆う封止樹脂と、
を備え、
前記素子主面および前記樹脂頂面は矩形状であり、
前記厚さ方向に視て、前記素子主面の第1辺は、前記樹脂頂面の第2辺に対して傾斜している、
半導体装置。
続きを表示(約 1,000 文字)
【請求項2】
前記厚さ方向に視て、前記第1辺の前記第2辺に対する傾斜角度は、0°より大きく45°以下である、
請求項1に記載の半導体装置。
【請求項3】
前記傾斜角度は、5°以上45°以下である、
請求項2に記載の半導体装置。
【請求項4】
前記傾斜角度は、45°である、
請求項3に記載の半導体装置。
【請求項5】
前記樹脂頂面は、4個の角部のうち前記第1辺に最も近接する第1角部を備え、
前記厚さ方向に視て、前記第1辺と前記第1角部との距離は、前記樹脂頂面の対角線の長さの25%以上である
請求項1に記載の半導体装置。
【請求項6】
前記半導体素子に導通する導電部材をさらに備え、
前記半導体素子は、前記素子主面が前記厚さ方向の第2側を向き、
前記電極は、前記導電部材に導通接合されている、
請求項1に記載の半導体装置。
【請求項7】
前記半導体素子に導通する導電部材と、
前記半導体素子と前記導電部材とを導通接続する接続部材と、
をさらに備え、
前記半導体素子は、前記素子主面が前記厚さ方向の第1側を向き、
前記接続部材は、前記電極と前記導電部材とに導通接合されている、
請求項1に記載の半導体装置。
【請求項8】
前記導電部材は、それぞれが前記厚さ方向の第1側を向くリード主面および前記厚さ方向の第2側を向くリード裏面を有する複数のリードを含んでいる、
請求項6または7に記載の半導体装置。
【請求項9】
前記封止樹脂は、前記厚さ方向の第2側を向く樹脂底面を備え、
前記複数のリードの前記リード裏面はいずれも、前記樹脂底面から露出している、
請求項8に記載の半導体装置。
【請求項10】
前記複数のリードは、複数の第1リードおよび複数の第2リードを含み、
前記複数の第1リードは、それぞれの前記リード裏面が前記第2辺に平行な第1方向に沿って並び、
前記複数の第2リードは、それぞれの前記リード裏面が、前記厚さ方向および前記第1方向に直交する第2方向において、前記複数の第1リードの前記リード裏面から離間して、前記第1方向に沿って並んでいる、
請求項9に記載の半導体装置。
(【請求項11】以降は省略されています)
発明の詳細な説明
【技術分野】
【0001】
本開示は、半導体装置に関する。
続きを表示(約 2,000 文字)
【背景技術】
【0002】
半導体素子を備えた半導体装置は、様々な構成が提案されている。特許文献1には、パッケージ形式がQFN(Quad Flat Non-Lead Package)である電子装置の一例が開示されている。同文献に開示された電子装置は、複数のリード、電子部品および樹脂部材を備えている。電子部品は、複数のリードに支持されている。樹脂部材は、各リードの一部および電子部品を覆っている。樹脂部材および電子部品は、平面視において矩形状とされている。当該電子装置においては、複数のリードの端面が、樹脂部材の側面と面一となるように露出している。あわせて、複数のリードの裏面が、樹脂部材の裏面と面一となるように露出している。このため、当該電子装置は、樹脂部材の側面からリードが突出するQFP(Quad Flat Package)と比較して、小型化を図ることが可能であり、配線基板に対する実装面積を縮小することができるという利点がある。一方、当該電子装置は、QFPと比較して、実装信頼性が低い。
【0003】
半導体装置(特許文献では電子装置)が配線基板にはんだなどで実装された場合、各角部に配置されているリードは、裏面に接合されるはんだに、線膨張係数差の応力が集中するので、他のリードと比較して、より実装信頼性が低い。また、平面視における、半導体装置の面積に対する半導体素子の面積の割合であるチップ占有率が大きいほど、実装信頼性が低くなる。これは、チップ占有率が大きいほど、半導体装置の角部と半導体素子との距離が短くなるからである。
【先行技術文献】
【特許文献】
【0004】
特開2023-42910号公報
【0005】
[概要]
本開示は、上記した事情のもとで考え出されたものであって、配線基板への実装時における実装信頼性を向上できる半導体装置を提供することを主たる課題とする。
【0006】
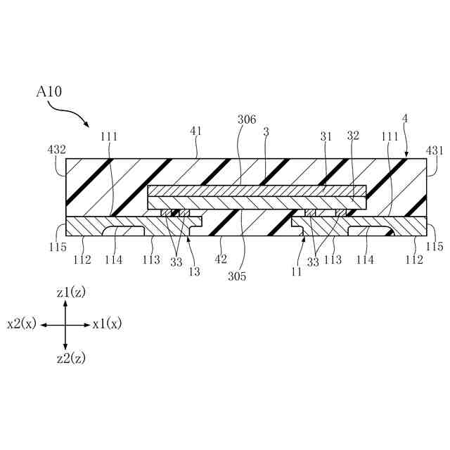
本開示の第1の側面によって提供される半導体装置は、厚さ方向を向き、かつ、電極が配置された素子主面を有する半導体素子と、前記厚さ方向の第1側を向く樹脂頂面を有し、かつ、前記半導体素子を覆う封止樹脂と、を備え、前記素子主面および前記樹脂頂面は矩形状であり、前記厚さ方向に視て、前記素子主面の第1辺は、前記樹脂頂面の第2辺に対して傾斜している。
【0007】
本開示のその他の特徴および利点は、添付図面を参照して以下に行う詳細な説明によって、より明らかとなろう。
【図面の簡単な説明】
【0008】
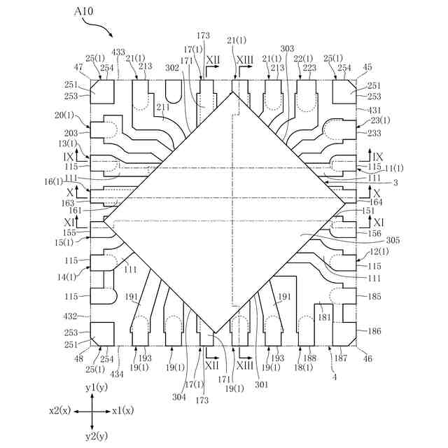
図1は、本開示の第1実施形態に係る半導体装置を示す斜視図である。
図2は、本開示の第1実施形態に係る半導体装置を示す平面図である。
図3は、本開示の第1実施形態に係る半導体装置を示す平面図(封止樹脂を透過)である。
図4は、本開示の第1実施形態に係る半導体装置を示す底面図である。
図5は、本開示の第1実施形態に係る半導体装置を示す正面図である。
図6は、本開示の第1実施形態に係る半導体装置を示す背面図である。
図7は、本開示の第1実施形態に係る半導体装置を示す右側面図である。
図8は、本開示の第1実施形態に係る半導体装置を示す左側面図である。
図9は、図3のIX-IX線に沿う断面図である。
図10は、図3のX-X線に沿う断面図である。
図11は、図3のXI-XI線に沿う断面図である。
図12は、図3のXII-XII線に沿う断面図である。
図13は、図3のXIII-XIII線に沿う断面図である。
図14は、第1実施形態の第1変形例に係る半導体装置を示す平面図である。
図15は、本開示の第2実施形態に係る半導体装置を示す平面図(封止樹脂を透過)である。
図16は、図15のXVI-XVI線に沿う断面図である。
図17は、第2実施形態の第1変形例に係る半導体装置を示す平面図(封止樹脂を透過)である。
図18は、第2実施形態の第2変形例に係る半導体装置を示す平面図(封止樹脂を透過)である。
図19は、本開示の第3実施形態に係る半導体装置を示す平面図(封止樹脂を透過)である。
図20は、本開示の第4実施形態に係る半導体装置を示す平面図である。
図21は、図20のXXI-XXI線に沿う断面図である。
【0009】
[詳細な説明]
本開示の詳細について、添付図面に基づき説明する。
【0010】
本開示における「第1」、「第2」、「第3」等の用語は、単にラベルとして用いたものであり、必ずしもそれらの対象物に順列を付することを意図していない。
(【0011】以降は省略されています)
この特許をJ-PlatPat(特許庁公式サイト)で参照する
関連特許
ローム株式会社
半導体装置
2日前
ローム株式会社
半導体装置
16日前
ローム株式会社
半導体装置
2日前
ローム株式会社
半導体装置
16日前
ローム株式会社
半導体装置
2日前
ローム株式会社
半導体集積回路
11日前
ローム株式会社
半導体メモリ装置
4日前
ローム株式会社
窒化物半導体装置
17日前
ローム株式会社
半導体装置、電子機器、車両
11日前
ローム株式会社
半導体装置、電子機器、車両
11日前
ローム株式会社
電圧電流変換回路および半導体集積回路
11日前
ローム株式会社
半導体装置および半導体装置の製造方法
2日前
ローム株式会社
パルス幅変調回路およびモータ駆動装置
11日前
ローム株式会社
半導体装置、および半導体装置の製造方法
2日前
ローム株式会社
力率改善回路、制御装置、および電子機器
2日前
ローム株式会社
電源制御装置、DC/DCコンバータ、および車両
12日前
ローム株式会社
三相ブラシレスモータのドライバ回路および駆動方法
4日前
ローム株式会社
半導体装置
10日前
ローム株式会社
半導体装置
12日前
ローム株式会社
テラヘルツ装置
16日前
ローム株式会社
SiC半導体装置
4日前
ローム株式会社
半導体装置、および半導体装置の製造方法
4日前
ローム株式会社
半導体装置、および半導体装置の製造方法
12日前
APB株式会社
蓄電セル
16日前
東ソー株式会社
絶縁電線
18日前
個人
フレキシブル電気化学素子
1か月前
日新イオン機器株式会社
イオン源
26日前
マクセル株式会社
電源装置
10日前
ローム株式会社
半導体装置
17日前
ローム株式会社
半導体装置
1か月前
株式会社ユーシン
操作装置
1か月前
ローム株式会社
半導体装置
1か月前
株式会社東芝
端子台
10日前
株式会社GSユアサ
蓄電設備
1か月前
太陽誘電株式会社
コイル部品
1か月前
オムロン株式会社
電磁継電器
1か月前
続きを見る
他の特許を見る