TOP
|
特許
|
意匠
|
商標
特許ウォッチ
Twitter
他の特許を見る
10個以上の画像は省略されています。
公開番号
2025151313
公報種別
公開特許公報(A)
公開日
2025-10-09
出願番号
2024052659
出願日
2024-03-28
発明の名称
半導体装置、および通信システム
出願人
ローム株式会社
代理人
弁理士法人 佐野特許事務所
主分類
G06F
13/36 20060101AFI20251002BHJP(計算;計数)
要約
【課題】自身とは異なる通信方式のデバイスとともに通信システムを効果的に構築することが可能となる半導体装置を提供する。
【解決手段】半導体装置(1)において、受信データに含まれるブリッジ選択データが第1バス(BS1)と第2バス(BS2)との間でビットデータをそのまま出力するスルー出力のオンを示している場合、前記受信データに含まれる第1デバイス(100)用のデータ前記第2バスへスルー出力するように構成され、前記ブリッジ選択データが前記スルー出力のオンを示している場合、かつ、当該半導体装置に前記第1デバイス用の所定の第2シリアル通信方式での通信が設定されている場合、前記スルー出力するデータに同期したクロック信号(SCK)と、チップセレクト信号(CS)を出力するように構成される。
【選択図】図11
特許請求の範囲
【請求項1】
外部の送信装置と第1バスにより接続可能、かつ外部の第1デバイスと第2バスにより接続可能な半導体装置であって、
前記送信装置から前記第1バスを介してシリアルデータである受信データを第1シリアル通信方式により受信可能に構成される第1受信部と、
前記第1デバイスと前記第2バスを介して接続可能に構成される第1送信部と、
前記第1デバイスに対してクロック信号を出力するように構成されるクロック出力部と、
前記第1デバイスに対してチップセレクト信号を出力するように構成されるチップセレクト信号出力部と、
を備え、
前記第1受信部および前記第1送信部は、前記受信データに含まれるブリッジ選択データが前記第1バスと前記第2バスとの間でビットデータをそのまま出力するスルー出力のオンを示している場合、前記受信データに含まれる前記第1デバイス用のデータを前記第2バスへスルー出力するように構成され、
前記クロック出力部は、前記ブリッジ選択データが前記スルー出力のオンを示している場合、かつ、当該半導体装置に前記第1デバイス用の所定の第2シリアル通信方式での通信が設定されている場合、前記スルー出力するデータに同期したクロック信号を出力するように構成され、
前記チップセレクト信号出力部は、前記ブリッジ選択データが前記スルー出力のオンを示している場合、かつ、当該半導体装置に前記第2シリアル通信方式での通信が設定されている場合、チップセレクト信号を出力するように構成される、半導体装置。
続きを表示(約 1,100 文字)
【請求項2】
前記第2シリアル通信方式の設定は、当該半導体装置に含まれるレジスタへの設定により行われる、請求項1に記載の半導体装置。
【請求項3】
当該半導体装置には、前記第1シリアル通信方式に対応した第2デバイスを接続可能であり、
当該半導体には、前記第2シリアル通信方式または前記第1シリアル通信方式を設定可能であり、
前記第1シリアル通信方式が設定されている場合、かつ前記ブリッジ選択データが前記スルー出力のオンを示している場合、前記第1受信部および前記第1送信部は、前記受信データに含まれる前記第2デバイス用のデータを前記第2バスへスルー出力する、請求項1に記載の半導体装置。
【請求項4】
前記クロック信号における前記第1デバイス用のデータに同期するエッジの種類を選択するための設定が可能である、請求項1に記載の半導体装置。
【請求項5】
前記チップセレクト信号のアクティブに対応するレベルを設定可能である、請求項1に記載の半導体装置。
【請求項6】
前記第1デバイスと前記第2バスを介して接続可能に構成される第2受信部と、
前記送信装置と前記第1バスを介して接続可能に構成される第2送信部と、
を備え、
前記ブリッジ選択データがスルー出力のオンを示し、かつ前記受信データに含まれるリード/ライト選択データがリードを示している場合、前記第2受信部が前記第1デバイスから受信したシリアルデータである送信データを前記第2送信部から前記第1バスへスルー出力するように構成され、
前記第1バスへのスルー出力のときに、前記送信データに対してスタートビットとストップビットが付加される、請求項1に記載の半導体装置。
【請求項7】
前記第1バスへのスルー出力のときに、前記クロック信号出力部は、前記送信データに同期した前記クロック信号を生成する、請求項6に記載の半導体装置。
【請求項8】
前記クロック信号における前記送信データに同期するエッジの種類を選択するための設定が可能である、請求項7に記載の半導体装置。
【請求項9】
前記第1シリアル通信方式は、UARTであり、前記第2シリアル通信方式は、SPIである、請求項1に記載の半導体装置。
【請求項10】
請求項1から請求項9のいずれか1項に記載の半導体装置と、前記送信装置と、前記第1デバイスと、を備える通信システム。
(【請求項11】以降は省略されています)
発明の詳細な説明
【技術分野】
【0001】
本開示は、半導体装置に関する。
続きを表示(約 2,200 文字)
【背景技術】
【0002】
シリアル通信機能を備えた半導体装置が種々のアプリケーションで利用されている。
【0003】
なお、シリアル通信に関する回路技術の一例は、特許文献1に開示されている。
【先行技術文献】
【特許文献】
【0004】
特開2017-224946号公報
【0005】
[概要]
ここで、アプリケーションにおいては、自身の半導体装置とともに、自身とは異なる通信方式を用いてシリアル通信を行う半導体装置(デバイス)を使用して通信システムを構築する場合がある。
【0006】
本開示は、自身とは異なる通信方式のデバイスとともに通信システムを効果的に構築することが可能となる半導体装置を提供することを目的とする。
【0007】
本開示の一態様に係る半導体装置は、外部の送信装置と第1バスにより接続可能、かつ外部の第1デバイスと第2バスにより接続可能な半導体装置であって、
前記送信装置から前記第1バスを介してシリアルデータである受信データを第1シリアル通信方式により受信可能に構成される第1受信部と、
前記第1デバイスと前記第2バスを介して接続可能に構成される第1送信部と、
前記第1デバイスに対してクロック信号を出力するように構成されるクロック出力部と、
前記第1デバイスに対してチップセレクト信号を出力するように構成されるチップセレクト信号出力部と、
を備え、
前記第1受信部および前記第1送信部は、前記受信データに含まれるブリッジ選択データが前記第1バスと前記第2バスとの間でビットデータをそのまま出力するスルー出力のオンを示している場合、前記受信データに含まれる前記第1デバイス用のデータを前記第2バスへスルー出力するように構成され、
前記クロック出力部は、前記ブリッジ選択データが前記スルー出力のオンを示している場合、かつ、当該半導体装置に前記第1デバイス用の所定の第2シリアル通信方式での通信が設定されている場合、前記スルー出力するデータに同期したクロック信号を出力するように構成され、
前記チップセレクト信号出力部は、前記ブリッジ選択データが前記スルー出力のオンを示している場合、かつ、当該半導体装置に前記第2シリアル通信方式での通信が設定されている場合、チップセレクト信号を出力するように構成される。
【図面の簡単な説明】
【0008】
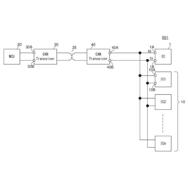
図1は、第1比較例に係る通信システムの構成を示す図である。
図2は、第2比較例に係る通信システムの構成を示す図である。
図3は、本開示の例示的な実施形態に係る通信システムの構成を示す図である。
図4は、本開示の例示的な実施形態に係る半導体装置のブロック図である。
図5は、本開示の例示的な実施形態に係る半導体装置のブロック図である。
図6は、半導体装置1を対象デバイスとしてWriteあるいはReadを行う場合の受信データRXのデータ構成を示す図である。
図7は、本開示の実施形態に係る通信システムの構成例を示す図である。
図8は、デバイス10を対象デバイスとしてWriteあるいはReadを行う場合の受信データRXのデータ構成を示す図である。
図9は、デバイス10に対するWriteを行う場合の通信制御を示すタイミングチャートである。
図10は、デバイス10に対するReadを行う場合の通信制御を示すタイミングチャートである。
図11は、本開示の実施形態に係る通信システムの構成例を示す図である。
図12Aは、通信方式設定情報BRIFSELを示す表である。
図12Bは、クロックエッジ設定情報CPOLを示す表である。
図12Cは、チップセレクト信号設定情報CSFを示す表である。
図12Dは、クロックエッジ設定情報CPOLRを示す表である。
図13は、SPIデバイスに対してWriteを行う場合の動作例を示すタイミングチャートである。
図14は、SPIデバイスを対象デバイスとしてWriteあるいはReadを行う場合の受信データRXのデータ構成を示す図である。
図15は、SPIデバイスに対してReadを行う場合の動作例を示すタイミングチャートである。
図16は、モータドライバの構成例を示す図である。
図17は、車両の一例を示す外観図である。
【0009】
[詳細な説明]
以下、本開示の例示的な実施形態について、図面を参照して説明する。
【0010】
<1.通信システム>
図1は、本開示の実施形態との対比のための第1比較例に係る通信システム501の構成を示す図である。通信システム501は、MCU(Micro Controller Unit)20と、CAN(Controller Area Network)トランシーバ30と、CANトランシーバ40と、半導体装置1と、n個(nは1以上の整数)のデバイス10と、を備える。通信システム501は、一例として車載用としており、以下説明する他の通信システムについても同様である。
(【0011】以降は省略されています)
この特許をJ-PlatPat(特許庁公式サイト)で参照する
関連特許
ローム株式会社
信号受信装置、IC及び電気機器
1日前
ローム株式会社
半導体装置、および半導体装置の製造方法
1日前
ローム株式会社
半導体装置、マルチフェーズDC/DCコンバータ及び電源装置
1日前
ローム株式会社
半導体モジュール
3日前
個人
詐欺保険
1か月前
個人
縁伊達ポイン
1か月前
個人
職業自動販売機
1日前
個人
5掛けポイント
8日前
個人
RFタグシート
19日前
個人
地球保全システム
1か月前
個人
QRコードの彩色
1か月前
個人
ペルソナ認証方式
16日前
個人
情報処理装置
11日前
個人
自動調理装置
18日前
個人
為替ポイント伊達夢貯
2か月前
個人
冷凍食品輸出支援構造
2か月前
個人
表変換編集支援システム
2か月前
個人
残土処理システム
1か月前
個人
農作物用途分配システム
1か月前
個人
知的財産出願支援システム
1か月前
個人
知財出願支援AIシステム
2か月前
個人
インターネットの利用構造
15日前
個人
サービス情報提供システム
3日前
個人
タッチパネル操作指代替具
25日前
個人
スケジュール調整プログラム
24日前
個人
行動時間管理システム
2か月前
個人
AIによる情報の売買の仲介
2か月前
個人
パスワード管理支援システム
2か月前
個人
携帯端末障害問合せシステム
24日前
個人
食品レシピ生成システム
1か月前
個人
パスポートレス入出国システム
2か月前
個人
海外支援型農作物活用システム
1か月前
株式会社キーエンス
受発注システム
1か月前
株式会社キーエンス
受発注システム
1か月前
株式会社キーエンス
受発注システム
1か月前
個人
システム及びプログラム
1か月前
続きを見る
他の特許を見る