TOP
|
特許
|
意匠
|
商標
特許ウォッチ
Twitter
他の特許を見る
10個以上の画像は省略されています。
公開番号
2025136971
公報種別
公開特許公報(A)
公開日
2025-09-19
出願番号
2024035921
出願日
2024-03-08
発明の名称
信号出力回路
出願人
ローム株式会社
代理人
弁理士法人 佐野特許事務所
主分類
H03K
19/0175 20060101AFI20250911BHJP(基本電子回路)
要約
【課題】差動で信号を伝送するときにおいて、対となる信号間の対称性を良好とする。
【解決手段】ハイサイド出力回路(110)は、第1直流配線(W
VCC
)及び第1出力端子(HH)間に設けられた複数のハイサイドトランジスタ(MH)の並列回路を有する。ローサイド出力回路(120)は、第2直流配線(W
GND
)及び第2出力端子(LL)間に設けられた複数のローサイドトランジスタ(ML)の並列回路を有する。ゲート電圧調整回路(160)は、第1直流電圧及び第2直流電圧間の中間電圧に基づき各ローサイドトランジスタをオンに設定するための特定ゲート電圧(V
GL
)を調整する。
【選択図】図7
特許請求の範囲
【請求項1】
所定の第1直流電圧が加わるよう構成された第1直流配線と、
第1信号端子と、
前記第1直流配線及び前記第1信号端子間に設けられた複数のハイサイドトランジスタの第1並列回路を有するハイサイド出力回路と、
前記第1直流電圧よりも低い第2直流電圧が加わるよう構成された第2直流配線と、
第2信号端子と、
前記第2直流配線及び前記第2信号端子間に設けられた複数のローサイドトランジスタの第2並列回路を有するローサイド出力回路と、
前記複数のハイサイドトランジスタを個別にオン又はオフに設定し、前記第1並列回路を通じた前記第1直流配線及び前記第1信号端子間の電流を制御することで前記第1信号端子に第1出力信号を発生させ、且つ、前記複数のローサイドトランジスタを個別にオン又はオフに設定し、前記第2並列回路を通じた前記第2直流配線及び前記第2信号端子間の電流を制御することで前記第2信号端子に第2出力信号を発生させるよう構成された制御回路と、
前記第1直流電圧及び前記第2直流電圧間の中間電圧に基づき各ローサイドトランジスタをオンに設定するための特定ゲート電圧を調整するよう構成されたゲート電圧調整回路と、を備えた
、信号出力回路。
続きを表示(約 2,300 文字)
【請求項2】
各ハイサイドトランジスタは前記第1直流配線に接続されたソースを有するPチャネル型のMOSFETにより構成され、各ローサイドトランジスタは前記第2直流配線に接続されたソースを有するNチャネル型のMOSFETにより構成され、
前記ゲート電圧調整回路は、前記第1直流配線に接続されたソースを有するPチャネル型のMOSFETにより構成された第1レプリカトランジスタと、第1直列抵抗と、前記第1直列抵抗と同じ抵抗値を持つよう構成された第2直列抵抗と、前記第2直流配線に接続されたソースを有するNチャネル型のMOSFETにより構成された第2レプリカトランジスタと、を有し、
前記第1レプリカトランジスタのドレインは前記第1直列抵抗の第1端に接続され、前記第1直列抵抗の第2端は前記第2直列抵抗を介して前記第2レプリカトランジスタのドレインに接続され、
前記制御回路は、前記複数のハイサイドトランジスタの内、オンに設定される1以上のハイサイドトランジスタのゲートに対し、前記第1レプリカトランジスタのゲート電圧を供給し、前記複数のローサイドトランジスタの内、オンに設定される1以上のローサイドトランジスタのゲートに対し、前記第2レプリカトランジスタのゲート電圧を供給し、
前記ゲート電圧調整回路は、前記第1直列抵抗及び前記第2直列抵抗間の接続ノードにおける電圧と前記中間電圧との差を減ずるよう、前記特定ゲート電圧である前記第2レプリカトランジスタのゲート電圧を調整する
、請求項1に記載の信号出力回路。
【請求項3】
前記第1レプリカトランジスタのゲートは第1ゲート配線に接続され、
前記ハイサイド出力回路において、前記ハイサイドトランジスタごとに、前記ハイサイドトランジスタのゲートの接続先を前記第1ゲート配線又は前記第1直流配線に切り替えるハイサイドセレクタが設けられ、
前記制御回路は、前記ハイサイドトランジスタごとに、対応するハイサイドセレクタの状態制御を通じて、当該ハイサイドトランジスタのゲートの接続先を前記第1ゲート配線に設定することで当該ハイサイドトランジスタをオンに設定する一方、当該ハイサイドトランジスタのゲートの接続先を前記第1直流配線に設定することで当該ハイサイドトランジスタをオフに設定し、
前記第2レプリカトランジスタのゲートは第2ゲート配線に接続され、
前記ローサイド出力回路において、前記ローサイドトランジスタごとに、前記ローサイドトランジスタのゲートの接続先を前記第2ゲート配線又は前記第2直流配線に切り替えるローサイドセレクタが設けられ、
前記制御回路は、前記ローサイドトランジスタごとに、対応するローサイドセレクタの状態制御を通じて、当該ローサイドトランジスタのゲートの接続先を前記第2ゲート配線に設定することで当該ローサイドトランジスタをオンに設定する一方、当該ローサイドトランジスタのゲートの接続先を前記第2直流配線に設定することで当該ローサイドトランジスタをオフに設定する
、請求項2に記載の信号出力回路。
【請求項4】
前記制御回路は、全ハイサイドトランジスタ及び全ローサイドトランジスタをオフに設定した全オフ状態からオンとされるハイサイドトランジスタの個数及びオンとされるローサイドトランジスタの個数を順次増大させることで、前記第1出力信号のレベルを第1レベルから第2レベルに向けて徐々に上昇させるともに前記第2出力信号のレベルを第3レベルから第4レベルに向けて徐々に低下させ、且つ、全ハイサイドトランジスタ及び全ローサイドトランジスタをオンに設定した全オン状態からオフとされるハイサイドトランジスタの個数及びオフとされるローサイドトランジスタの個数を順次増大させることで前記第1出力信号のレベルを前記第2レベルから前記第1レベルに向けて徐々に低下させるともに前記第2出力信号のレベルを前記第4レベルから前記第3レベルに向けて徐々に上昇させる
、請求項1に記載の信号出力回路。
【請求項5】
前記ハイサイド出力回路と前記第1信号端子との間に挿入された第1保護回路と、前記ローサイド出力回路と前記第2信号端子との間に挿入された第2保護回路と、を更に備え、
前記第1保護回路は、前記第1信号端子に対し所定の第1許容電圧範囲を逸脱する第1異常電圧が加わるときに各ハイサイドトランジスタを前記第1異常電圧から保護し、前記第2保護回路は、前記第2信号端子に対し所定の第2許容電圧範囲を逸脱する第2異常電圧が加わるときに各ローサイドトランジスタを前記第2異常電圧から保護する
、請求項1に記載の信号出力回路。
【請求項6】
各ハイサイドトランジスタは前記第1直流配線に接続されたソースを有するPチャネル型のMOSFETにより構成され、各ローサイドトランジスタは前記第2直流配線に接続されたソースを有するNチャネル型のMOSFETにより構成され、
各ハイサイドトランジスタのドレインと前記第1信号端子との間に前記第1保護回路が挿入され、各ローサイドトランジスタのドレインと前記第2信号端子との間に前記第2保護回路が挿入される
、請求項5に記載の信号出力回路。
【請求項7】
前記第1信号端子は出端抵抗を介して前記第2信号端子に接続される
、請求項1~6の何れかに記載の信号出力回路。
発明の詳細な説明
【技術分野】
【0001】
本開示は、信号出力回路に関する。
続きを表示(約 2,500 文字)
【背景技術】
【0002】
CAN(Controller Area Network)などにおいて信号伝送用の回路が用いられる。
【先行技術文献】
【特許文献】
【0003】
特開2015-19219号公報
【0004】
[概要]
差動で信号を伝送するとき、対となる信号間の対称性を良好なものとすることが求められる。
【0005】
本開示の一態様に係る信号出力回路は、所定の第1直流電圧が加わるよう構成された第1直流配線と、第1信号端子と、前記第1直流配線及び前記第1信号端子間に設けられた複数のハイサイドトランジスタの第1並列回路を有するハイサイド出力回路と、前記第1直流電圧よりも低い第2直流電圧が加わるよう構成された第2直流配線と、第2信号端子と、前記第2直流配線及び前記第2信号端子間に設けられた複数のローサイドトランジスタの第2並列回路を有するローサイド出力回路と、前記複数のハイサイドトランジスタを個別にオン又はオフに設定し、前記第1並列回路を通じた前記第1直流配線及び前記第1信号端子間の電流を制御することで前記第1信号端子に第1出力信号を発生させ、且つ、前記複数のローサイドトランジスタを個別にオン又はオフに設定し、前記第2並列回路を通じた前記第2直流配線及び前記第2信号端子間の電流を制御することで前記第2信号端子に第2出力信号を発生させるよう構成された制御回路と、前記第1直流電圧及び前記第2直流電圧間の中間電圧に基づき各ローサイドトランジスタをオンに設定するための特定ゲート電圧を調整するよう構成されたゲート電圧調整回路と、を備える。
【図面の簡単な説明】
【0006】
図1は、本開示の実施形態に係るECUの構成図である。
図2は、本開示の実施形態に係り、2つのECUを有するECUシステムの構成図である。
図3は、本開示の実施形態に係り、送信側ECUにおけるトランシーバ及び受信側ECU1におけるトランシーバの内部概略構成図である。
図4は、本開示の実施形態に係り、複数の信号の関係を示すタイミングチャートである。
図5は、本開示の実施形態に係り、対となる信号とスキューとの関係の説明図である。
図6は、参考例に係る送信回路の回路図である。
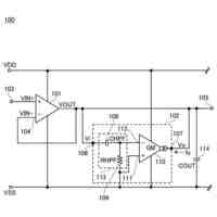
図7は、本開示の実施形態に属する第1実施例に係り、送信回路の回路図である。
図8は、本開示の実施形態に属する第1実施例に係り、ハイサイド出力回路の回路図である。
図9は、本開示の実施形態に属する第1実施例に係り、ハイサイド出力回路内の1つの単位回路の状態遷移図である。
図10は、本開示の実施形態に属する第1実施例に係り、ローサイド出力回路の回路図である。
図11は、本開示の実施形態に属する第1実施例に係り、ローサイド出力回路内の1つの単位回路の状態遷移図である。
図12は、本開示の実施形態に属する第1実施例に係り、送信回路の動作フローチャートである。
図13は、本開示の実施形態に属する第1実施例に係り、ハイサイドトランジスタの電気的特性及びローサイドトランジスタの電気的特性を示す図である。
【0007】
[詳細な説明]
以下、本開示の実施形態の例を、図面を参照して具体的に説明する。参照される各図において、同一の部分には同一の符号を付し、同一の部分に関する重複する説明を原則として省略する。尚、本明細書では、記述の簡略化上、情報、信号、物理量、機能部、回路、素子又は部品等を参照する記号又は符号を記すことによって、該記号又は符号に対応する情報、信号、物理量、機能部、回路、素子又は部品等の名称を省略又は略記することがある。例えば、後述の“MH”によって参照されるハイサイドトランジスタは(図7参照)、ハイサイドトランジスタMHと表記されることもあるし、トランジスタMHと略記されることもあり得るが、それらは全て同じものを指す。
【0008】
まず、本開示の実施形態の記述にて用いられる幾つかの用語について説明を設ける。グランドとは、基準となる0V(ゼロボルト)の電位を有する基準導電部(reference conductor)を指す又は0Vの電位そのものを指す。基準導電部は金属等の導体を用いて形成されて良い。0Vの電位をグランド電圧と称することもある。本開示の実施形態において、特に基準を設けずに示される電圧はグランドから見た電位を表す。
【0009】
レベルとは電位のレベルを指し、任意の注目した信号又は電圧についてハイレベルはローレベルよりも高い電位を有する。電圧信号として機能する任意の信号において、信号の上昇、低下とは、信号の電位の上昇、低下を意味する。他の類する表現についても同様である。任意の注目した信号又は電圧について、信号又は電圧がハイレベルにあるとは厳密には信号又は電圧のレベルがハイレベルにあることを意味し、信号又は電圧がローレベルにあるとは厳密には信号又は電圧のレベルがローレベルにあることを意味する。
【0010】
MOSFETに例示されるFET(電界効果トランジスタ)として構成された任意のトランジスタについて、オン状態とは、当該トランジスタのドレイン及びソース間が導通している状態を指し、オフ状態とは、当該トランジスタのドレイン及びソース間が非導通となっている状態(遮断状態)を指す。FETに分類されないトランジスタについても同様である。MOSFETは、特に記述無き限り、エンハンスメント型のMOSFETであると解される。MOSFETは“metal-oxide-semiconductor field-effect transistor”の略称である。また、特に記述なき限り、任意のMOSFETにおいて、バックゲートはソースに短絡されていると考えて良い。
(【0011】以降は省略されています)
この特許をJ-PlatPat(特許庁公式サイト)で参照する
関連特許
ローム株式会社
半導体装置
18日前
ローム株式会社
半導体装置
10日前
ローム株式会社
半導体装置
10日前
ローム株式会社
半導体装置
10日前
ローム株式会社
半導体装置
3日前
ローム株式会社
半導体集積回路
10日前
ローム株式会社
定電圧生成回路
10日前
ローム株式会社
定電圧生成回路
10日前
ローム株式会社
半導体集積回路
11日前
ローム株式会社
比較回路、半導体装置
10日前
ローム株式会社
逐次比較型AD変換回路
18日前
ローム株式会社
サーマルプリントヘッド
10日前
ローム株式会社
電源制御装置及び電源装置
3日前
ローム株式会社
半導体装置およびシステム
18日前
ローム株式会社
監視回路及びレジスタ制御装置
10日前
ローム株式会社
電源制御装置、スイッチング電源
3日前
ローム株式会社
昇圧型スイッチングレギュレータ
12日前
ローム株式会社
電圧調整装置及び電荷蓄積システム
12日前
ローム株式会社
モータドライバ回路および駆動方法
11日前
ローム株式会社
半導体装置および半導体装置の製造方法
11日前
ローム株式会社
半導体装置、および半導体装置の製造方法
10日前
ローム株式会社
サーマルプリントヘッド及びその製造方法
10日前
ローム株式会社
検出回路、信号伝達装置、電子機器、車両
10日前
ローム株式会社
ドライバ、信号伝達装置、電子機器、車両
3日前
ローム株式会社
コントローラ、ターゲット、及び通信システム
10日前
ローム株式会社
雨検出装置、雨検出システム、および、雨検出方法
12日前
ローム株式会社
窒化物半導体装置および窒化物半導体装置の製造方法
10日前
ローム株式会社
信号伝達装置、電子機器、車両、絶縁ゲートドライバIC
18日前
ローム株式会社
半導体装置
3日前
ローム株式会社
半導体装置
10日前
ローム株式会社
半導体装置
3日前
ローム株式会社
制御装置、力率改善回路、電子機器、およびオフセット設定方法
18日前
ローム株式会社
双方向DC/DCコンバータ、電源遮断保護回路および半導体装置
4日前
ローム株式会社
トランスデューサ、共振器、発振器及びトランスデューサの製造方法
3日前
ローム株式会社
オーディオ回路、それを用いた電子機器および車載オーディオシステム
11日前
ローム株式会社
スイッチング装置、絶縁型DC/DCコンバータ及びAC/DCコンバータ
12日前
続きを見る
他の特許を見る