TOP
|
特許
|
意匠
|
商標
特許ウォッチ
Twitter
他の特許を見る
10個以上の画像は省略されています。
公開番号
2025146212
公報種別
公開特許公報(A)
公開日
2025-10-03
出願番号
2024046869
出願日
2024-03-22
発明の名称
メモリ装置
出願人
ローム株式会社
代理人
弁理士法人 佐野特許事務所
主分類
H01L
25/07 20060101AFI20250926BHJP(基本的電気素子)
要約
【課題】大型化を抑制しつつ大容量化できるメモリ装置を提供する。
【解決手段】メモリ装置(1、1A、1B、1C)は、同じ構造を有し、第1方向(D1)に重ねられた構成の複数のメモリチップ(2、2A、2B、2K、2L、2M、2N、5、6)と、メモリチップ(2、2A、2B、2K、2L、2M、2N)と第1方向(D1)と交差する第2方向(D2)に隣り合うように配置されるとともに、各メモリチップ(2、2A、2B、2K、2L、2M、2N、5、6)に備えられた複数のパッド(201~206)のそれぞれに接続されるように構成された複数のリードフレーム(11~18)と、を有し、各メモリチップ(2、2A、2B、2K、2L、2M、2N、5、6)の同じリードフレーム(11~18)に接続される前記電極パッド(201~208)は、同じ種類の電極パッド(201~208)である。
【選択図】図1
特許請求の範囲
【請求項1】
同じ構造を有し、第1方向に重ねられた構成の複数のメモリチップと、
前記メモリチップと前記第1方向と交差する第2方向に隣り合うように配置されるとともに、各前記メモリチップに備えられた複数の電極パッドのそれぞれに接続されるように構成された複数のリードフレームと、を有し、
各前記メモリチップの同じ前記リードフレームに接続される前記電極パッドは、同じ種類の前記電極パッドであるように構成されるメモリ装置。
続きを表示(約 640 文字)
【請求項2】
前記メモリチップは、メモリアレイを挟んだ両側に同じ種類の前記電極パッドを配置するように構成される請求項1に記載のメモリ装置。
【請求項3】
前記メモリチップは情報の書き込むライト動作時に受信するライトコマンド及び情報の読み出すリード動作時の受信するリードコマンドに含まれるアドレス指定部の特定ビットの情報に基づいて前記ライト動作又はリード動作が実行されるメモリチップに選択されたか否か判定するように構成される請求項1に記載のメモリ装置。
【請求項4】
各前記メモリチップは、それ自体を識別するためのチップ識別情報を記憶するように構成される請求項3に記載のメモリ装置。
【請求項5】
各前記メモリチップは、コマンド実行中に各前記メモリチップに記憶されているチップ識別情報を読み出し、ライトコマンド又はリードコマンドに含まれるアドレス指定部の特定ビットの情報と比較することで前記ライト動作又はリード動作が実行されるメモリチップに選択されたか否か判定するように構成される請求項4に記載のメモリ装置。
【請求項6】
選択されていない前記メモリチップは、スタンバイ状態で待機するように構成される請求項3に記載のメモリ装置。
【請求項7】
各前記メモリチップは、各種類の前記電極パッドの少なくとも一部が前記第1方向の一方側に露出するようにずれて重ねられる構成を有する請求項1に記載のメモリ装置。
発明の詳細な説明
【技術分野】
【0001】
本明細書中に開示されている発明は、メモリ装置に関する。
続きを表示(約 1,800 文字)
【背景技術】
【0002】
特許文献1で提案されている半導体記憶回路は、1ビットのデータを格納するメモリセルとして、第1トランジスタと、第1トランジスタよりもオン電流の高い第2トランジスタと、を一対としたトランジスタペアを集積化して成る。
【先行技術文献】
【特許文献】
【0003】
特開2011-103158号公報
【0004】
[概要]
特許文献1で提案されている半導体記憶回路の記憶容量を増やす場合、メモリアレイの面積が大きくなり、半導体記憶回路が大型化する。また、出荷前のテストのために新たな大きさに対応した治具が必要になる。
【0005】
本明細書中に開示されているメモリ装置は、同じ構造を有し、第1方向に重ねられた構成の複数のメモリチップと、前記メモリチップと前記第1方向と交差する第2方向に隣り合うように配置されるとともに、各前記メモリチップに備えられた複数の電極パッドのそれぞれに接続されるように構成された複数のリードフレームと、を有する。各前記メモリチップの同じ前記リードフレームに接続される前記電極パッドは、同じ種類の前記電極パッドであるように構成される。
【図面の簡単な説明】
【0006】
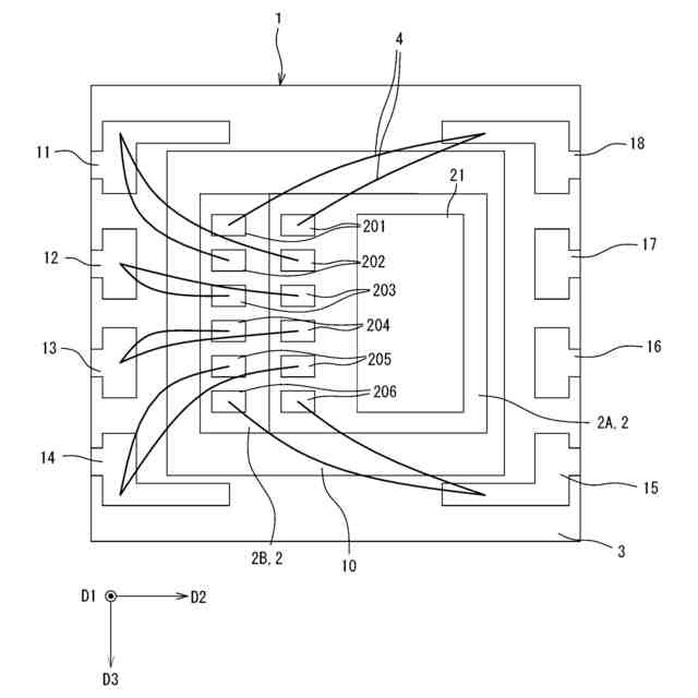
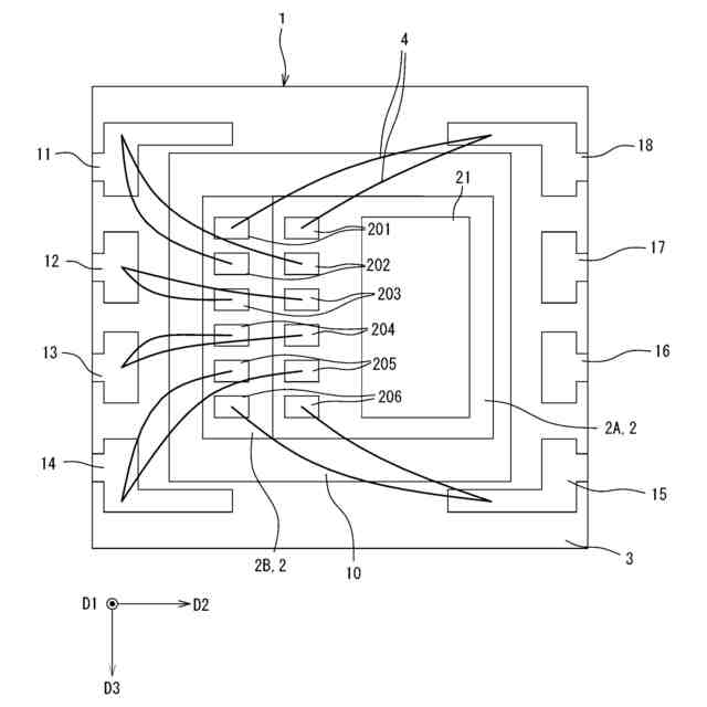
図1は、メモリ装置の全体構成例を示すブロック図である。
図2は、メモリチップの構成例を示すブロック図である。
図3は、上側のメモリチップ又は下側のメモリチップが選択される手順を示すフローチャートである。
図4は、制御回路の選択判定部の構成を示すブロック図である。
図5は、リード動作のために上側のメモリチップが選択されるときの上側のメモリチップの動作状態を示す図である。
図6は、リード動作のために上側のメモリチップが選択されるときの下側のメモリチップの動作状態を示す図である。
図7は、リード動作のために下側のメモリチップが選択されるときの上側のメモリチップの動作状態を示す図である。
図8は、リード動作のために下側のメモリチップが選択されるときの下側のメモリチップの動作状態を示す図である。
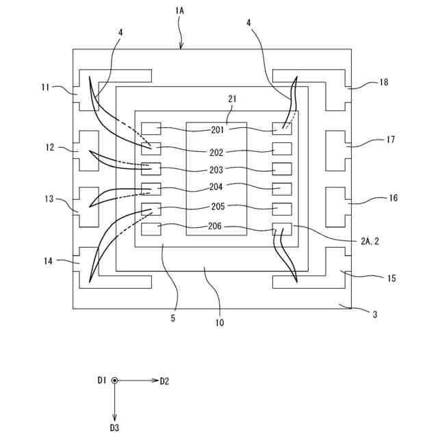
図9は、第1変形例のメモリ装置を示す図である。
図10は、第2変形例のメモリ装置に用いるメモリチップの側面図である。
図11は、4個のメモリチップを有するメモリ装置の選択判定部のブロック図である。
図12は、4個のメモリチップを有する場合のチップ識別情報の一例を示す図である。
【0007】
[詳細な説明]
本明細書において、図1に示すメモリ装置1を基準として方向を定義する。図1に示す状態のメモリ装置1において、紙面厚み方向を第1方向D1とする。また、図1に示す状態のメモリ装置1において、左右方向を第2方向D2とし、上下方向を第3方向D3とする。つまり、第2方向D2は、第1方向D1と交差する方向であり、第3方向D3は、第1方向D1及び第2方向D2と交差する方向である。なお、図1に示すメモリ装置1において、第1方向D1、第2方向D2及び第3方向D3は、ともに互いと直交する。
【0008】
<メモリ装置>
図1は、メモリ装置1の全体構成例を示すブロック図である。図1に示すメモリ装置1は、ダイボンドフレーム10と、リードフレーム11~18と、2個のメモリチップ2と、パッケージ3と、ボンディングワイヤ4と、を有する。
【0009】
ダイボンドフレーム10は、板状の部材である。ダイボンドフレーム10は、2個のメモリチップ2を保持する。2個のメモリチップ2は、第1方向D1に並んで配置される。なお、2個のメモリチップ2を上側のメモリチップ2A、下側のメモリチップ2Bとして区別する場合がある。
【0010】
リードフレーム11~18は、ダイボンドフレーム10と第2方向D2に隣り合うように配置される。図1に示すメモリ装置1において、リードフレーム11~リードフレーム14は、ダイボンドフレーム10の左側、すなわち、第2方向D2の一方側に配置される。また、リードフレーム15~リードフレーム18は、ダイボンドフレーム10の右側、すなわち、第2方向D2の他方側に配置される。
(【0011】以降は省略されています)
この特許をJ-PlatPat(特許庁公式サイト)で参照する
関連特許
ローム株式会社
半導体装置
4日前
ローム株式会社
半導体装置
4日前
ローム株式会社
半導体装置
9日前
ローム株式会社
半導体装置
9日前
ローム株式会社
半導体装置
9日前
ローム株式会社
電源制御装置
4日前
ローム株式会社
信号伝達装置
4日前
ローム株式会社
半導体メモリ装置
11日前
ローム株式会社
モータドライバ回路
4日前
ローム株式会社
半導体装置、電子機器、車両
18日前
ローム株式会社
信号受信装置、IC及び電気機器
2日前
ローム株式会社
半導体装置および半導体装置の製造方法
9日前
ローム株式会社
パルス幅変調回路およびモータ駆動装置
18日前
ローム株式会社
半導体装置、および半導体装置の製造方法
2日前
ローム株式会社
半導体装置、および半導体装置の製造方法
9日前
ローム株式会社
力率改善回路、制御装置、および電子機器
9日前
ローム株式会社
三相ブラシレスモータのドライバ回路および駆動方法
11日前
ローム株式会社
半導体装置
17日前
ローム株式会社
半導体装置、マルチフェーズDC/DCコンバータ及び電源装置
2日前
ローム株式会社
SiC半導体装置
11日前
ローム株式会社
半導体モジュール
4日前
ローム株式会社
半導体装置、および半導体装置の製造方法
11日前
APB株式会社
蓄電セル
23日前
東ソー株式会社
絶縁電線
25日前
個人
フレキシブル電気化学素子
1か月前
ローム株式会社
半導体装置
1か月前
日新イオン機器株式会社
イオン源
1か月前
株式会社ユーシン
操作装置
1か月前
マクセル株式会社
電源装置
17日前
ローム株式会社
半導体装置
1か月前
株式会社東芝
端子台
17日前
ローム株式会社
半導体装置
24日前
株式会社GSユアサ
蓄電装置
10日前
太陽誘電株式会社
コイル部品
1か月前
三菱電機株式会社
回路遮断器
4日前
株式会社GSユアサ
蓄電装置
18日前
続きを見る
他の特許を見る