TOP
|
特許
|
意匠
|
商標
特許ウォッチ
Twitter
他の特許を見る
公開番号
2025137239
公報種別
公開特許公報(A)
公開日
2025-09-19
出願番号
2024036319
出願日
2024-03-08
発明の名称
定電圧生成回路
出願人
ローム株式会社
代理人
弁理士法人太陽国際特許事務所
主分類
G05F
1/56 20060101AFI20250911BHJP(制御;調整)
要約
【課題】負荷回路の動作下限電圧近くまで出力電圧の電圧値を低く設定可能とする。
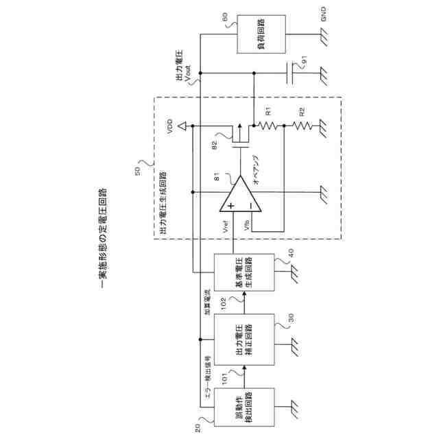
【解決手段】基準電圧生成回路40は、定電流源による定電流を半導体素子に流すことにより基準電圧Vrefを生成して出力する。出力電圧生成回路50は、生成された基準電圧Vrefに基づいて出力電圧Voutを生成して出力する。誤動作検出回路20は、負荷回路60において使用される半導体素子と同様の低電圧動作特性を有する半導体素子を用いて、出力電圧Voutが負荷回路60の動作下限電圧以下になったことを示すエラー検出信号101を生成して出力する。出力電圧補正回路30は、エラー検出信号101がアクティブとなった場合、基準電圧生成回路40の定電流に電流を加算することにより定電流の電流量を異なるタイミングにより順次増加させ、エラー検出信号101がインアクティブとなった場合、定電流への電圧の加算を中止する複数の電流加算回路を有する。
【選択図】図2
特許請求の範囲
【請求項1】
定電流源による定電流を半導体素子に流すことにより基準電圧を生成して出力する基準電圧生成回路と、
前記基準電圧生成回路により生成された前記基準電圧に基づいて生成した電圧を出力電圧として生成する出力電圧生成回路と、
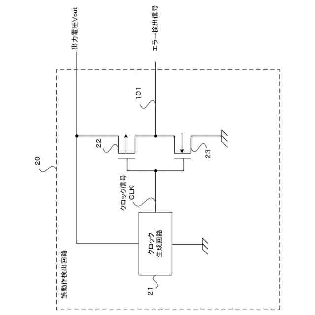
前記出力電圧生成回路からの前記出力電圧を使用して動作する負荷回路において使用される半導体素子と同様の低電圧動作特性を有する半導体素子を用いて、前記出力電圧が前記負荷回路の動作下限電圧以下になったことを示すエラー検出信号を生成して出力する誤動作検出回路と、
前記誤動作検出回路からのエラー検出信号がアクティブとなった場合に、前記基準電圧生成回路における定電流に電流を加算することにより当該定電流の電流量を異なるタイミングにより順次増加させ、前記誤動作検出回路からのエラー検出信号がインアクティブとなった場合には、前記基準電圧生成回路における定電流への電流の加算を中止する複数の電流加算回路を有する出力電圧補正回路と、
を備えた定電圧生成回路。
続きを表示(約 610 文字)
【請求項2】
前記誤動作検出回路が、
前記出力電圧生成回路において生成された前記出力電圧を電源としてクロック信号を生成するクロック生成回路と、
前記出力電圧とグランドとの間に直列に接続されたPMOSトランジスタ及びNMOSトランジスタにより構成され、前記クロック生成回路により生成されたクロック信号の論理を反転して、前記エラー検出信号として出力するインバータ回路と、
から構成されている請求項1に記載の定電圧生成回路。
【請求項3】
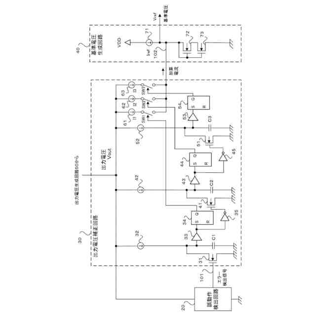
前記複数の電流加算回路が、それぞれ、
第1の定電流源と、
一端がグランドに接続され、前記第1の定電流源からの定電流を蓄積することにより保持する電圧を増加させるキャパシタ素子と、
ゲートに前記誤動作検出回路からのエラー検出信号に基づく信号が入力され、ソースがグランドに接続され、ドレインが前記キャパシタ素子の他端に接続され、前記エラー検出信号がハイレベルである場合、前記キャパシタ素子の電圧をグランドに放電させるように動作するNMOSトランジスタと、
第2の定電流源と、
前記キャパシタ素子に保持されている電圧が予め設定されている閾値以上になると、前記基準電圧生成回路における定電流に、前記第2の定電流源からの定電流を加算するよう切り替える切替回路と、
を有する請求項2に記載の定電圧生成回路。
発明の詳細な説明
【技術分野】
【0001】
本発明は、一定の電圧を生成して出力する定電圧生成回路に関する。
続きを表示(約 1,900 文字)
【背景技術】
【0002】
LSI等の電子回路では、負荷回路の電源として一定の電圧を生成して供給する定電圧生成回路(レギュレータ)が用いられている(例えば、特許文献1参照。)。そして、このような定電圧生成回路においては、入出力電圧差が小さくても動作可能なLDO(Low Drop Out)レギュレータが用いられる場合がある。このLDOレギュレータを用いることにより、入力電圧と出力電圧との電圧差が小さい状態で動作することが可能であるため、電圧差に基づく発熱を抑制して、エネルギーロスを少なくすることが可能となる。
【先行技術文献】
【特許文献】
【0003】
特開2005-174351号公報
【発明の概要】
【発明が解決しようとする課題】
【0004】
しかし、このような定電圧生成回路からの出力電圧は、温度等の様々な環境条件により変動する。そして、出力電圧が負荷回路の動作下限電圧を下回ってしまうと負荷回路が誤動作を行う可能性がある。そのため、環境条件等により出力電圧が変動した場合でも負荷回路の動作下限電圧を下回らないような電圧に出力電圧を設定する必要がある。
【0005】
そして、近年の半導体装置では、低消費電力化の要求は増えており、この低消費電力化を実現するためには動作必要時以外は多くの回路を停止し、最小限必要な回路のみ動作させるようなスリープモードが必要となる場合も多々でてくる。そして、スリープモード時の電圧は低ければ低い程消費電流を小さくできるが、電圧を低くしすぎると負荷回路の動作が不安定となり通常の動作モードに復帰できないといった問題が発生する。そのため、予め動作限界となる最低電圧を決めておき、電圧監視回路によってこの限界を下回った場合にはリセットする等して負荷回路の動作を止めるような回路構成を採用する場合もある。しかし、このような回路構成を採用する場合でも、出力電圧の変動により負荷回路の動作を停止する必要があるため、負荷回路の動作をできるだけ停止しないようにするためには、環境条件等を考慮して出力電圧の電圧値を設定する必要があり、負荷回路の動作下限電圧近くまで出力電圧の電圧値を低く設定することは難しい。
【0006】
そこで、本発明の目的は、負荷回路の動作下限電圧近くまで出力電圧の電圧値を低く設定することが可能な定電圧生成回路を提供することである。
【課題を解決するための手段】
【0007】
上記課題を解決するために、本発明の定電圧生成回路は、定電流源による定電流を半導体素子に流すことにより基準電圧を生成して出力する基準電圧生成回路と、
前記基準電圧生成回路により生成された前記基準電圧に基づいて生成した電圧を出力電圧として生成する出力電圧生成回路と、
前記出力電圧生成回路からの前記出力電圧を使用して動作する負荷回路において使用される半導体素子と同様の低電圧動作特性を有する半導体素子を用いて、前記出力電圧が前記負荷回路の動作下限電圧以下になったことを示すエラー検出信号を生成して出力する誤動作検出回路と、
前記誤動作検出回路からのエラー検出信号がアクティブとなった場合に、前記基準電圧生成回路における定電流に電流を加算することにより当該定電流の電流量を異なるタイミングにより順次増加させ、前記誤動作検出回路からのエラー検出信号がインアクティブとなった場合には、前記基準電圧生成回路における定電流への電圧の加算を中止する複数の電流加算回路を有する出力電圧補正回路と、を備えている。
【図面の簡単な説明】
【0008】
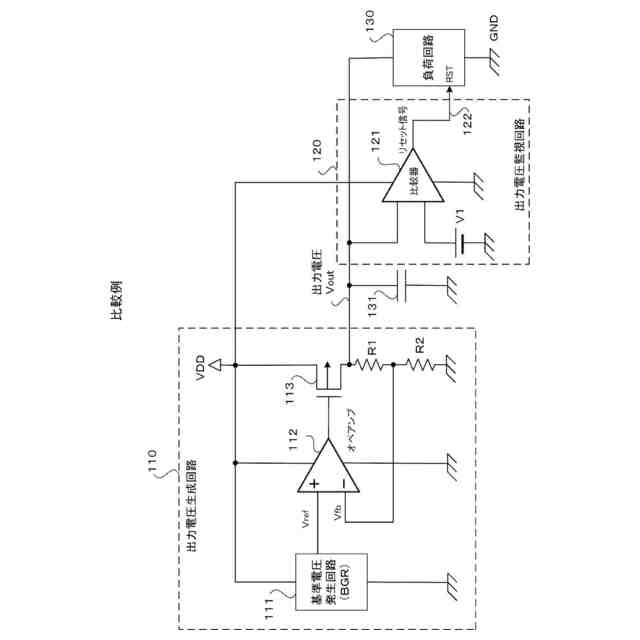
比較例としての定電圧生成回路の回路構成を示す図である。
本発明の一実施形態の定電圧生成回路の回路構成を示す図である。
図2に示した誤動作検出回路20の回路構成を示す図である。
図3に示した誤動作検出回路20の動作波形を示す図である。
図2に示した出力電圧補正回路30及び基準電圧生成回路40の詳細な回路構成を説明するための図である。
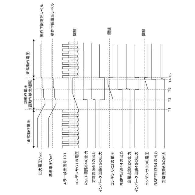
図5に示した出力電圧補正回路30の動作波形を示す図である。
【発明を実施するための形態】
【0009】
次に、本発明の実施の形態について図面を参照して詳細に説明する。
【0010】
まず、本実施形態の定電圧生成回路について説明する前に、比較例として、出力電圧が負荷回路の動作下限電圧以下になると負荷回路をリセットして動作停止状態にするような回路構成の定電圧生成回路について説明する。
(【0011】以降は省略されています)
この特許をJ-PlatPat(特許庁公式サイト)で参照する
関連特許
ローム株式会社
光センサ
3日前
ローム株式会社
半導体装置
3日前
ローム株式会社
半導体装置
3日前
ローム株式会社
半導体装置
4日前
ローム株式会社
電流生成回路、半導体装置、電子機器及び車両
2日前
ローム株式会社
圧電アクチュエータ及び圧電アクチュエータの駆動方法
2日前
ローム株式会社
半導体装置
2日前
ローム株式会社
基板部品、および、半導体装置
4日前
ローム株式会社
半導体ユニット、バッテリユニット、及び車両
2日前
ローム株式会社
半導体素子、半導体回路、半導体装置、モータシステム、電気機器、及びプリンタ
2日前
株式会社豊田自動織機
産業車両
1か月前
株式会社カネカ
製造システム
1か月前
オムロン株式会社
スレーブ装置
20日前
愛知製鋼株式会社
車両用システム
1か月前
株式会社熊谷組
障害物の検出方法
11日前
ローム株式会社
基準電圧源
1か月前
新電元工業株式会社
作業用ロボット
9日前
豊田合成株式会社
機器制御装置
16日前
株式会社ダイフク
搬送設備
1か月前
株式会社ダイフク
搬送設備
1か月前
キヤノン株式会社
配送システム
1か月前
トヨタ自動車株式会社
クラッチペダル
1か月前
エイブリック株式会社
電流補償回路及び半導体装置
5日前
株式会社ダイフク
物品搬送設備
1か月前
カヤバ株式会社
減圧弁
18日前
トヨタ自動車株式会社
制御装置
20日前
株式会社アマダ
工作機械制御装置
10日前
村田機械株式会社
搬送車システム
10日前
ルネサスエレクトロニクス株式会社
半導体装置
1か月前
日野自動車株式会社
自動運転装置
10日前
株式会社TMEIC
安全性診断装置
24日前
株式会社CAOS
移動体の制御システム
1か月前
愛知製鋼株式会社
マーカシステム及び制御方法
1か月前
ローム株式会社
電源回路用の電子負荷装置
24日前
シンフォニアテクノロジー株式会社
自動走行車両
1か月前
トヨタ自動車株式会社
情報処理装置
20日前
続きを見る
他の特許を見る