TOP
|
特許
|
意匠
|
商標
特許ウォッチ
Twitter
他の特許を見る
10個以上の画像は省略されています。
公開番号
2025159141
公報種別
公開特許公報(A)
公開日
2025-10-17
出願番号
2025135698,2021155630
出願日
2025-08-18,2021-09-24
発明の名称
半導体素子、半導体回路、半導体装置、モータシステム、電気機器、及びプリンタ
出願人
ローム株式会社
代理人
弁理士法人 佐野特許事務所
主分類
H10D
89/00 20250101AFI20251009BHJP()
要約
【課題】レイアウトの工夫によって、実装面積の増大を抑制しつつ、電流オフ動作時のラッチアップ発生を抑制することができる半導体素子を提供する。
【解決手段】半導体素子は、第1導電型の半導体基板(S1)上に互いに離間して形成された第1から第4トランジスタ形成領域(1,2,3,4,)と、前記第1トランジスタ形成領域(2)と前記第2トランジスタ形成領域(3)の間に形成されかつ前記半導体基板よりも不純物濃度が高い第1導電型の第1不純物領域(R1)と、前記第3トランジスタ形成領域(4)と前記第4トランジスタ形成領域(1)の間に形成されかつ前記半導体基板よりも不純物濃度が高い第1導電型の第2不純物領域と、を含み、前記第1から第4トランジスタ形成領域は、第1方向(X方向)に並んで配置されている。
【選択図】図4
特許請求の範囲
【請求項1】
第1導電型の半導体基板上に互いに離間して形成された第1から第4トランジスタ形成領域と、
前記第1トランジスタ形成領域と前記第2トランジスタ形成領域の間に形成されかつ前記半導体基板よりも不純物濃度が高い第1導電型の第1不純物領域と、
前記第3トランジスタ形成領域と前記第4トランジスタ形成領域の間に形成されかつ前記半導体基板よりも不純物濃度が高い第1導電型の第2不純物領域と、を含み、
前記第1から第4トランジスタ形成領域は、第1方向に並んで配置されている、半導体素子。
続きを表示(約 860 文字)
【請求項2】
前記第1トランジスタ形成領域と前記第2トランジスタ形成領域の間には前記第3トランジスタ形成領域または記第4トランジスタ形成領域のどちらか一方が配置されている、請求項1に記載の半導体素子。
【請求項3】
前記第1不純物領域及び前記第2不純物領域はグラウンド電圧の印加端である、請求項1に記載の半導体素子。
【請求項4】
前記第1から第4トランジスタ形成領域の各々は第2導電型の第2領域および前記第2領域内に形成された第1導電型の第1領域を含む、請求項3に記載の半導体素子。
【請求項5】
前記第1から第4トランジスタ形成領域の各々の前記第2領域上に形成された第1電極、前記第2領域上に形成された第2電極を含む、請求項1に記載の半導体素子。
【請求項6】
前記第2トランジスタ形成領域の第1電極と前記第1トランジスタ形成領域の第2電極が負荷に接続可能に構成された、請求項5に記載の半導体素子。
【請求項7】
前記第2トランジスタ形成領域の第2電極は電源電圧の印加端であり、前記第1トランジスタ形成領域の第1電極はグラウンド電圧の印加端である、請求項5に記載の半導体素子。
【請求項8】
前記第3トランジスタ形成領域の第1電極と前記第4トランジスタ形成領域の第2電極が負荷に接続可能に構成された、請求項5に記載の半導体素子。
【請求項9】
前記第3トランジスタ形成領域の第2電極は電源電圧の印加端であり、前記第4トランジスタ形成領域の第1電極はグラウンド電圧の印加端である、請求項5に記載の半導体素子。
【請求項10】
第1相ハーフブリッジ回路と、第2相ハーフブリッジ回路とを備え、
前記第1相ハーフブリッジ回路及び前記第2相ハーフブリッジ回路は、請求項1から5のいずれか一項に記載の半導体素子から構成される、半導体回路。
(【請求項11】以降は省略されています)
発明の詳細な説明
【技術分野】
【0001】
本明細書中に開示されている発明は、半導体素子、半導体回路、半導体装置、モータシステム、電気機器、及びプリンタに関する。
続きを表示(約 1,900 文字)
【背景技術】
【0002】
従来、ブリッジ出力段を用いてモータの駆動電流を生成するモータ駆動回路が様々なアプリケーションで利用されている。モータ駆動回路に設けられるブリッジ出力段としては、Hブリッジ出力段、3相ブリッジ出力段などがある。
【先行技術文献】
【特許文献】
【0003】
特開2017-189066号公報
【発明の概要】
【発明が解決しようとする課題】
【0004】
一般的なモータ駆動回路では、モータの励磁コイルに流していた駆動電流をオン状態からオフ状態に切り替える電流オフ動作時において、意図しないラッチアップを生じるおそれがあった。
【0005】
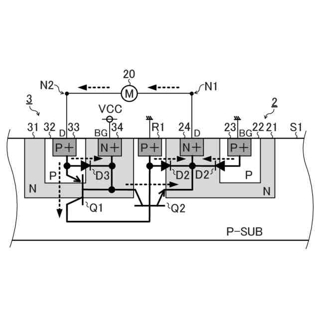
特許文献1の段落0076では、レイアウトの工夫によるラッチアップの解消策として、(i)第1相ハイサイドトランジスタと第2相ローサイドトランジスタとの素子間距離を広げるレイアウト、(ii)第1相ハイサイドトランジスタと第2相ローサイドトランジスタとの間に素子分離部を埋設するレイアウト、(iii)電源電圧が印加されたn型ウェルとグラウンド電圧が印加されたp型ウェルを形成して第2相ローサイドトランジスをフローティング構造とするレイアウト、を例示している。しかしながら、上記(i)~(iii)のラッチアップ解消策では、実装面積の増大を招くというデメリットがある。
【0006】
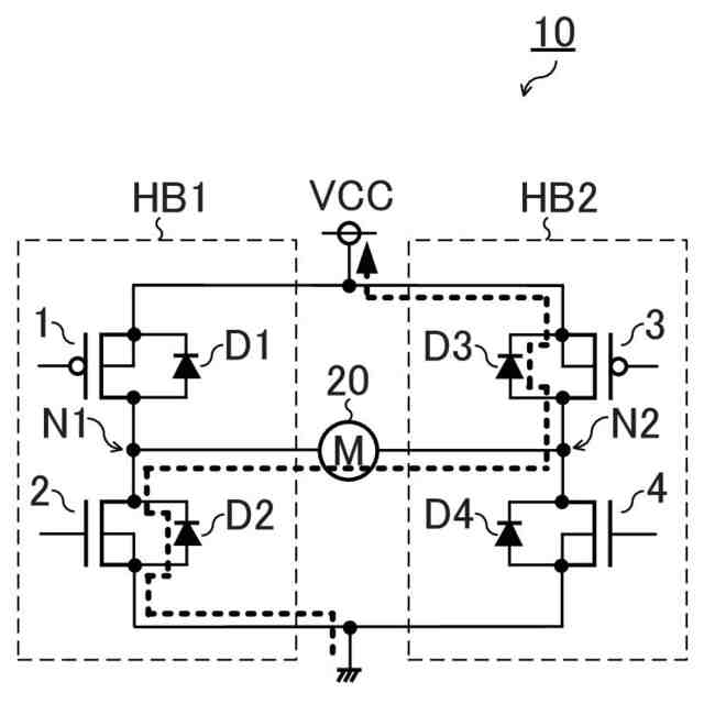
本明細書中に開示されているモータ駆動回路は、第1相ハーフブリッジ回路と、第2相ハーフブリッジ回路と、を備える。前記第1相ハーフブリッジ回路は、第1端に第1電圧が印加されるように構成される第1相ハイサイドFETと、第1端に前記第1相ハイサイドFETの第2端が接続され、第2端に前記第1電圧より低い第2電圧が印加されるように構成される第1相ローサイドFETと、を備える。前記第2相ハーフブリッジ回路は、第1端に前記第1電圧が印加されるように構成される第2相ハイサイドFETと、第1端に前記第2相ハイサイドFETの第2端が接続され、第2端に前記第2電圧が印加されるように構成される第2相ローサイドFETと、を備える。前記第1相ハイサイドFETと前記第2相ローサイドFETとの間に、前記第1相ローサイドFET又は前記第2相ハイサイドFETが配置される。前記第1相ローサイドFETと前記第2相ハイサイドFETとの間に、前記第2相ローサイドFET又は前記第1相ハイサイドFETが配置される。
【0007】
本明細書中に開示されているモータシステムは、モータと、前記モータを駆動するように構成される上記構成のモータ駆動回路と、を備える。
【0008】
本明細書中に開示されている電気機器は、上記構成のモータシステムを備える。
【発明の効果】
【0009】
本明細書中に開示されているモータ駆動回路、モータシステム、及び電気機器によれば、レイアウトの工夫によって、実装面積の増大を抑制しつつ、電流オフ動作時のラッチアップ発生を抑制することができる。
【図面の簡単な説明】
【0010】
図1は、第1実施形態に係るモータ駆動回路の構成を示す図である。
図2は、Nチャネル型FET及びPチャネル型FETの縦構造を示す図である。
図3は、寄生PNPトランジスタQ1及び寄生NPNトランジスタQ2によって構成されるサイリスタを示す図である。
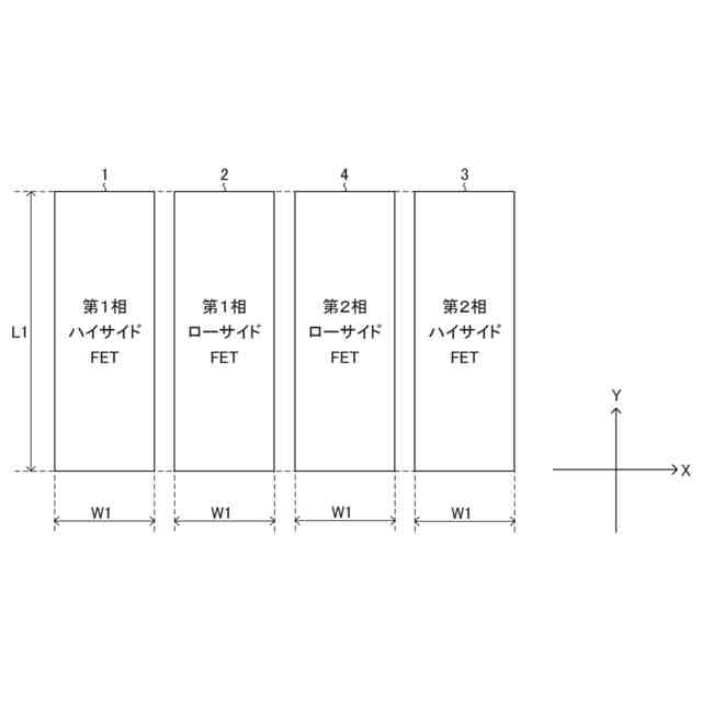
図4は、Pチャネル型FET及びNチャネル型FETの第1レイアウト例を示す図である。
図5は、第1レイアウト例における配線パターンの一例を示す図である。
図6は、第1レイアウト例における配線パターンの他の例を示す図である。
図7は、Pチャネル型FET及びNチャネル型FETの第2レイアウト例を示す図である。
図8は、Pチャネル型FET及びNチャネル型FETの第3レイアウト例を示す図である。
図9は、Pチャネル型FET及びNチャネル型FETの第4レイアウト例を示す図である。
図10は、第2実施形態に係るモータ駆動回路の構成を示す図である。
図11は、Nチャネル型FETの縦構造を示す図である。
図12は、モータシステムのブロック図である。
図13は、プリンタの外観斜視図である。
図14は、変形例に係るに係るモータ駆動回路の構成を示す図である。
図15は、Pチャネル型FET及びNチャネル型FETのレイアウト例を示す図である。
【発明を実施するための形態】
(【0011】以降は省略されています)
この特許をJ-PlatPat(特許庁公式サイト)で参照する
関連特許
ローム株式会社
半導体装置
3日前
ローム株式会社
半導体集積回路
10日前
ローム株式会社
サーマルプリントヘッド
10日前
ローム株式会社
電源制御装置及び電源装置
3日前
ローム株式会社
電源制御装置、スイッチング電源
3日前
ローム株式会社
ドライバ、信号伝達装置、電子機器、車両
3日前
ローム株式会社
検出回路、信号伝達装置、電子機器、車両
10日前
ローム株式会社
サーマルプリントヘッド及びその製造方法
10日前
ローム株式会社
窒化物半導体装置および窒化物半導体装置の製造方法
10日前
ローム株式会社
半導体装置
3日前
ローム株式会社
半導体装置
3日前
ローム株式会社
半導体装置
10日前
ローム株式会社
双方向DC/DCコンバータ、電源遮断保護回路および半導体装置
4日前
ローム株式会社
トランスデューサ、共振器、発振器及びトランスデューサの製造方法
3日前
ローム株式会社
トランスデューサ、及びその駆動方法、並びにシステム
10日前
個人
積和演算用集積回路
1か月前
サンケン電気株式会社
半導体装置
1か月前
日機装株式会社
半導体発光装置
26日前
旭化成株式会社
発光素子
1か月前
ローム株式会社
抵抗チップ
1か月前
ローム株式会社
半導体装置
10日前
三菱電機株式会社
半導体装置
18日前
富士電機株式会社
半導体装置
1か月前
三菱電機株式会社
半導体装置
1か月前
株式会社東芝
半導体装置
18日前
株式会社半導体エネルギー研究所
表示装置
10日前
三菱電機株式会社
半導体装置
5日前
日亜化学工業株式会社
発光装置
1か月前
ローム株式会社
半導体集積回路
1か月前
株式会社半導体エネルギー研究所
発光デバイス
26日前
ローム株式会社
半導体装置
3日前
株式会社半導体エネルギー研究所
発光デバイス
1か月前
ローム株式会社
半導体装置
1か月前
サンケン電気株式会社
半導体装置
18日前
ローム株式会社
半導体装置
1か月前
ローム株式会社
窒化物半導体装置
1か月前
続きを見る
他の特許を見る