TOP
|
特許
|
意匠
|
商標
特許ウォッチ
Twitter
他の特許を見る
公開番号
2025175090
公報種別
公開特許公報(A)
公開日
2025-11-28
出願番号
2025149246,2022524291
出願日
2025-09-09,2021-03-24
発明の名称
トランスデューサ、及びその駆動方法、並びにシステム
出願人
ローム株式会社
代理人
個人
,
個人
,
個人
,
個人
主分類
H04R
17/00 20060101AFI20251120BHJP(電気通信技術)
要約
【課題】振動体の共振周波数を可変することができるトランスデューサを提供する。
【解決手段】圧電素子と、中空部を有する膜支持部と、前記膜支持部に連結され、膜厚方向に変位可能な振動膜と、を備え、かつ、前記振動膜上に前記圧電素子が積層される、膜体と、を有し、前記圧電素子は、第1の一対の電極と、前記第1の一対の電極に挟まれた第1の圧電膜と、を備える第1の積層体と、第2の一対の電極と、前記第2の一対の電極に挟まれた第2の圧電膜と、を備え、前記第1の積層体と離間する第2の積層体と、を有する、トランスデューサ。
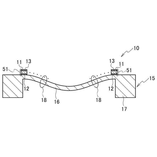
【選択図】図1
特許請求の範囲
【請求項1】
圧電素子と、
中空部を有する膜支持部と、前記膜支持部に連結され、膜厚方向に変位可能な振動膜と、を備え、かつ、前記振動膜上に前記圧電素子が積層される、膜体と、を有し、
前記圧電素子は、
第1の一対の電極と、前記第1の一対の電極に挟まれた第1の圧電膜と、を備える第1の積層体と、
第2の一対の電極と、前記第2の一対の電極に挟まれた第2の圧電膜と、を備え、前記第1の積層体と離間する第2の積層体と、を有するトランスデューサ。
続きを表示(約 1,200 文字)
【請求項2】
前記圧電素子は、さらに、第3の一対の電極と、前記第3の一対の電極に挟まれた第3の圧電膜と、を備える第3の積層体と、を有し、
前記第3の積層体は、前記第1の積層体及び前記第2の積層体に挟まれ、かつ、前記第1の積層体及び前記第2の積層体と離間する、請求項1に記載のトランスデューサ。
【請求項3】
圧電素子と、
中空部を有する膜支持部と、前記膜支持部に連結され、膜厚方向に変位可能な振動膜と、を備え、かつ、前記振動膜上に前記圧電素子が積層される、膜体と、を有し、
前記圧電素子は、
第1の電極と、
第1の圧電膜及び第2の電極を備える第1の積層体と、
第2の圧電膜及び第3の電極を備え、前記第1の積層体と離間する第2の積層体と、を有し、
前記第1の圧電膜は、前記第1の電極及び前記第2の電極に挟まれ、
前記第2の圧電膜は、前記第1の電極及び前記第3の電極に挟まれる、トランスデューサ。
【請求項4】
前記第1の圧電膜及び前記第2の圧電膜は、前記第1の電極上に位置する、請求項3に記載のトランスデューサ。
【請求項5】
前記圧電素子は、さらに、第3の圧電膜及び第4の電極、を備える第3の積層体と、を有し、
前記第3の積層体は、前記第1の積層体及び前記第2の積層体に挟まれ、かつ、前記第1の積層体及び前記第2の積層体と離間する、請求項3又は4に記載のトランスデューサ。
【請求項6】
前記第2の積層体の端部は、前記振動膜に対する法線方向から視て前記膜支持部と重畳する領域を有する、請求項1~5のいずれか1項に記載のトランスデューサ。
【請求項7】
前記第1の積層体は、前記第2の積層体に囲まれている、請求項1~6のいずれか1項に記載のトランスデューサ。
【請求項8】
圧電素子と、
中空部を有する膜支持部と、前記膜支持部に連結され、膜厚方向に変位可能な振動膜と、を備え、かつ、前記振動膜上に前記圧電素子が積層される、膜体と、を有し、
前記圧電素子は、
第1の電極と、
第2の電極と、
前記第1の電極及び前記第2の電極に挟まれた圧電膜と、
第3の電極と、を有し、
前記圧電膜は、前記第1の電極及び前記第3の電極に挟まれ、
前記第3の電極は、前記第2の電極と離間する、トランスデューサ。
【請求項9】
前記第3の電極の端部は、前記振動膜に対する法線方向から視て前記膜支持部と重畳する領域を有する、請求項8に記載のトランスデューサ。
【請求項10】
前記圧電膜は、前記第1の電極上に位置する、請求項8又は9に記載のトランスデューサ。
(【請求項11】以降は省略されています)
発明の詳細な説明
【技術分野】
【0001】
本実施形態は、トランスデューサ、及びその駆動方法、並びにシステムに関する。
続きを表示(約 1,600 文字)
【背景技術】
【0002】
従来、音波又は超音波の送信又は受信を行うトランスデューサが知られている。トランスデューサは、例えば、音波を送信するスピーカとして利用され、イヤホン又はウェアラブル端末などに搭載されている。
【0003】
例えば、特許文献1には、イヤホンに好適な音発生装置が開示されている。この音発生装置は、磁界を発生させるコイルと、コイルにより発生させた磁界と相互作用して振動板を振動させるマグネットとを備えている。
【0004】
コイルとマグネットとを用いるスピーカは、磁界を発生させるためにコイルに電流を流す必要があり、消費電力が高くなる。そこで、一対の電極によって圧電膜を両側から挟んで構成される圧電素子を利用したスピーカが注目されている(例えば、特許文献2)。この類のスピーカは、微細加工を実現する半導体製造技術であるMEMS(Micro Electro Mechanical Systems)を用いて製造される。
【先行技術文献】
【特許文献】
【0005】
特開2018-170592号公報
特開2012-105170号公報
【発明の概要】
【発明が解決しようとする課題】
【0006】
圧電素子は一対の電極に対して駆動電圧を繰り返し印加することで、圧電素子と共に振動膜が上側への変位と下側への変位を交互に繰り返す。具体的には、振動膜の先端側が反るように変位する。当該振動膜の振動により、振動膜の周囲の空気が振動させられ、空気の振動が音波として出力される。出力される音波の性質は、振動体(例えば、振動膜)の強度などの性質や大きさ(径や長さ)などによって決まる振動体の共振周波数に依存している。
【0007】
出力される音波を受信する受信側において、振動体の共振周波数が最適なものでない場合、受信感度が低下してしまう。また、振動体の共振周波数を調整するためには、振動体の設計を変更する必要がある。このため、振動体の設計を決定すると振動体の共振周波数は固定され、この共振周波数を再調整することは多大な時間と労力が必要になってしまう。
【0008】
本実施形態の一態様は、振動体の共振周波数を可変することができるトランスデューサを提供する。また、本実施形態の他の一態様は、当該トランスデューサの駆動方法を提供する。さらに、本実施形態の他の一態様は、振動体を、感度の高い、適した状態になるように振動体の共振周波数を調整するシステムを提供する。
【課題を解決するための手段】
【0009】
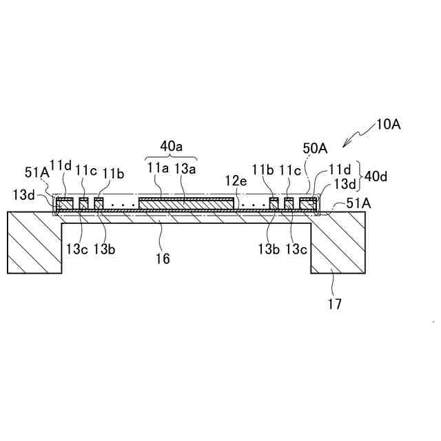
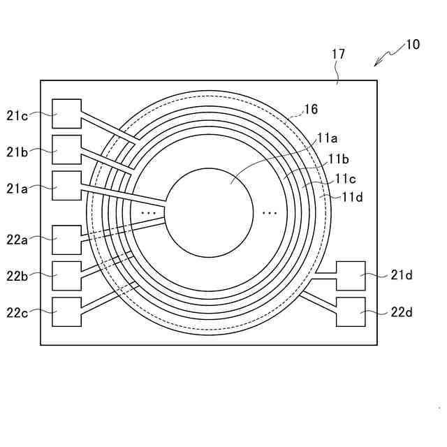
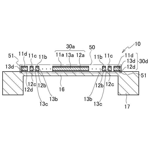
本実施形態の一態様は、圧電素子と、中空部を有する膜支持部と、前記膜支持部に連結され、膜厚方向に変位可能な振動膜と、を備え、かつ、前記振動膜上に前記圧電素子が積層される、膜体と、を有し、前記圧電素子は、第1の一対の電極と、前記第1の一対の電極に挟まれた第1の圧電膜と、を備える第1の積層体と、第2の一対の電極と、前記第2の一対の電極に挟まれた第2の圧電膜と、を備え、前記第1の積層体と離間する第2の積層体と、を有する、トランスデューサである。
【0010】
本実施形態の他の一態様は、圧電素子と、中空部を有する膜支持部と、前記膜支持部に連結され、膜厚方向に変位可能な振動膜と、を備え、かつ、前記振動膜上に前記圧電素子が積層される、膜体と、を有し、前記圧電素子は、第1の電極と、第1の圧電膜及び第2の電極を備える第1の積層体と、第2の圧電膜及び第3の電極を備え、前記第1の積層体と離間する第2の積層体と、を有し、前記第1の圧電膜は、前記第1の電極及び前記第2の電極に挟まれ、前記第2の圧電膜は、前記第1の電極及び前記第3の電極に挟まれる、トランスデューサである。
(【0011】以降は省略されています)
この特許をJ-PlatPat(特許庁公式サイト)で参照する
関連特許
ローム株式会社
半導体装置
3日前
ローム株式会社
半導体装置
3日前
ローム株式会社
半導体装置
11日前
ローム株式会社
半導体装置
3日前
ローム株式会社
半導体集積回路
4日前
ローム株式会社
定電圧生成回路
3日前
ローム株式会社
定電圧生成回路
3日前
ローム株式会社
半導体集積回路
3日前
ローム株式会社
半導体モジュール
12日前
ローム株式会社
比較回路、半導体装置
3日前
ローム株式会社
逐次比較型AD変換回路
11日前
ローム株式会社
サーマルプリントヘッド
3日前
ローム株式会社
半導体装置およびシステム
11日前
ローム株式会社
監視回路及びレジスタ制御装置
3日前
ローム株式会社
昇圧型スイッチングレギュレータ
5日前
ローム株式会社
電圧調整装置及び電荷蓄積システム
5日前
ローム株式会社
モータドライバ回路および駆動方法
4日前
ローム株式会社
半導体装置および半導体装置の製造方法
4日前
ローム株式会社
半導体装置、および半導体装置の製造方法
17日前
ローム株式会社
サーマルプリントヘッド及びその製造方法
3日前
ローム株式会社
半導体装置、および半導体装置の製造方法
3日前
ローム株式会社
検出回路、信号伝達装置、電子機器、車両
3日前
ローム株式会社
コントローラ、ターゲット、及び通信システム
3日前
ローム株式会社
電源回路、電子コントロールユニット、自動車
11日前
ローム株式会社
雨検出装置、雨検出システム、および、雨検出方法
5日前
ローム株式会社
窒化物半導体装置および窒化物半導体装置の製造方法
3日前
ローム株式会社
信号伝達装置、電子機器、車両、絶縁ゲートドライバIC
11日前
ローム株式会社
半導体装置
3日前
ローム株式会社
制御装置、力率改善回路、電子機器、およびオフセット設定方法
11日前
ローム株式会社
オーディオ回路、それを用いた電子機器および車載オーディオシステム
4日前
ローム株式会社
スイッチング装置、絶縁型DC/DCコンバータ及びAC/DCコンバータ
5日前
ローム株式会社
半導体装置および半導体モジュール
5日前
ローム株式会社
トランスデューサ、及びその駆動方法、並びにシステム
3日前
個人
イヤーピース
24日前
個人
イヤーマフ
1か月前
個人
監視カメラシステム
1か月前
続きを見る
他の特許を見る