TOP
|
特許
|
意匠
|
商標
特許ウォッチ
Twitter
他の特許を見る
10個以上の画像は省略されています。
公開番号
2025172966
公報種別
公開特許公報(A)
公開日
2025-11-26
出願番号
2025151187,2022551836
出願日
2025-09-11,2021-09-06
発明の名称
半導体装置および半導体モジュール
出願人
ローム株式会社
代理人
弁理士法人あい特許事務所
主分類
H01L
21/768 20060101AFI20251118BHJP(基本的電気素子)
要約
【課題】ノイズに起因する不所望な電界集中を抑制し、トランスの電気的特性の変動を抑制する半導体装置を提供する。
【解決手段】半導体装置A3は、主面401を有する半導体チップ40と、主面401上に形成された第1導電層36と、第1導電層36を覆うように主面401上に形成され、少なくとも3層以上の第1絶縁層57を含む第1絶縁部50と、第1絶縁部50上に形成され、第1絶縁層57とは異なる誘電率を有し、第1絶縁部50には含まれない第2絶縁層84を含む第2絶縁部7と、第2絶縁部7上に形成され、第1絶縁部50および第2絶縁部7を介して第1導電層36に対向し、第1導電層36とは異なる電位に接続される第2導電層33と、を含む。
【選択図】図36
特許請求の範囲
【請求項1】
主面を有する半導体層と、
前記半導体層の前記主面上に形成された第1導電層と、
前記第1導電層を覆うように前記半導体層の前記主面上に形成され、少なくとも酸化シリコン膜を含む第1絶縁部と、
前記第1絶縁部上に形成され、前記酸化シリコン膜とは異なる誘電率を有し、前記第1絶縁部には含まれない第2絶縁層を含む第2絶縁部と、
前記第2絶縁部上に形成され、前記第1絶縁部および前記第2絶縁部を介して前記第1導電層に対向し、前記第1導電層とは異なる電位に接続される第2導電層と、
前記第1導電層に電気的に接続された第1パッドと、
前記第2絶縁部上に形成され、前記半導体層の前記主面と平行な第1方向において前記第1パッドとの間で前記第2導電層が位置して前記第2導電層に電気的に接続された第2パッドと、
前記第2導電層を覆うと共に前記第2パッドの少なくとも一部を覆うように前記第2絶縁部上に形成された第1保護層と、
前記半導体層の前記主面と垂直な第2方向において前記第2パッドの一部と重なって前記第1保護層を覆うように前記第1保護層上に形成された第2保護層とを含む、半導体装置。
続きを表示(約 710 文字)
【請求項2】
前記第1絶縁部は窒化シリコン膜と酸化シリコン膜の積層体を含む、請求項1に記載の半導体装置。
【請求項3】
前記第1パッドは前記第2絶縁部上に形成されている、請求項1または2に記載の半導体装置。
【請求項4】
前記第1保護層および前記第2保護層は、有機絶縁層を含む、請求項1~3のいずれか一項に記載の半導体装置。
【請求項5】
前記第1保護層および前記第2保護層は、互いに異なる有機絶縁材料を含む、請求項4に記載の半導体装置。
【請求項6】
前記有機絶縁層は、ポリイミド膜、フェノール樹脂膜およびエポキシ樹脂膜の少なくとも1つを含む、請求項4に記載の半導体装置。
【請求項7】
前記第2保護層は、ポリイミド膜、フェノール樹脂膜およびエポキシ樹脂膜の少なくとも1つを含む有機絶縁層である、請求項1~6のいずれか一項に記載の半導体装置。
【請求項8】
前記第1絶縁部は、5μm以上50μm以下の厚さを有し、
前記第2絶縁部は、2μm以上100μm以下の厚さを有している、請求項1~7のいずれか一項に記載の半導体装置。
【請求項9】
前記第1パッドおよび前記第2パッドの間の距離は、前記第1絶縁部および前記第2絶縁部の厚さの和よりも大きい、請求項1~8のいずれか一項に記載の半導体装置。
【請求項10】
前記第1導電層は、第1コイルを含み、
前記第2導電層は、第2コイルを含む、請求項1~9のいずれか一項に記載の半導体装置。
(【請求項11】以降は省略されています)
発明の詳細な説明
【技術分野】
【0001】
本開示は、半導体装置、および半導体装置を備える半導体モジュールに関する。
続きを表示(約 5,400 文字)
【背景技術】
【0002】
たとえば、特許文献1は、電源と、電源によって給電され、感温ダイオードのアノードに接続された出力端子を有する定電流源と、非反転入力端子および反転入力端子を有し、非反転入力端子には感温ダイオードのアノードの電圧が印加されており、反転入力端子にはキャリア生成回路の出力するキャリア信号(三角波信号)が印加されているPWMコンパレータと、PWMコンパレータの出力端子に接続され、高電圧システムと低電圧システムとを絶縁しつつも信号をその一方から他方へと伝達させるための絶縁手段であるフォトカプラとを備える、集積回路を開示している。
【先行技術文献】
【特許文献】
【0003】
特開2011-7580号公報
【発明の概要】
【課題を解決するための手段】
【0004】
本開示の一実施形態に係る半導体装置は、主面を有する半導体層と、前記半導体層の前記主面上に形成された第1導電層と、前記第1導電層を覆うように前記半導体層の前記主面上に形成され、少なくとも3層以上の第1絶縁層を含む第1絶縁部と、前記第1絶縁部上に形成され、前記第1絶縁層とは異なる誘電率を有し、前記第1絶縁部には含まれない第2絶縁層を含む第2絶縁部と、前記第2絶縁部上に形成され、前記第1絶縁部および前記第2絶縁部を介して前記第1導電層に対向し、前記第1導電層とは異なる電位に接続される第2導電層とを含む。
【図面の簡単な説明】
【0005】
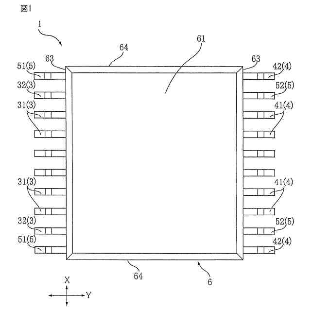
図1は、本開示の一実施形態にかかる半導体モジュールを示す平面図である。
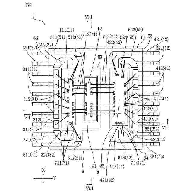
図2は、図1の半導体モジュールを示す平面図である(封止樹脂を省略)。
図3は、図1の半導体モジュールを示す左側面図である。
図4は、図1の半導体モジュールを示す右側面図である。
図5は、図1の半導体モジュールを示す正面図である。
図6は、図1の半導体モジュールを示す背面図である。
図7は、図2のVII-VII断面を示す図である。
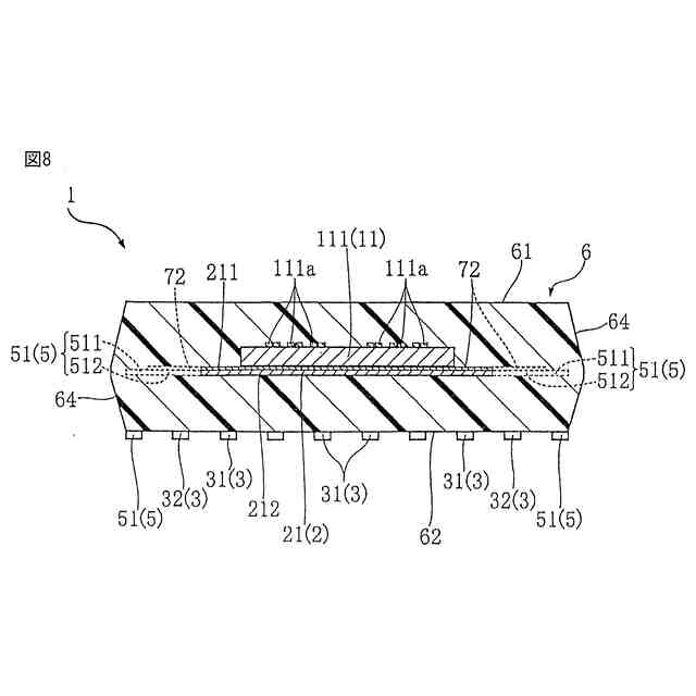
図8は、図2のVIII-VIII断面を示す図である。
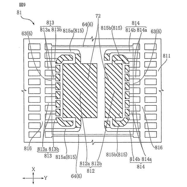
図9は、図1の半導体モジュールのリードフレームを示す平面図である。
図10は、本開示の一実施形態に係る車両の模式図である。
図11は、本開示の一実施形態に係るモータ駆動装置の一構成例を示すブロック図である。
図12は、トランスを介した送受信回路部分の詳細図である。
図13は、半導体モジュールの端子配置および封止樹脂内におけるチップ配列の一例を示す模式図である。
図14は、半導体モジュールの外部端子の説明テーブルの一例である。
図15は、半導体モジュール1の電気的特性テーブルの一例である。
図16は、信号伝達装置の第1実施形態を示す回路ブロック図である。
図17は、本開示の一実施形態に係る半導体装置の模式的な平面図である。
図18は、図17の半導体装置において低電位コイルが形成された層を示す平面図である。
図19は、図17の半導体装置において高電位コイルが形成された層を示す平面図である。
図20は、図17の半導体装置の模式的な断面図である。
図21は、図17の半導体装置の要部拡大図である。
図22は、図19の領域Aの拡大図である。
図23は、図19の領域Bの拡大図である。
図24は、図19の領域Cの拡大図である。
図25Aは、図17の半導体装置の製造工程の一部を示す図である。
図25Bは、図17の半導体装置の製造工程の一部を示す図である。
図26Aは、図25Aの次の工程を示す図である。
図26Bは、図25Bの次の工程を示す図である。
図27Aは、図26Aの次の工程を示す図である。
図27Bは、図26Bの次の工程を示す図である。
図28Aは、図27Aの次の工程を示す図である。
図28Bは、図27Bの次の工程を示す図である。
図29Aは、図28Aの次の工程を示す図である。
図29Bは、図28Bの次の工程を示す図である。
図30Aは、図29Aの次の工程を示す図である。
図30Bは、図29Bの次の工程を示す図である。
図31Aは、図30Aの次の工程を示す図である。
図31Bは、図30Bの次の工程を示す図である。
図32Aは、図31Aの次の工程を示す図である。
図32Bは、図31Bの次の工程を示す図である。
図33は、本開示の一実施形態に係る半導体装置の模式的な断面図である。
図34は、本開示の一実施形態に係る半導体装置の模式的な断面図である。
図35は、本開示の一実施形態に係る半導体装置の模式的な断面図である。
図36は、本開示の一実施形態に係る半導体装置の模式的な断面図である。
図37は、本開示の一実施形態に係る半導体装置の模式的な断面図である。
図38は、本開示の一実施形態に係る半導体装置の模式的な断面図である。
図39は、本開示の一実施形態に係る半導体装置の模式的な断面図である。
図40は、本開示の一実施形態に係る半導体装置の模式的な平面図である。
図41は、図40の半導体装置において低電位コイルが形成された層を示す平面図である。
図42は、図40の半導体装置において高電位コイルが形成された層を示す平面図である。
図43は、図40の半導体装置の模式的な断面図である。
図44は、本開示の一実施形態に係る半導体装置の模式的な断面図である。
図45は、本開示の一実施形態に係る半導体装置の模式的な断面図である。
図46は、本開示の一実施形態に係る半導体装置の模式的な断面図である。
図47は、本開示の一実施形態に係る半導体装置の模式的な断面図である。
図48は、本開示の一実施形態に係る半導体装置の模式的な断面図である。
図49は、本開示の一実施形態に係る半導体装置の模式的な断面図である。
図50は、本開示の一実施形態に係る半導体装置の模式的な断面図である。
図51は、本開示の一実施形態に係る半導体装置の模式的な平面図である。
図52は、図51の半導体装置において低電位コイルが形成された層を示す平面図である。
図53は、図51の半導体装置において高電位コイルが形成された層を示す平面図である。
図54は、図51の半導体装置の模式的な断面図である。
図55は、図51の半導体装置の要部拡大図である。
図56は、本開示の一実施形態に係る半導体装置の模式的な断面図である。
図57は、本開示の一実施形態に係る半導体装置の模式的な断面図である。
図58は、本開示の一実施形態に係る半導体装置の模式的な断面図である。
図59は、本開示の一実施形態に係る半導体装置D1の模式的な平面図である。
図60は、図59の半導体装置D1において低電位コイル915が形成された層を示す平面図である。
図61は、図59の半導体装置D1において高電位コイル916が形成された層を示す平面図である。
図62は、図59の半導体装置D1の模式的な断面図である。
図63は、図59の半導体装置の効果を説明するための図である。
図64は、本開示の一実施形態に係る半導体装置D1の模式的な断面図である。
図65は、図64の半導体装置の効果を説明するための図である。
図66は、本開示の一実施形態に係る半導体装置D1の模式的な断面図である。
図67は、本開示の一実施形態に係る半導体装置E1の模式的な平面図である。
図68は、図67の半導体装置E1において低電位コイル20が形成された層を示す平面図である。
図69は、図67の半導体装置E1において高電位コイル1016が形成された層を示す平面図である。
図70は、図67の半導体装置E1の模式的な断面図である。
図71は、図70の高電位コイル1016の要部拡大図である。
図72は、図71の高電位コイル1016の形成に関連する工程を示す図である。
図73は、図72の次の工程を示す図である。
図74は、図73の次の工程を示す図である。
図75は、図74の次の工程を示す図である。
図76は、図75の次の工程を示す図である。
図77は、図76の次の工程を示す図である。
図78は、本開示の一実施形態に係る半導体装置E1の模式的な断面図である。
図79は、本開示の一実施形態に係る半導体装置E1の模式的な断面図である。
図80は、図79の高電位コイル1016の要部拡大図である。
図81は、図80の高電位コイル1016の形成に関連する工程を示す図である。
図82は、図81の次の工程を示す図である。
図83は、図82の次の工程を示す図である。
図84は、図83の次の工程を示す図である。
図85は、図84の次の工程を示す図である。
図86は、本開示の一実施形態に係る半導体装置E1の模式的な断面図である。
図87は、前記実施形態の変形例を示す図である。
図88は、前記実施形態の変形例を示す図である。
図89は、前記実施形態の変形例を示す図である。
図90は、前記実施形態の変形例を示す図である。
図91は、前記実施形態の変形例を示す図である。
図92は、前記実施形態の変形例を示す図である。
【発明を実施するための形態】
【0006】
以下では、添付図面を参照して、本開示の実施形態を詳細に説明する。
[半導体モジュールの構造]
図1~図9を参照して、半導体モジュール1の構造について説明する。説明の便宜上、平面図の上下方向を第1方向X、第1方向Xに対して直角である平面図の左右方向を第2方向Yとそれぞれ定義する。第1方向Xおよび第2方向Yは、ともに半導体モジュール1の厚さ方向に対して直角である。
【0007】
図1は、半導体モジュール1を示す平面図である。図2は、理解の便宜上、図1から後述する封止樹脂6を省略した平面図である。図3は、半導体モジュール1を示す左側面図である。図4は、半導体モジュール1を示す右側面図である。図5は、半導体モジュール1を示す正面図である。図6は、半導体モジュール1を示す背面図である。図7は、図2のVII-VII線(一点鎖線)に沿う断面図である。図8は、図2のVIII-VIII線に沿う断面図である。なお、図2においては、封止樹脂6を想像線(二点鎖線)により図示している。図7および図8においては、封止樹脂6を省略せず図示している。
【0008】
半導体モジュール1は、たとえば電気自動車、またはハイブリッド自動車などのインバータ装置の回路基板に表面実装されるものであり、パッケージ形式がSOPである。なお、半導体モジュール1は、SOPに限らず、QFN(Quad For Non Lead Package)、DFP(Dual Flat Package)、DIP(Dual Inline Package)、QFP(Quad Flat Package)、SIP(Single Inline Package)、もしくは、SOJ(Small Outline J-leaded Package)、または、これらに類する種々のパッケージ形式からなっていてもよい。
【0009】
半導体モジュール1は、半導体素子11、絶縁素子12、導電支持部材80、封止樹脂6、ボンディングワイヤ71、内装めっき層72および外装めっき層73を備えている。この形態においては、半導体モジュール1は、平面視矩形状である。
【0010】
半導体素子11および絶縁素子12は、半導体モジュール1を機能させるための素子である。半導体素子11は、制御素子111および駆動素子112を含む。制御素子111は、たとえばECUから入力された制御信号をPWM制御信号に変換する回路と、前記PWM制御信号を駆動素子112へ伝送するための送信回路と、駆動素子112からの電気信号を受ける受信回路とを有する。駆動素子112は、前記PWM制御信号を受信する受信回路と、前記PWM信号に基づきIGBTなどのパワー半導体素子のスイッチング動作を行う回路(ゲートドライバ)と、電気信号を制御素子111へ伝送するための送信回路とを有する。前記電気信号は、たとえばモータ近傍に設置された温度センサからの出力信号が挙げられる。
(【0011】以降は省略されています)
この特許をJ-PlatPat(特許庁公式サイト)で参照する
関連特許
東ソー株式会社
絶縁電線
1か月前
APB株式会社
蓄電セル
1か月前
ローム株式会社
半導体装置
1か月前
マクセル株式会社
電源装置
27日前
株式会社東芝
端子台
27日前
株式会社GSユアサ
蓄電装置
20日前
株式会社GSユアサ
蓄電装置
28日前
株式会社GSユアサ
蓄電装置
28日前
三菱電機株式会社
回路遮断器
14日前
株式会社GSユアサ
蓄電装置
6日前
富士電機株式会社
電磁接触器
6日前
ホシデン株式会社
複合コネクタ
今日
日本特殊陶業株式会社
保持装置
19日前
北道電設株式会社
配電具カバー
1か月前
トヨタ自動車株式会社
冷却構造
1か月前
トヨタ自動車株式会社
バッテリ
1か月前
日新イオン機器株式会社
基板処理装置
1か月前
トヨタ自動車株式会社
蓄電装置
28日前
ローム株式会社
半導体モジュール
7日前
日本無線株式会社
レーダアンテナ
21日前
矢崎総業株式会社
コネクタ
6日前
甲神電機株式会社
変流器及び零相変流器
21日前
株式会社デンソー
電子装置
1か月前
住友電装株式会社
コネクタ
6日前
住友電装株式会社
コネクタ
1か月前
トヨタ自動車株式会社
密閉型電池
29日前
ヒロセ電機株式会社
電気コネクタ
6日前
株式会社レゾナック
冷却器
14日前
日亜化学工業株式会社
半導体レーザ素子
1か月前
株式会社デンソー
半導体装置
6日前
日本航空電子工業株式会社
コネクタ
19日前
マクセル株式会社
扁平形電池
1か月前
株式会社デンソー
熱交換部材
21日前
三協立山株式会社
バッテリーケース
1か月前
富士電機株式会社
半導体モジュール
22日前
トヨタ自動車株式会社
電池モジュール
1か月前
続きを見る
他の特許を見る