TOP
|
特許
|
意匠
|
商標
特許ウォッチ
Twitter
他の特許を見る
公開番号
2025159847
公報種別
公開特許公報(A)
公開日
2025-10-22
出願番号
2024062657
出願日
2024-04-09
発明の名称
電池モジュール
出願人
トヨタ自動車株式会社
代理人
個人
主分類
H01M
10/6554 20140101AFI20251015BHJP(基本的電気素子)
要約
【課題】新たにファンや流通路を設けることなく電池モジュール内の機器部品を冷却できる電池モジュールを提供すること。
【解決手段】電池モジュール10は、ロアケース13の床面に有する冷却器12と、冷却器12の上に配置された電池スタック11と、機器部品14を搭載した機器ブラケット15を備え、機器ブラケット15は、冷却器12が配置されている位置でロアケース13の床面と締結する締結点17を有する。
【選択図】図1
特許請求の範囲
【請求項1】
ロアケースの床面に有する冷却器と、
前記冷却器の上に配置された電池スタックと、
機器部品を搭載した機器ブラケットを備え、
前記機器ブラケットは、前記冷却器が配置されている位置で前記ロアケースの床面と締結する締結点を有する、電池モジュール。
発明の詳細な説明
【技術分野】
【0001】
本発明は電池モジュールに関する。
続きを表示(約 770 文字)
【背景技術】
【0002】
特許文献1には、電池と付属部品とに並列に冷却媒体を流通させる流通路を有し、ファンで流通路に冷却媒体を流通させる電池モジュールが記載されている。
【先行技術文献】
【特許文献】
【0003】
特開2004-306726号公報
【発明の概要】
【発明が解決しようとする課題】
【0004】
しかしながら、ファンや流通路が必要であるため電池モジュールが大きくなる問題があった。
【課題を解決するための手段】
【0005】
一実施形態の電池モジューは、機器ブラケットは、冷却器が配置されている位置でロアケースの床面と締結する締結点を有するようにした。
【発明の効果】
【0006】
本開示の電池モジュールによれば、新たにファンや流通路を設けることなく電池モジュール内の機器部品を冷却できる。
【図面の簡単な説明】
【0007】
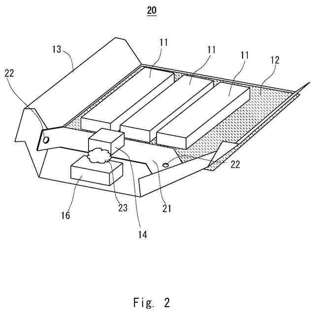
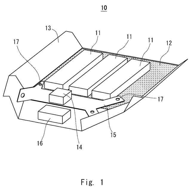
実施の形態1にかかる電池モジュールの一例を示す斜視図である。
現状の電池モジュールの一例を示す斜視図である。
【発明を実施するための形態】
【0008】
実施の形態1
以下、図面を参照して本開示の実施の形態について説明する。図1は、実施の形態1にかかる電池モジュールの一例を示す斜視図である。
【0009】
電池モジュール10は、スタック11と、冷却器12と、ロアケース13と、機器部品14と、機器ブラケット15と、ジャンクションボックス16とを備える。
【0010】
スタック11は、電池セルを積層させた構造体である。
(【0011】以降は省略されています)
この特許をJ-PlatPat(特許庁公式サイト)で参照する
関連特許
トヨタ自動車株式会社
車両
6日前
トヨタ自動車株式会社
電池
6日前
トヨタ自動車株式会社
電動車
6日前
トヨタ自動車株式会社
反応容器
6日前
トヨタ自動車株式会社
判定装置
6日前
トヨタ自動車株式会社
蓄電装置
6日前
トヨタ自動車株式会社
制御装置
6日前
トヨタ自動車株式会社
制御装置
6日前
トヨタ自動車株式会社
エンジン
6日前
トヨタ自動車株式会社
コネクタ
6日前
トヨタ自動車株式会社
蓄電装置
6日前
トヨタ自動車株式会社
蓄電装置
6日前
トヨタ自動車株式会社
学習装置
6日前
トヨタ自動車株式会社
熱利用回路
今日
トヨタ自動車株式会社
電気自動車
6日前
トヨタ自動車株式会社
正極活物質
今日
トヨタ自動車株式会社
正極活物質
今日
トヨタ自動車株式会社
情報処理装置
今日
トヨタ自動車株式会社
車両側部構造
6日前
トヨタ自動車株式会社
オイルタンク
7日前
トヨタ自動車株式会社
情報処理装置
6日前
トヨタ自動車株式会社
車輪制御構造
6日前
トヨタ自動車株式会社
車両前部構造
6日前
トヨタ自動車株式会社
車両制御装置
6日前
トヨタ自動車株式会社
情報処理装置
6日前
トヨタ自動車株式会社
駐車支援装置
今日
トヨタ自動車株式会社
情報処理方法
今日
トヨタ自動車株式会社
車両の制御装置
6日前
トヨタ自動車株式会社
移動体管理装置
6日前
トヨタ自動車株式会社
車両の制御装置
6日前
トヨタ自動車株式会社
トイレ付き車両
6日前
トヨタ自動車株式会社
車両の制御装置
6日前
トヨタ自動車株式会社
モータ制御装置
6日前
トヨタ自動車株式会社
車両用制御装置
6日前
トヨタ自動車株式会社
燃料電池システム
6日前
トヨタ自動車株式会社
車両用レーダ装置
6日前
続きを見る
他の特許を見る