TOP
|
特許
|
意匠
|
商標
特許ウォッチ
Twitter
他の特許を見る
公開番号
2025172503
公報種別
公開特許公報(A)
公開日
2025-11-26
出願番号
2024078048
出願日
2024-05-13
発明の名称
情報処理方法
出願人
トヨタ自動車株式会社
代理人
個人
,
個人
,
個人
主分類
G06T
7/00 20170101AFI20251118BHJP(計算;計数)
要約
【課題】学習用モデルの学習におけるプライバシー保護を可能とする。
【解決手段】学習モデルは、複数の第1モデルと、該複数の第1モデルとは異なる第2モデルとにより構成されている。情報処理方法は、学習モデルの学習に用いられる画像を複数のパッチに分割する分割工程と、複数のパッチを、重複することなく、複数の第1モデルに夫々入力する第1入力工程と、複数の第1モデルから夫々出力される複数の計算結果各々にノイズを追加する追加工程と、ノイズが追加された複数の計算結果を、第2モデルに入力する第2入力工程と、を含む。
【選択図】図2
特許請求の範囲
【請求項1】
学習モデルは、複数の第1モデルと、前記複数の第1モデルとは異なる第2モデルとにより構成されており、
前記学習モデルの学習に用いられる画像を複数のパッチに分割する分割工程と、
前記複数のパッチを、重複することなく、前記複数の第1モデルに夫々入力する第1入力工程と、
前記複数の第1モデルから夫々出力される複数の計算結果各々にノイズを追加する追加工程と、
ノイズが追加された前記複数の計算結果を、前記第2モデルに入力する第2入力工程と、
を含む情報処理方法。
続きを表示(約 310 文字)
【請求項2】
前記第1入力工程では、前記複数のパッチが、無作為に、且つ、重複することなく、前記複数の第1モデルに夫々入力される
請求項1に記載の情報処理方法。
【請求項3】
前記第2入力工程では、前記画像における前記複数のパッチ各々の位置と、前記複数のパッチ各々が入力された第1モデルとの対応関係を示す情報に基づいて、ノイズが追加された前記複数の計算結果が統合された後、ノイズが追加された前記複数の計算結果が前記第2モデルに入力される
請求項2に記載の情報処理方法。
【請求項4】
前記ノイズは、ガウシアンノイズである
請求項1に記載の情報処理方法。
発明の詳細な説明
【技術分野】
【0001】
本開示は、情報処理方法の技術分野に関する。
続きを表示(約 1,500 文字)
【背景技術】
【0002】
この種の方法として、例えば、学習用モデルを構成するニューラルネットワークを複数に分割して、学習用モデルの学習におけるプライバシー保護を可能にする方法が提案されている(特許文献1参照)。
【先行技術文献】
【特許文献】
【0003】
特開2024-030614号公報
【発明の概要】
【発明が解決しようとする課題】
【0004】
特許文献1に記載された技術には、改善の余地がある。
【0005】
本発明は、上記事情に鑑みてなされたものであり、学習用モデルの学習におけるプライバシー保護を可能とする情報処理方法を提供することを課題とする。
【課題を解決するための手段】
【0006】
本開示の一態様に係る情報処理方法は、学習モデルは、複数の第1モデルと、前記複数の第1モデルとは異なる第2モデルとにより構成されており、前記学習モデルの学習に用いられる画像を複数のパッチに分割する分割工程と、前記複数のパッチを、重複することなく、前記複数の第1モデルに夫々入力する第1入力工程と、前記複数の第1モデルから夫々出力される複数の計算結果各々にノイズを追加する追加工程と、ノイズが追加された前記複数の計算結果を、前記第2モデルに入力する第2入力工程と、を含むというものである。
【図面の簡単な説明】
【0007】
情報処理システムの構成を示す図である。
情報処理システムのデータの流れ及び学習用モデルの構成例を示す図である。
情報処理システムのデータの流れの要部を示す図である。
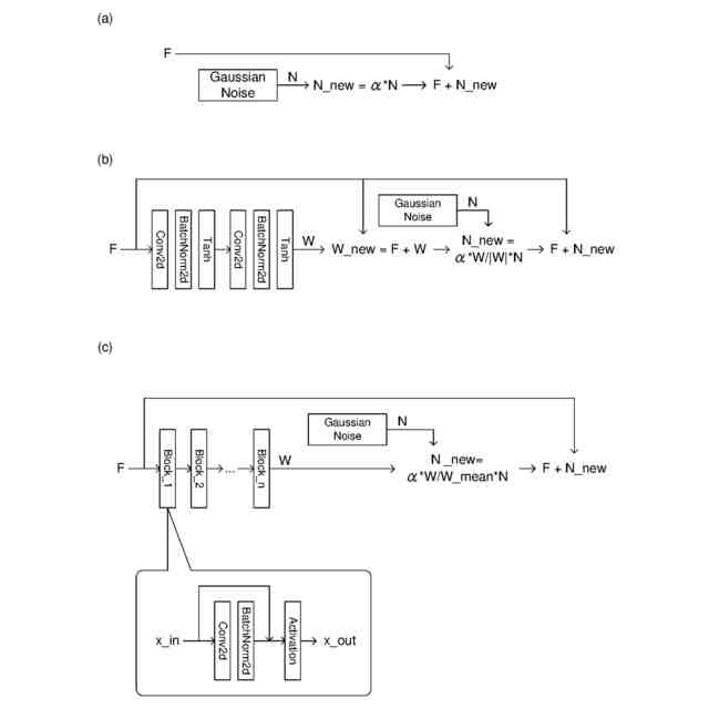
ノイズの算出方法の具体例を説明するための図である。
情報処理方法の一例を示すフローチャートである。
情報処理システムのデータの流れの要部を示す図である。
【発明を実施するための形態】
【0008】
<第1実施形態>
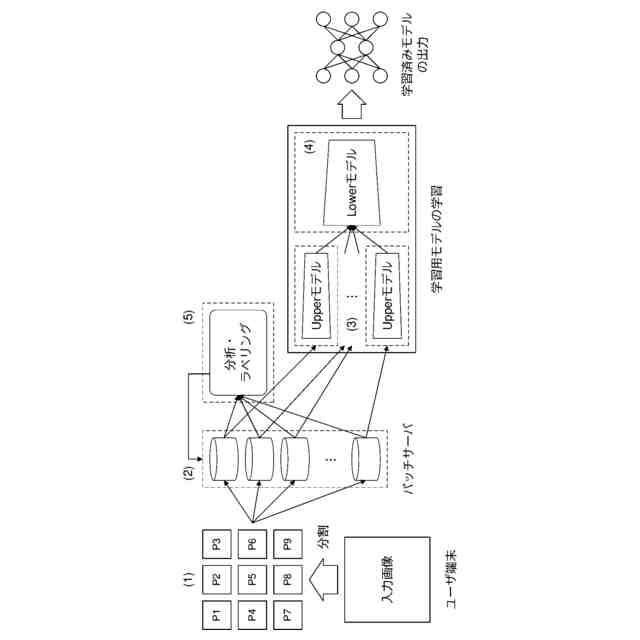
情報処理方法に係る第1実施形態について図1乃至図5を参照して説明する。先ず、画像認識の深層学習に係る情報処理方法について説明する。本実施形態では、学習に用いられる画像が複数のパッチに分割される。本実施形態では、学習用モデルの構成として、パッチ分割ニューラルネットワーク(Patch Split Neural Network)が用いられる。学習用モデルは、例えば、CNN(Convolutional Neural Network)が、UpperモデルとLowerモデルとの2つに分割されたモデルであってよい。
【0009】
図1において、情報処理システム10は、ユーザ端末102と、複数のパッチサーバ110(110
1~N
)と、複数のUpperモデルを夫々保存する複数のUpperサーバ112(112
1~N
)と、Lowerモデルを保存するLowerサーバ114とを備える。ユーザ端末102、複数のパッチサーバ110、複数のUpperサーバ112及びLowerサーバ114は、ネットワークNWを介して接続されている。
【0010】
ユーザ端末102は、学習に用いられる画像の入力に用いられる端末である。パッチサーバ110は、ユーザ端末102を用いて入力された画像が分割されることによって生成される複数のパッチを保管するためのストレージサーバである。Upperサーバ112及びLowerサーバ114は、学習用モデルとしてのUpperモデル及びLowerモデルを夫々保管するサーバである。
(【0011】以降は省略されています)
この特許をJ-PlatPat(特許庁公式サイト)で参照する
関連特許
トヨタ自動車株式会社
方法
1か月前
トヨタ自動車株式会社
電池
21日前
トヨタ自動車株式会社
方法
1か月前
トヨタ自動車株式会社
車両
29日前
トヨタ自動車株式会社
治具
28日前
トヨタ自動車株式会社
車両
27日前
トヨタ自動車株式会社
車両
7日前
トヨタ自動車株式会社
車両
21日前
トヨタ自動車株式会社
電池
1か月前
トヨタ自動車株式会社
車両
20日前
トヨタ自動車株式会社
車体
1か月前
トヨタ自動車株式会社
車両
20日前
トヨタ自動車株式会社
車体
20日前
トヨタ自動車株式会社
方法
20日前
トヨタ自動車株式会社
電池
6日前
トヨタ自動車株式会社
車両
1か月前
トヨタ自動車株式会社
電池
12日前
トヨタ自動車株式会社
配管
7日前
トヨタ自動車株式会社
電池
1か月前
トヨタ自動車株式会社
車両
27日前
トヨタ自動車株式会社
車両
1か月前
トヨタ自動車株式会社
車両
1か月前
トヨタ自動車株式会社
方法
1か月前
トヨタ自動車株式会社
車両
1か月前
トヨタ自動車株式会社
車両
1か月前
トヨタ自動車株式会社
方法
1か月前
トヨタ自動車株式会社
車両
6日前
トヨタ自動車株式会社
モータ
1か月前
トヨタ自動車株式会社
蓄電池
20日前
トヨタ自動車株式会社
自動車
1か月前
トヨタ自動車株式会社
飛行体
1か月前
トヨタ自動車株式会社
サーバ
1か月前
トヨタ自動車株式会社
モータ
1か月前
トヨタ自動車株式会社
正極層
1か月前
トヨタ自動車株式会社
モータ
1か月前
トヨタ自動車株式会社
電動車
6日前
続きを見る
他の特許を見る