TOP
|
特許
|
意匠
|
商標
特許ウォッチ
Twitter
他の特許を見る
公開番号
2025157960
公報種別
公開特許公報(A)
公開日
2025-10-16
出願番号
2024060343
出願日
2024-04-03
発明の名称
モータ
出願人
トヨタ自動車株式会社
代理人
弁理士法人 快友国際特許事務所
主分類
H02K
7/04 20060101AFI20251008BHJP(電力の発電,変換,配電)
要約
【課題】ロータのバランス調整を追加の部品なく効率的に実施できる技術を提供する。
【解決手段】モータ2は、一方の端部にフランジ12を有し他方の端部にナット16が締結可能なロータシャフト8と、ロータシャフト8にフランジ12とナット16とによって取り付けられたロータ4と、を備え、フランジ12及びナット16の少なくとも一方の外周縁部には、ロータシャフト8の軸方向に沿って所定長さで延在するとともにロータシャフト8の径方向外側に張り出すバランス調整用の被加工部位13、19とバランス調整孔13a、19aとを有している。
【選択図】図1
特許請求の範囲
【請求項1】
モータであって、
一方の端部にフランジを有し他方の端部にナットが締結可能なロータシャフトと、
前記ロータシャフトに前記フランジと前記ナットとによって取り付けられたロータと、
を備え、
前記フランジ及び前記ナットの少なくとも一方の外周縁部には、前記ロータシャフトの軸方向に沿って所定長さで延在するとともに前記ロータシャフトの径方向外側に張り出すバランス調整用の被加工部位とバランス調整孔とを有している、モータ。
発明の詳細な説明
【技術分野】
【0001】
本明細書が開示する技術は、モータに関する。
続きを表示(約 1,200 文字)
【背景技術】
【0002】
モータは、ロータとステータとを備える。ロータはロータシャフトを中心に回転する。ロータシャフトの軸方向に沿うロータの長さ方向でバランスを取るために、ロータの軸方向端部でロータシャフトに取り付けたエンドリングやバランス修正板などを切削したり穴開け加工したりすることで、バランス調整している(特許文献1)。
【先行技術文献】
【特許文献】
【0003】
特開2022-118308号公報
【発明の概要】
【発明が解決しようとする課題】
【0004】
しかしながら、バランス調整のためのエンドプレートの切削等の衝撃や振動のほか締結操作によって、ロータとシャフトの接触状態が変化することがあり、バランス調整工程を繰り返し行う必要が生じる場合もあった。
【0005】
本明細書は、ロータのバランス調整を追加の部品なく効率的に実施できる技術を提供する。
【課題を解決するための手段】
【0006】
本明細書が開示する技術は、モータに具現化される。このモータは、一方の端部にフランジを有し他方の端部にナットが締結可能なロータシャフトと、前記ロータシャフトに前記フランジと前記ナットとによって取り付けられたロータと、を備える。前記フランジ及び前記ナットの少なくとも一方の外周縁部には、前記ロータシャフトの軸方向に沿って所定長さで延在するとともに前記ロータシャフトの径方向外側に張り出すバランス調整用の被加工部位とバランス調整孔とを有している。
【0007】
このモータは、前記フランジと前記ナットの少なくとも一方の被加工部位とバランス調整孔とを有する。バランス調整孔によって、前記ロータのバランスを修正ないし調整できる。このため、前記ロータは、前記ロータシャフトに前記ロータを取り付けるのに必要な部品の他にバランス修正のための追加の部品を要しない。
【0008】
また、このモータのロータシャフトには、バランス調整用の追加の部品が取付けられないため、モータ全体の軸長がこれらの部品によって長くなることが抑制される。
【図面の簡単な説明】
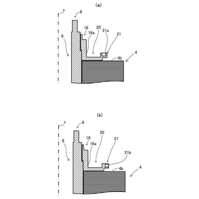
【0009】
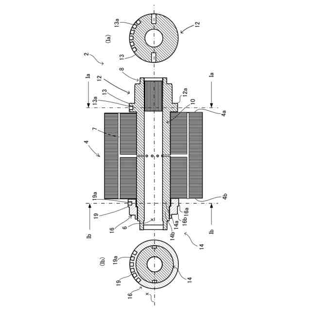
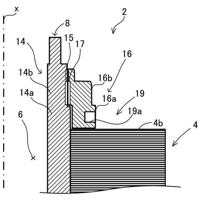
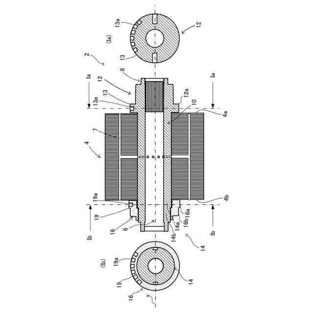
ロータ及びロータシャフトにおけるバランス調整用の被加工部位とバランス調整用孔とを示す断面図である。
被加工部位に形成するバランス調整孔用を拡大して示す断面図である。
バランス調整用孔の他の態様を示す断面図である。
【発明を実施するための形態】
【0010】
以下、本開示のモータの実施形態について、適宜図面を参照して説明する。なお、本明細書において、単に「軸方向」というとき、ロータシャフトの軸方向を意味し、単に「径方向」というとき、ロータシャフトの半径方向を意味する。
(【0011】以降は省略されています)
この特許をJ-PlatPat(特許庁公式サイト)で参照する
関連特許
トヨタ自動車株式会社
電池
2日前
トヨタ自動車株式会社
方法
1日前
トヨタ自動車株式会社
車両
2日前
トヨタ自動車株式会社
車両
1日前
トヨタ自動車株式会社
車体
1日前
トヨタ自動車株式会社
車両
1日前
トヨタ自動車株式会社
蓄電池
1日前
トヨタ自動車株式会社
モータ
今日
トヨタ自動車株式会社
路側装置
今日
トヨタ自動車株式会社
濾過装置
2日前
トヨタ自動車株式会社
路側装置
今日
トヨタ自動車株式会社
路側装置
今日
トヨタ自動車株式会社
推定装置
今日
トヨタ自動車株式会社
樹脂外板
1日前
トヨタ自動車株式会社
制御装置
今日
トヨタ自動車株式会社
電動車両
今日
トヨタ自動車株式会社
電動車両
今日
トヨタ自動車株式会社
制御装置
今日
トヨタ自動車株式会社
路側装置
今日
トヨタ自動車株式会社
鋳造装置
今日
トヨタ自動車株式会社
電動車両
1日前
トヨタ自動車株式会社
蓄電装置
今日
トヨタ自動車株式会社
電池パック
1日前
トヨタ自動車株式会社
油量判定装置
1日前
トヨタ自動車株式会社
電力システム
今日
トヨタ自動車株式会社
電力システム
2日前
トヨタ自動車株式会社
回路システム
1日前
トヨタ自動車株式会社
情報処理装置
1日前
トヨタ自動車株式会社
情報処理装置
1日前
トヨタ自動車株式会社
情報処理装置
1日前
トヨタ自動車株式会社
情報処理装置
1日前
トヨタ自動車株式会社
車両前部構造
今日
トヨタ自動車株式会社
車両制御装置
3日前
トヨタ自動車株式会社
情報処理装置
今日
トヨタ自動車株式会社
情報処理装置
3日前
トヨタ自動車株式会社
車両前部構造
1日前
続きを見る
他の特許を見る