TOP
|
特許
|
意匠
|
商標
特許ウォッチ
Twitter
他の特許を見る
公開番号
2025170527
公報種別
公開特許公報(A)
公開日
2025-11-19
出願番号
2024075175
出願日
2024-05-07
発明の名称
配管
出願人
トヨタ自動車株式会社
代理人
弁理士法人明成国際特許事務所
主分類
H01M
8/04 20160101AFI20251112BHJP(基本的電気素子)
要約
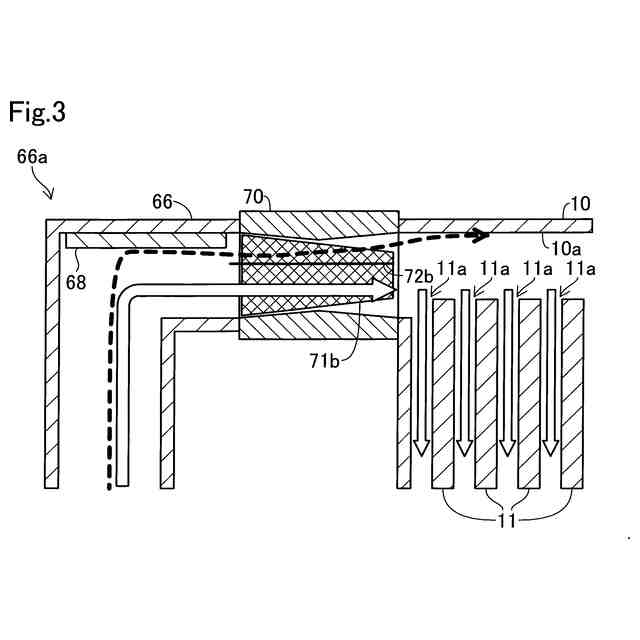
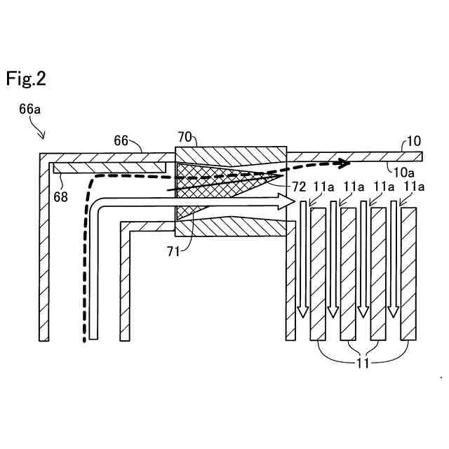
【課題】燃料電池システムにおいて、燃料電池セルへの水分の流入を抑制しつつ、燃料電池セルへのアノードガスの供給量が低下することを抑制できる配管を提供する。
【解決手段】燃料電池スタックにアノードガスを供給するための配管は、燃料電池スタックにおけるアノードガスの入口手前においてアノードガスの進行方向を変化させるように形成された直角部を有する流路部と、直角部に配置された整流リブと、流路部と燃料電池スタックとの間に配置されたフィルタと、を備え、フィルタは、燃料電池スタックが有する燃料電池セルへアノードガスを供給し、燃料電池セルと反対方向へ水分を向かわせるように構成されている仕切部を有する。
【選択図】図1
特許請求の範囲
【請求項1】
燃料電池スタックにアノードガスを供給するための配管であって、
前記燃料電池スタックにおける前記アノードガスの入口手前において前記アノードガスの進行方向を変化させるように形成された直角部を有する流路部と、
前記直角部に配置された整流リブと、
前記流路部と前記燃料電池スタックとの間に配置されたフィルタと、
を備え、
前記フィルタは、前記燃料電池スタックが有する燃料電池セルへ前記アノードガスを供給し、前記燃料電池セルと反対方向へ水分を向かわせるように構成されている仕切部を有する、
配管。
発明の詳細な説明
【技術分野】
【0001】
本開示は、配管に関する。
続きを表示(約 1,600 文字)
【背景技術】
【0002】
従来、燃料電池スタックの入り口付近において、燃料電池セル内への異物混入を防ぐためのフィルタを有する配管が知られている。特許文献1では、燃料電池セルから遠ざかる方向にフィルタの頂点を偏位させることにより、燃料電池スタックへ供給される水素ガスに含まれる水分が燃料電池セルへ流入することを抑制している。
【先行技術文献】
【特許文献】
【0003】
特開2021-72172号公報
【発明の概要】
【発明が解決しようとする課題】
【0004】
しかしながら、混合ガスの圧力変化等により、表面張力によりフィルタ表面に滞留された水分が飛散することがある。かかる場合に、フィルタ表面から燃料電池セルへ水分が飛散することにより発電が妨げられるおそれがある。また、燃料電池セルから遠ざかる方向にフィルタの頂点を偏位させた場合、水素ガスの流れも燃料電池セルから遠ざかる方向に偏位し、燃料電池セルへの水素ガスの供給量が低下するおそれがある。
【課題を解決するための手段】
【0005】
本開示は、以下の形態として実現することが可能である。
【0006】
本開示の一形態によれば、燃料電池スタックにアノードガスを供給するための配管が提供される。この配管は、前記燃料電池スタックにおける前記アノードガスの入口手前において前記アノードガスの進行方向を変化させるように形成された直角部を有する流路部と、前記直角部に配置された整流リブと、前記流路部と前記燃料電池スタックとの間に配置されたフィルタと、を備え、前記フィルタは、前記燃料電池スタックが有する燃料電池セルへ前記アノードガスを供給し、前記燃料電池セルと反対方向へ水分を向かわせるように構成されている仕切部を有する。
この形態の配管によれば、フィルタは、燃料電池スタックが有する燃料電池セルへアノードガスを供給し、燃料電池セルと反対方向へ水分を向かわせるように構成されている仕切部を有するので、燃料電池セルへの水分の流入を抑制しつつ、燃料電池セルへのアノードガスの供給量が低下することを抑制できる。
【図面の簡単な説明】
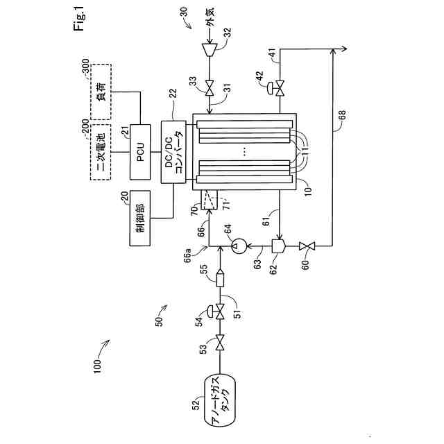
【0007】
本実施形態の燃料電池システムの構成を示す概略図である。
フィルタ周辺の断面を示す概略図である。
他の実施形態のフィルタ周辺の断面を示す概略図である。
【発明を実施するための形態】
【0008】
A.実施形態:
図1は、本実施形態の燃料電池システム100の構成を示す概略図である。燃料電池システム100は、主に燃料電池スタック10、制御部20、パワーコントロールユニット(以下、「PCU」という)21、DC/DCコンバータ22、カソードガス供給排出系30、およびアノードガス供給排出系50を備える。燃料電池システム100は、外部の二次電池200および負荷300に接続されている。本実施形態の燃料電池システム100は、例えば燃料電池車両に搭載され、制御部20は、燃料電池車両のコンピュータとの間で制御信号を授受する。
【0009】
燃料電池スタック10は、反応ガスとしてアノードガスとカソードガスとの供給を受けて発電する。本実施形態では、燃料電池スタック10は、アノードガスとしての水素ガスとカソードガスとして空気とを供給されて発電する固体高分子形燃料電池として構成されている。燃料電池スタック10は、複数の燃料電池セル11が積層されて構成されている。
【0010】
制御部20は、CPU、メモリおよびインタフェース回路を備えたコンピュータとして構成されている。CPUは、予めメモリに記憶されたプログラムを実行することにより、燃料電池システム100による発電の制御を行う。
(【0011】以降は省略されています)
この特許をJ-PlatPat(特許庁公式サイト)で参照する
関連特許
トヨタ自動車株式会社
電池
20日前
トヨタ自動車株式会社
車両
6日前
トヨタ自動車株式会社
電池
12日前
トヨタ自動車株式会社
方法
5日前
トヨタ自動車株式会社
電池
12日前
トヨタ自動車株式会社
車両
20日前
トヨタ自動車株式会社
車両
今日
トヨタ自動車株式会社
タンク
5日前
トヨタ自動車株式会社
電動車
20日前
トヨタ自動車株式会社
蓄電装置
12日前
トヨタ自動車株式会社
蓄電装置
12日前
トヨタ自動車株式会社
車両装置
12日前
トヨタ自動車株式会社
塗工装置
12日前
トヨタ自動車株式会社
エンジン
20日前
トヨタ自動車株式会社
蓄電装置
12日前
トヨタ自動車株式会社
制御装置
5日前
トヨタ自動車株式会社
蓄電装置
12日前
トヨタ自動車株式会社
蓄電装置
12日前
トヨタ自動車株式会社
蓄電装置
12日前
トヨタ自動車株式会社
処理装置
12日前
トヨタ自動車株式会社
制御装置
12日前
トヨタ自動車株式会社
反応容器
20日前
トヨタ自動車株式会社
蓄電装置
20日前
トヨタ自動車株式会社
蓄電装置
20日前
トヨタ自動車株式会社
蓄電装置
12日前
トヨタ自動車株式会社
蓄電装置
12日前
トヨタ自動車株式会社
蓄電装置
12日前
トヨタ自動車株式会社
制御装置
20日前
トヨタ自動車株式会社
車載装置
今日
トヨタ自動車株式会社
コネクタ
20日前
トヨタ自動車株式会社
蓄電装置
13日前
トヨタ自動車株式会社
制御装置
5日前
トヨタ自動車株式会社
蓄電装置
今日
トヨタ自動車株式会社
エンジン
12日前
トヨタ自動車株式会社
蓄電装置
今日
トヨタ自動車株式会社
蓄電装置
12日前
続きを見る
他の特許を見る