TOP
|
特許
|
意匠
|
商標
特許ウォッチ
Twitter
他の特許を見る
公開番号
2025179503
公報種別
公開特許公報(A)
公開日
2025-12-10
出願番号
2024086298
出願日
2024-05-28
発明の名称
車両
出願人
トヨタ自動車株式会社
代理人
弁理士法人深見特許事務所
主分類
B60W
50/04 20060101AFI20251203BHJP(車両一般)
要約
【課題】自動運転システムからの要求に対して適切な動作を行う。
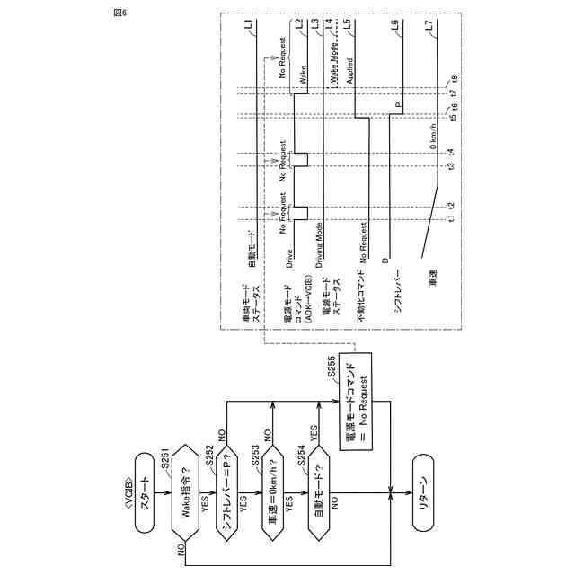
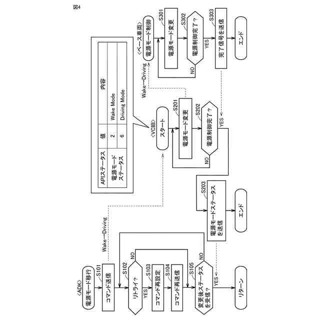
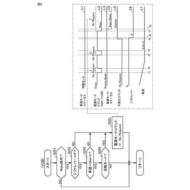
【解決手段】VCIBは、Wake指令を受信したか否かを判断するステップ(S251)と、シフトレバーがパーキングであるか否かを判断するステップ(S252)と、車速が0km/hであるか否かを判断するステップ(S253)と、自動モードであるか否かを判断するステップ(S254)と、シフトレバーがパーキングでなかったり(S252にてNO)、車速が0km/hでなかったり(S253にてON)、自動モードであったりすると(S254にてYES)、電源コマンドを”No Request”に設定するステップ(S255)とを含む、処理を実行する。
【選択図】図6
特許請求の範囲
【請求項1】
車両の自動運転を行う自動運転システムと、
前記自動運転システムから前記自動運転に関する指令を受信可能な車両プラットフォームとを備え、
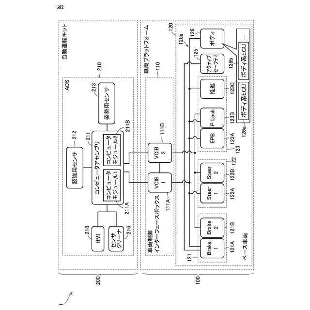
前記車両プラットフォームは、複数の制御装置を含むベース車両と、前記車両プラットフォームと前記自動運転システムとの間のインターフェースを行う車両制御インターフェースとを含み、
前記車両制御インターフェースは、前記自動運転の実行中に、前記車両プラットフォームの前記複数の制御装置のうちの一部を停止状態とし、かつ、前記車両制御インターフェースを起動状態とする電源モードへの移行を要求するウェイク指令を前記自動運転システムから受信した場合には、前記ウェイク指令を無効化する、車両。
続きを表示(約 510 文字)
【請求項2】
前記ベース車両は、前記車両制御インターフェースから前記ウェイク指令を受信した場合には、前記車両制御インターフェースと前記複数の制御装置のうちのボディ系制御装置とを起動状態とし、その他の制御装置を前記停止状態とする、請求項1に記載の車両。
【請求項3】
前記車両は、前記車両の起動と前記車両の停止とを切り替えるための操作を受け付ける操作部材をさらに備え、
前記車両プラットフォームは、前記操作部材に前記車両の停止の操作を受け付けた場合には、前記ウェイク指令を受け付けたものとして、前記車両制御インターフェースと前記複数の制御装置のうちのボディ系制御装置とを起動状態とし、その他の制御装置を前記停止状態とする、請求項1に記載の車両。
【請求項4】
前記車両プラットフォームは、シフトポジションがパーキングポジションであって、停車中であり、かつ、前記ベース車両をユーザによって操作可能な手動運転の実行中に前記ウェイク指令を受信した場合には、前記複数の制御装置のうちのボディ系制御装置を起動状態とし、その他の制御装置を前記停止状態とする、請求項1に記載の車両。
発明の詳細な説明
【技術分野】
【0001】
本開示は、車両に関する。
続きを表示(約 1,400 文字)
【背景技術】
【0002】
近年、ユーザの操作を受け付けることなく車両を走行させる自動運転システムの開発が進められている。自動運転システムは、たとえば、既存の車両に搭載可能にするためにインターフェースを介して車両とは別個に設けられる場合がある。
【0003】
自動運転システムについて、たとえば、特開2021-123135号公報(特許文献1)には、各種電源モードを設定する技術が開示されている。
【先行技術文献】
【特許文献】
【0004】
特開2021-123135号公報
【発明の概要】
【発明が解決しようとする課題】
【0005】
上述のような自動運転システムを搭載した車両においては、自動運転が可能な自動モード中において自動運転を終了する場合に、自動運転の再開に備えて車両側の自動運転の再開に使用される一部の機器を起動状態とし、その他の機器を停止状態とする要求を行う場合がある。しかしながら、自動運転システムからの要求に従ってその他の機器が停止状態になると、その他の機器の各々において通信が遮断され、故障状態と判断され、自動運転の再開を行うことができない場合がある。
【0006】
本開示は、上述した課題を解決するためになされたものであって、その目的は、自動運転システムからの要求に対して適切な動作を行う車両を提供することである。
【課題を解決するための手段】
【0007】
本開示のある局面に係る車両は、車両の自動運転を行う自動運転システムと、自動運転システムから自動運転に関する指令を受信可能な車両プラットフォームとを備える。車両プラットフォームは、複数の制御装置を含むベース車両と、車両プラットフォームと自動運転システムとの間のインターフェースを行う車両制御インターフェースとを含む。車両制御インターフェースは、自動運転の実行中に、車両プラットフォームの複数の制御装置のうちの一部を停止状態とし、かつ、車両制御インターフェースを起動状態とする電源モードへの移行を要求するウェイク指令を自動運転システムから受信した場合には、ウェイク指令を無効化する。
【0008】
このようにすると、自動運転の実行中に自動運転システムからウェイク指令を受信してもベース車両にウェイク指令が無効化されるので、複数の制御装置のうちの一部が停止状態になることを抑制することができる。これにより、複数の制御装置のうちの一部が停止状態になることによって通信が遮断されるなどして故障状態と判断されることを抑制することができる。そのため、自動運転を速やかに再開することが可能となる。
【0009】
ある実施の形態においては、ベース車両は、車両制御インターフェースからウェイク指令を受信した場合には、車両制御インターフェースと複数の制御装置のうちのボディ系制御装置とを起動状態とし、その他の制御装置を停止状態とする。
【0010】
このようにすると、ベース車両がウェイク指令を受信する場合には、複数の制御装置のうちのボディ系制御装置を起動状態とし、その他の制御装置を停止状態にする電源モードに移行することができる。
(【0011】以降は省略されています)
この特許をJ-PlatPat(特許庁公式サイト)で参照する
関連特許
トヨタ自動車株式会社
電池
12日前
トヨタ自動車株式会社
電池
26日前
トヨタ自動車株式会社
車両
6日前
トヨタ自動車株式会社
方法
5日前
トヨタ自動車株式会社
車両
20日前
トヨタ自動車株式会社
車両
今日
トヨタ自動車株式会社
電池
20日前
トヨタ自動車株式会社
車両
21日前
トヨタ自動車株式会社
電池
12日前
トヨタ自動車株式会社
配管
21日前
トヨタ自動車株式会社
ロータ
21日前
トヨタ自動車株式会社
電動車
21日前
トヨタ自動車株式会社
電動車
20日前
トヨタ自動車株式会社
タンク
5日前
トヨタ自動車株式会社
エンジン
21日前
トヨタ自動車株式会社
反応容器
20日前
トヨタ自動車株式会社
塗工装置
12日前
トヨタ自動車株式会社
蓄電装置
20日前
トヨタ自動車株式会社
蓄電装置
20日前
トヨタ自動車株式会社
制御装置
20日前
トヨタ自動車株式会社
制御装置
5日前
トヨタ自動車株式会社
判定装置
20日前
トヨタ自動車株式会社
制御装置
5日前
トヨタ自動車株式会社
蓄電装置
13日前
トヨタ自動車株式会社
蓄電装置
12日前
トヨタ自動車株式会社
蓄電装置
12日前
トヨタ自動車株式会社
蓄電装置
13日前
トヨタ自動車株式会社
蓄電装置
12日前
トヨタ自動車株式会社
蓄電装置
12日前
トヨタ自動車株式会社
蓄電装置
12日前
トヨタ自動車株式会社
蓄電装置
12日前
トヨタ自動車株式会社
蓄電装置
12日前
トヨタ自動車株式会社
蓄電装置
12日前
トヨタ自動車株式会社
蓄電装置
12日前
トヨタ自動車株式会社
蓄電装置
12日前
トヨタ自動車株式会社
蓄電装置
12日前
続きを見る
他の特許を見る