TOP
|
特許
|
意匠
|
商標
特許ウォッチ
Twitter
他の特許を見る
公開番号
2025179584
公報種別
公開特許公報(A)
公開日
2025-12-10
出願番号
2024086427
出願日
2024-05-28
発明の名称
蓄電装置
出願人
トヨタ自動車株式会社
代理人
弁理士法人深見特許事務所
主分類
H01M
50/204 20210101AFI20251203BHJP(基本的電気素子)
要約
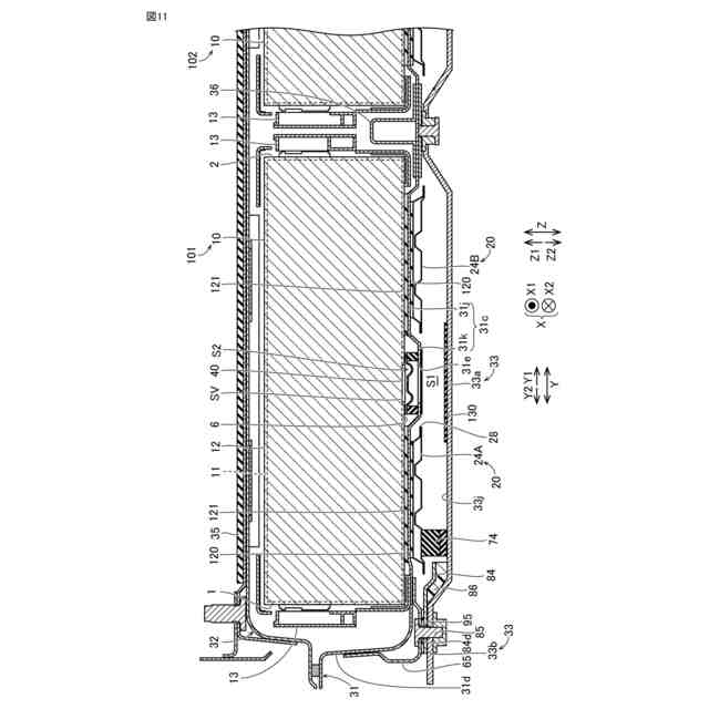
【課題】蓄電セルから下方に排出されたガスを検知する検知センサへの防水処理を省略することが可能な蓄電装置を提供する。
【解決手段】蓄電装置100は、安全弁SVが設けられる下面6を含む複数の蓄電セル10と、複数の蓄電セル10を収容する筐体30と、複数の蓄電セルから排出されるガスを検知する排煙センサ50と、排煙センサ50によってガスが検知される検知空間S2を形成する検知空間形成部材40とを備える。筐体30は、底板31cを含むロアケース31と、ロアケース31の底板31cとの間に排煙空間S1を形成するシェアパネル33とを含む。検知空間形成部材40は、ロアケース31の底板31cと複数の蓄電セル10との間に検知空間S2を形成し、かつ、検知空間S2が排煙空間S1から区画されるように設けられている。
【選択図】図11
特許請求の範囲
【請求項1】
安全弁が設けられる下面を含む少なくとも1つの蓄電セルと、
前記少なくとも1つの蓄電セルを収容する筐体と、
前記少なくとも1つの蓄電セルから排出されるガスを検知する検知センサと、
前記検知センサによって前記ガスが検知される検知空間を形成する検知空間形成部材と、を備え、
前記筐体は、
前記少なくとも1つの蓄電セルを下方から覆うように配置されており、前記安全弁と重なる位置に貫通孔が形成された底面部を含むロアケースと、
前記ロアケースの下方に配置されており、前記ロアケースの前記底面部との間に排煙空間を形成するシェアパネルと、を含み、
前記検知空間形成部材は、前記ロアケースの前記底面部と前記少なくとも1つの蓄電セルとの間に前記検知空間を形成し、かつ、前記検知空間が前記排煙空間から区画されるように設けられている、蓄電装置。
続きを表示(約 650 文字)
【請求項2】
前記少なくとも1つの蓄電セルは、配列方向に配列される複数の蓄電セルを含み、
前記検知空間形成部材は、前記複数の蓄電セルに沿って前記配列方向に延びている、請求項1に記載の蓄電装置。
【請求項3】
前記ロアケースの前記底面部に形成された前記貫通孔を塞ぐ防水シールをさらに備える、請求項1または2に記載の蓄電装置。
【請求項4】
前記検知空間形成部材は、前記検知空間内の圧力が上昇すると、基準形状から、前記基準形状に対して下向きに膨出した膨出形状に変形可能に形成されている、請求項1または2に記載の蓄電装置。
【請求項5】
前記基準形状における前記検知空間形成部材には、
前記少なくとも1つの蓄電セルの前記安全弁と対向する位置に設けられる第1部分と、
上下方向と交差する交差方向において前記第1部分と隣接するように配置されており、前記第1部分から下方に窪むように形成された第2部分と、が形成されている、請求項4に記載の蓄電装置。
【請求項6】
前記ロアケースの前記底面部と前記検知空間形成部材との間において、前記貫通孔を囲むように配置された防水性のシール部材をさらに備える、請求項1または2に記載の蓄電装置。
【請求項7】
前記シェアパネルのうち前記ロアケースの前記底面部に形成された前記貫通孔と対向する部分に配置された耐熱板をさらに備える、請求項1または2に記載の蓄電装置。
発明の詳細な説明
【技術分野】
【0001】
本開示は、蓄電装置に関する。
続きを表示(約 1,600 文字)
【背景技術】
【0002】
特表2022-525014号公報(特許文献1)には、電気自動車に搭載される動力電池パックが開示されている。動力電池パックは、複数の単電池を含む。複数の単電池の各々には、内部の煙またはガスを排出する防爆弁が設けられている。
【先行技術文献】
【特許文献】
【0003】
特表2022-525014号公報
【発明の概要】
【発明が解決しようとする課題】
【0004】
上記特許文献1には記載されていないが、防爆弁(安全弁)を単電池の下面に設けることにより単電池(蓄電セル)の下面から煙またはガスを排出する場合がある。この構成では、単電池の下方に排煙空間(排煙経路)が形成される。排煙空間には、ガス(煙)を検知する排煙センサ(検知センサ)を配置することが考えられる。この場合、たとえば浸水時等における排煙センサへの水の影響を抑制するために、排煙センサに防水処理を施すことが必要となる。
【0005】
本開示は、上記課題を解決するためになされたものであり、その目的は、蓄電セルから下方に排出されたガスを検知する検知センサへの防水処理を省略することが可能な蓄電装置を提供することである。
【課題を解決するための手段】
【0006】
本開示の一の局面に係る蓄電装置は、安全弁が設けられる下面を含む少なくとも1つの蓄電セルと、少なくとも1つの蓄電セルを収容する筐体と、少なくとも1つの蓄電セルから排出されるガスを検知する検知センサと、検知センサによってガスが検知される検知空間を形成する検知空間形成部材と、を備える。筐体は、少なくとも1つの蓄電セルを下方から覆うように配置されており、安全弁と重なる位置に貫通孔が形成された底面部を含むロアケースと、ロアケースの下方に配置されており、ロアケースの底面部との間に排煙空間を形成するシェアパネルと、を含む。検知空間形成部材は、ロアケースの底面部と少なくとも1つの蓄電セルとの間に検知空間を形成し、かつ、検知空間が排煙空間から区画されるように設けられている。
【0007】
本開示の一の局面に係る蓄電装置では、上記のように、検知空間形成部材は、ロアケースの底面部と少なくとも1つの蓄電セルとの間に検知空間を形成し、かつ、検知空間が排煙空間から区画されるように設けられている。これにより、排煙空間に水が浸入したとしても、排煙空間と区画された検知空間に水が浸入するのを抑制することができる。その結果、検知空間のガスを検知する検知センサに水の影響が及ぶのを抑制することができる。これにより、検知センサへの防水処理を省略することができる。
【0008】
少なくとも1つの蓄電セルは、配列方向に配列される複数の蓄電セルを含んでいてもよい。検知空間形成部材は、複数の蓄電セルに沿って配列方向に延びていてもよい。このような構成により、複数の蓄電セルの各々から排出されるガスを検知空間内に容易に流入させることができる。
【0009】
蓄電装置は、ロアケースの底面部に形成された貫通孔を塞ぐ防水シールを備えてもよい。このような構成により、貫通孔を通じて排煙空間から検知空間に水が侵入するのをより抑制することができる。
【0010】
検知空間形成部材は、検知空間内の圧力が上昇すると、基準形状から、基準形状に対して下向きに膨出した膨出形状に変形可能に形成されていてもよい。このような構成により、基準形状を有するときの検知空間形成部材の上下方向における高さを、膨出形状を有するときの検知空間形成部材の上下方向における高さよりも小さくすることができる。その結果、蓄電セルからのガスの排出がない(または少ない)基準形状時における蓄電装置の高さ(基準高さ)を比較的小さくすることができる。
(【0011】以降は省略されています)
この特許をJ-PlatPat(特許庁公式サイト)で参照する
関連特許
トヨタ自動車株式会社
方法
6日前
トヨタ自動車株式会社
電池
21日前
トヨタ自動車株式会社
電池
27日前
トヨタ自動車株式会社
配管
22日前
トヨタ自動車株式会社
電池
1か月前
トヨタ自動車株式会社
車両
21日前
トヨタ自動車株式会社
車両
1か月前
トヨタ自動車株式会社
車両
22日前
トヨタ自動車株式会社
車両
7日前
トヨタ自動車株式会社
車両
1か月前
トヨタ自動車株式会社
車体
1か月前
トヨタ自動車株式会社
電池
13日前
トヨタ自動車株式会社
電池
13日前
トヨタ自動車株式会社
車両
1日前
トヨタ自動車株式会社
方法
1か月前
トヨタ自動車株式会社
電動車
21日前
トヨタ自動車株式会社
蓄電池
1か月前
トヨタ自動車株式会社
電動車
22日前
トヨタ自動車株式会社
モータ
1か月前
トヨタ自動車株式会社
タンク
6日前
トヨタ自動車株式会社
ロータ
22日前
トヨタ自動車株式会社
車両装置
13日前
トヨタ自動車株式会社
蓄電装置
13日前
トヨタ自動車株式会社
制御装置
13日前
トヨタ自動車株式会社
蓄電装置
13日前
トヨタ自動車株式会社
蓄電装置
13日前
トヨタ自動車株式会社
処理装置
13日前
トヨタ自動車株式会社
塗工装置
13日前
トヨタ自動車株式会社
蓄電装置
13日前
トヨタ自動車株式会社
蓄電装置
13日前
トヨタ自動車株式会社
蓄電装置
13日前
トヨタ自動車株式会社
蓄電装置
13日前
トヨタ自動車株式会社
蓄電装置
13日前
トヨタ自動車株式会社
監視装置
27日前
トヨタ自動車株式会社
蓄電装置
13日前
トヨタ自動車株式会社
蓄電装置
13日前
続きを見る
他の特許を見る