TOP
|
特許
|
意匠
|
商標
特許ウォッチ
Twitter
他の特許を見る
公開番号
2025170992
公報種別
公開特許公報(A)
公開日
2025-11-20
出願番号
2024075912
出願日
2024-05-08
発明の名称
情報処理装置
出願人
トヨタ自動車株式会社
代理人
弁理士法人秀和特許事務所
主分類
G01C
21/26 20060101AFI20251113BHJP(測定;試験)
要約
【課題】ユーザにとって好適な電気自動車への充電を可能にする技術の提供を目的とする。
【解決手段】情報処理装置の制御部は、過去における対象電気自動車の目的地での停車時間の値を取得する。また、情報処理装置の制御部は、対象電気自動車が充電を行う見込みがあるか否かの充電情報を取得する。そして、制御部は、停車時間の取得された値が閾値以上であり、且つ対象電気自動車が充電を行う見込みがあることが取得された充電情報において示されている場合に、目的地が対象電気自動車の充電予定地であることを示す予定地情報を出力する。
【選択図】図6
特許請求の範囲
【請求項1】
過去における対象電気自動車の目的地での停車時間の値を取得することと、
前記対象電気自動車が充電を行う見込みがあるか否かの充電情報を取得することと、
前記停車時間の取得された値が閾値以上であり、且つ前記対象電気自動車が充電を行う見込みがあることが取得された前記充電情報において示されている場合に、前記目的地が前記対象電気自動車の充電予定地であることを示す予定地情報を出力することと、
を実行するように構成される制御部を備える、
情報処理装置。
続きを表示(約 850 文字)
【請求項2】
前記制御部は、
前記対象電気自動車が前記目的地に到着するまでに一又は複数の経由地において充電を行う予定がある場合、前記一又は複数の経由地における充電予定量よりも、前記目的地での充電予定量の方が大きくなるように、前記一又は複数の経由地それぞれにおける充電予定量を決定すること、
を更に実行するように構成される、
請求項1に記載の情報処理装置。
【請求項3】
前記一又は複数の経由地における充電予定量を決定することは、前記対象電気自動車が前記一又は複数の経由地それぞれから、次の経由地又は前記目的地まで移動するために必要な消費電力量に応じて、前記一又は複数の経由地それぞれにおける充電予定量を決定することを含む、
請求項2に記載の情報処理装置。
【請求項4】
停車時刻属性ごとに関連付けられた実績値が与えられており、
前記停車時間の値を取得することは、複数の停車時刻属性のうち、前記対象電気自動車の前記目的地への到着予想時刻が属する停車時刻属性に関連付けられた前記実績値を取得することを含み、
前記制御部は、
取得した前記停車時刻属性が関連付けられている前記停車時間の実績値が前記所定時間以上であるか否かを判定すること、
を更に実行するように構成される、
請求項1から3のいずれか一項に記載の情報処理装置。
【請求項5】
充電時刻属性ごとに関連付けられた充電実績が与えられており、
前記制御部は、
前記複数の充電時刻属性のうち、前記対象電気自動車の前記目的地への到着予想時刻が属する充電時刻属性に関連付けられた前記充電実績を取得することと、
取得された前記充電実績に応じて、前記対象電気自動車が充電を行う見込みがあるか否かを判定すること、
を更に実行するように構成される、
請求項1から3のいずれか一項に記載の情報処理装置。
発明の詳細な説明
【技術分野】
【0001】
本開示は、情報処理装置に関する。
続きを表示(約 1,800 文字)
【背景技術】
【0002】
特許文献1には、バッテリを動力源とする電気自動車に搭載可能なナビゲーション装置が開示されている。特許文献1に開示されているナビゲーション装置は、自車搭載バッテリへの充電が開始されたことを検出する。また、ナビゲーション装置は、充電に係る充電器の種類を識別する。また、ナビゲーション装置は、充電時における自車位置を特定する。そして、ナビゲーション装置は、自車位置特定手段により特定された地点を、充電器識別手段による充電器の識別情報と共に、充電器付帯施設の位置情報として登録する。
【先行技術文献】
【特許文献】
【0003】
特開2012-132817号公報
【発明の概要】
【発明が解決しようとする課題】
【0004】
本開示は、ユーザにとって好適な電気自動車への充電を可能にする技術の提供を目的とする。
【課題を解決するための手段】
【0005】
本開示に係る情報処理装置は、
過去における対象電気自動車の目的地での停車時間の値を取得することと、
前記対象電気自動車が充電を行う見込みがあるか否かの充電情報を取得することと、
前記停車時間の取得された値が閾値以上であり、且つ前記対象電気自動車が充電を行う見込みがあることが取得された前記充電情報において示されている場合に、前記目的地が前記対象電気自動車の充電予定地であることを示す予定地情報を出力することと、
を実行するように構成される制御部を備える。
【発明の効果】
【0006】
本開示により、ユーザにとって好適な電気自動車への充電が可能となる。
【図面の簡単な説明】
【0007】
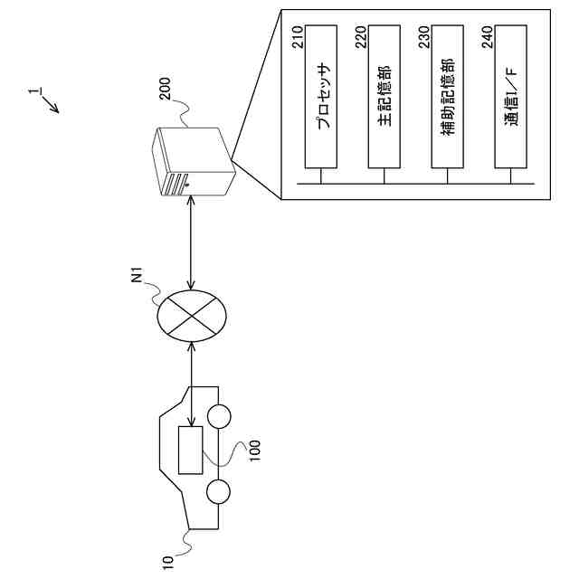
図1は、充電計画システムの概略構成を示す図である。
図2は、サーバの機能構成の一例を概略的に示すブロック図である。
図3は、走行情報データベースに保持されている走行情報のテーブル構成の一例を示す図である。
図4は、履歴情報データベースに保持されている履歴情報のテーブル構成の一例を示す図である。
図5は、車両の走行予定経路の一例を示す図である。
図6は、制御部によって実行される処理のフローチャートである。
【発明を実施するための形態】
【0008】
電気自動車の移動中に、充電を行う必要が生じる場合がある。このとき、目的地での充電時間よりも経由地での充電時間の方が短い場合に、目的地ではなく、経由地における充電が計画される場合がある。一方で、電気自動車のユーザが目的地において電気自動車を長時間停車させる場合がある。このとき、電気自動車が目的地ではなく経由地における充
電をすると、電気自動車が目的地において長時間停車しているのにも関わらず、目的地での充電が行われない場合がある。そうすると、目的地において電気自動車の充電を行うことで時間の有効活用ができるにも関わらず経由地において充電を行うこととなり、時間の有効活用ができなくなる。また、目的地に到着する前に経由地において充電が行われることによって、電気自動車が目的地に到着する時刻が遅くなる。
【0009】
そこで、本開示に係る情報処理装置の制御部は、過去における対象電気自動車の目的地での停車時間の値を取得する。また、本開示に係る情報処理装置の制御部は、対象電気自動車が充電を行う見込みがあるか否かの充電情報を取得する。そして、制御部は、停車時間の取得された値が閾値以上であり、且つ対象電気自動車が充電を行う見込みがあることが取得された充電情報において示されている場合に、目的地が対象電気自動車の充電予定地であることを示す予定地情報を出力する。
【0010】
以上説明した通り、対象電気自動車が目的地において過去に閾値以上の時間の停車を行い、且つ目的地において充電を行う見込みがある場合に、目的地が充電予定地として決定される。これにより、経由地における充電を抑制すると共に、目的地における充電を促進することができる。これにより、ユーザの時間を有効に活用すること促進される。また、目的地に到着する時刻をより早くすることが可能となる。このようにして、ユーザにとって好適な電気自動車への充電が可能となる。
(【0011】以降は省略されています)
この特許をJ-PlatPat(特許庁公式サイト)で参照する
関連特許
トヨタ自動車株式会社
配管
2日前
トヨタ自動車株式会社
車両
15日前
トヨタ自動車株式会社
電池
1日前
トヨタ自動車株式会社
方法
29日前
トヨタ自動車株式会社
車両
28日前
トヨタ自動車株式会社
電池
16日前
トヨタ自動車株式会社
方法
29日前
トヨタ自動車株式会社
車両
2日前
トヨタ自動車株式会社
車両
16日前
トヨタ自動車株式会社
電池
7日前
トヨタ自動車株式会社
方法
1か月前
トヨタ自動車株式会社
車両
29日前
トヨタ自動車株式会社
車両
24日前
トヨタ自動車株式会社
車両
1か月前
トヨタ自動車株式会社
治具
23日前
トヨタ自動車株式会社
電池
28日前
トヨタ自動車株式会社
電池
1か月前
トヨタ自動車株式会社
車体
1か月前
トヨタ自動車株式会社
方法
28日前
トヨタ自動車株式会社
車両
15日前
トヨタ自動車株式会社
車両
1日前
トヨタ自動車株式会社
車両
22日前
トヨタ自動車株式会社
車両
22日前
トヨタ自動車株式会社
車体
15日前
トヨタ自動車株式会社
方法
15日前
トヨタ自動車株式会社
正極層
28日前
トヨタ自動車株式会社
サーバ
25日前
トヨタ自動車株式会社
モータ
1か月前
トヨタ自動車株式会社
ロータ
2日前
トヨタ自動車株式会社
モータ
14日前
トヨタ自動車株式会社
電動車
2日前
トヨタ自動車株式会社
モータ
25日前
トヨタ自動車株式会社
自動車
29日前
トヨタ自動車株式会社
蓄電池
15日前
トヨタ自動車株式会社
電動車
1日前
トヨタ自動車株式会社
電動機
28日前
続きを見る
他の特許を見る