TOP
|
特許
|
意匠
|
商標
特許ウォッチ
Twitter
他の特許を見る
公開番号
2025171202
公報種別
公開特許公報(A)
公開日
2025-11-20
出願番号
2024076290
出願日
2024-05-09
発明の名称
移動体管理装置
出願人
トヨタ自動車株式会社
代理人
弁理士法人中部国際特許事務所
主分類
G05D
1/225 20240101AFI20251113BHJP(制御;調整)
要約
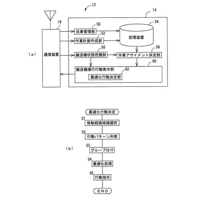
【課題】 実用性の高い移動体管理装置を提供する。
【解決手段】 互いに交差しそれぞれが複数のセルに区分された複数の通路PL,PVが設けられた領域において、それぞれがいずれかの通路を移動して目的地★において作業を実行する複数の移動体Tの各々の行動を管理する移動体管理装置を、各移動体に対して、先読み時間内における一連の行動要素からなる行動パターンを1以上設定し、1つのセルには1つの移動体しか占有を許容しないという条件の下、最適化処理を行って、各移動体の行動パターンを決定するように構成する。上記作業が通路の一部を占有するようなものであっても、複数の移動体の行動を最適化することが可能となる。また、先読み時間を比較的短く設定することにより、最適化処理の負担を軽減することが可能となる。
【選択図】 図5
特許請求の範囲
【請求項1】
互いに交差しそれぞれが複数のセルに区分された複数の通路が設けられた領域において、それぞれがいずれかの通路を移動して目的地において作業を実行する複数の移動体の各々の行動を管理する移動体管理装置であって、
各移動体に対して、設定時間内における一連の行動要素からなる行動パターンを1以上設定し、
1つのセルには1つの移動体しか占有を許容しないという条件の下、最適化処理を行って、各移動体の行動パターンを決定するように構成された移動体管理装置。
続きを表示(約 690 文字)
【請求項2】
当該移動体管理装置が、
各通路が2つの移動体の対面通行を許容すべく2つのレーンを含み、移動体が作業する際にはその移動体は2つのレーンを占有し、通路が交差する箇所を旋回して移動する際にも2つのレーンを占有するという状況下において、各移動体の行動パターンを決定するように構成された請求項1に記載の移動体管理装置。
【請求項3】
前記行動要素が、占有するセルである占有セルと行動の種類である行動種とを含んで設定され、その行動種が直進移動,待機,通路が交差する部分における旋回,作業のいずれかを含んで設定される請求項1に記載の移動体管理装置。
【請求項4】
前記行動種である直進移動が、移動体の移動速度に基づいて複数設定されており、待機が、待機時間に基づいて複数設定されている請求項3に記載の移動体管理装置。
【請求項5】
当該移動体管理装置が、
前記複数の移動体を、前記設定時間内において互いに占有セルが重ならないであろう1以上のグループに分類し、その1以上のグループごとに、前記最適化処理を行うように構成された請求項1に記載の移動体管理装置。
【請求項6】
前記最適化処理が、
各移動体の前記1以上の行動パターンの各々に対して、移動距離,移動速度,待機時間のいずれか1以上に応じてペナルティを決定し、複数の移動体のペナルティの合計が最も小さくなるように各移動体の行動パターンを組み合わせることで、各移動体の行動パターンを決定する処理である請求項1に記載の移動体管理装置。
発明の詳細な説明
【技術分野】
【0001】
本発明は、複数の移動体の行動を管理する移動体管理装置に関する。
続きを表示(約 2,000 文字)
【背景技術】
【0002】
複数の通路が設けられた領域における複数の移動体の移動経路を最適化するための技術として、下記特許文献に記載された技術が存在する。
【先行技術文献】
【特許文献】
【0003】
特開2023-72447号公報
【発明の概要】
【発明が解決しようとする課題】
【0004】
上記特許文献に記載された技術では、例えば、移動体の目的地における作業(具体的には、通路の一部を利用した作業)が他の移動体の移動を阻害することに対する配慮がなされていない。複数の移動体の行動を管理するためには、種々のことに配慮することが望ましく、従来の技術においては、移動体管理装置の実用性を向上させる余地が多分に残されている。本発明は、そのような実情に鑑みてなされたものであり、実用性の高い移動体管理装置を提供することを課題とする。
【課題を解決するための手段】
【0005】
上記課題を解決するために、本発明の移動体管理装置は、
互いに交差しそれぞれが複数のセルに区分された複数の通路が設けられた領域において、それぞれがいずれかの通路を移動して目的地において作業を実行する複数の移動体の各々の行動を管理する移動体管理装置であって、
各移動体に対して、設定時間内における一連の行動要素からなる行動パターンを1以上設定し、
1つのセルには1つの移動体しか占有を許容しないという条件の下、最適化処理を行って、各移動体の行動パターンを決定するように構成される。
【発明の効果】
【0006】
本発明の移動体管理装置は、移動体が目的地において作業することを前提としており、その作業が通路の一部を占有するようなものであっても、複数の移動体の行動を最適化することが可能となる。また、設定時間を比較的短く設定することにより、最適化処理の負担を軽減することが可能となる。
【発明の概要】
発明の態様
【0007】
本発明の移動体管理装置(以下、「本管理装置」と略する場合があることとする)が管理の対象とする「移動体」は、通路を移動する移動体である限り、その種類が特に限定されるものではない。移動体は、運転手によって操作がなされるようなものであってもよいが、本管理装置は、自動的に行動するようなものの行動を管理する装置に好適である。移動体は、人が搭乗する一般的な車両であってもよく、また、例えば、物を運搬するような車両であってもよい。また、移動体が移動する「領域」は、例えば、街中であってもよく、また、例えば、倉庫のような場所であってもよい。
【0008】
本管理装置は、各通路が2つの移動体の対面通行を許容すべく2つのレーンを含むような領域において移動体の行動を管理するようにされていてもよい。その場合、レーンごとにセルが設定されていてもよい。そのような通路の場合の作業は、通路の幅方向に並ぶ2つのレーン(以下、「併設レーン」という場合がある)の両方を占有するような作業であってもよい。また、そのような通路の場合、長さが比較的長い移動体については、通路が交差する箇所(十字路のような交差点のみならず、T字路,曲がり角のような交差点を含む概念である)において、併設レーンの両方を占有するような旋回を行ってもよい。本管理装置は、移動体がそのような作業,旋回を行う状況下においても、行動の最適化が可能である。
【0009】
「行動要素」は、移動体が占有するセルである「占有セル」と、そのセルにおいて行われる行動の種類である「行動種」とを含んで設定されればよい。行動種は、例えば、通路の直進移動,通路が交差する箇所における旋回,いずれかのセルにおける待機,いずれかのセルを利用した作業のいずれかを含んで設定されてもよい。また、行動種が上記直進移動である場合には、移動体の移動速度に基づいて、複数、すなわち、複数段階で設定されてもよく、行動種が上記待機である場合には、待機時間に基づいて、複数、すなわち、複数段階で設定されてもよい。移動速度,待機時間を複数段階で設定すれば、例えば、無駄な待機時間を少なくすることが可能となる。
【0010】
複数の移動体の最適化処理を行う場合、移動体の数が大きい場合には、その処理の負担は大きい。そのことを考慮して、本管理装置では、管理の対象となる複数の移動体を、上記設定時間内において、互いに占有セルが重ならないであろう1以上の「グループ」に分類し、具体的には例えば、通常の移動状態において、1のグループのいずれの移動体も他のグループのいずれの移動体とも占有セルが重複しないような複数のグループに分類し、それらグループごとに最適化処理を実行することが望ましい。
(【0011】以降は省略されています)
この特許をJ-PlatPat(特許庁公式サイト)で参照する
関連特許
トヨタ自動車株式会社
方法
29日前
トヨタ自動車株式会社
配管
2日前
トヨタ自動車株式会社
車両
24日前
トヨタ自動車株式会社
車両
29日前
トヨタ自動車株式会社
電池
1日前
トヨタ自動車株式会社
治具
23日前
トヨタ自動車株式会社
車両
22日前
トヨタ自動車株式会社
車両
22日前
トヨタ自動車株式会社
車両
2日前
トヨタ自動車株式会社
車両
1か月前
トヨタ自動車株式会社
方法
1か月前
トヨタ自動車株式会社
車両
28日前
トヨタ自動車株式会社
電池
28日前
トヨタ自動車株式会社
車体
1か月前
トヨタ自動車株式会社
車両
16日前
トヨタ自動車株式会社
電池
7日前
トヨタ自動車株式会社
方法
15日前
トヨタ自動車株式会社
車体
15日前
トヨタ自動車株式会社
方法
29日前
トヨタ自動車株式会社
車両
1日前
トヨタ自動車株式会社
車両
15日前
トヨタ自動車株式会社
車両
15日前
トヨタ自動車株式会社
電池
16日前
トヨタ自動車株式会社
方法
28日前
トヨタ自動車株式会社
ロータ
2日前
トヨタ自動車株式会社
モータ
1か月前
トヨタ自動車株式会社
自動車
29日前
トヨタ自動車株式会社
蓄電池
15日前
トヨタ自動車株式会社
モータ
14日前
トヨタ自動車株式会社
サーバ
25日前
トヨタ自動車株式会社
モータ
25日前
トヨタ自動車株式会社
電動車
2日前
トヨタ自動車株式会社
電動車
1日前
トヨタ自動車株式会社
正極層
28日前
トヨタ自動車株式会社
電動機
28日前
トヨタ自動車株式会社
反応容器
1日前
続きを見る
他の特許を見る