TOP
|
特許
|
意匠
|
商標
特許ウォッチ
Twitter
他の特許を見る
10個以上の画像は省略されています。
公開番号
2025159136
公報種別
公開特許公報(A)
公開日
2025-10-17
出願番号
2025135345,2024028265
出願日
2025-08-15,2019-10-30
発明の名称
半導体ユニット、バッテリユニット、及び車両
出願人
ローム株式会社
代理人
個人
主分類
H03K
17/06 20060101AFI20251009BHJP(基本電子回路)
要約
【課題】トランジスタチップの温度を検出すること。
【解決手段】半導体ユニット41は、半導体装置40と、制御部33と、抵抗部36と、を備える。半導体装置40は、トランジスタチップ42の表面に第2電極パッドと制御パッドとが設けられ、トランジスタチップ42の裏面に第1電極パッドが設けられる。制御パッドに入力される電圧に応じて第1電極パッドと第2電極パッドとの間のオン/オフ動作を行う。第1電極パッドに電気的に接続される第1端子と、第2電極パッドに電気的に接続される第2端子と、制御パッドに電気的に接続される制御端子と、を有する。制御部33は、制御端子に電気的に接続されてトランジスタチップ42を制御する。抵抗部36は、制御端子と制御部33との間に設けられる。第2電極パッドは、トランジスタチップ42の表面の中央で2つの領域に分離される。2つの領域の間に感温ダイオード80が配置されている。
【選択図】図18
特許請求の範囲
【請求項1】
トランジスタチップの表面に第2電極パッドと制御パッドとが設けられ、前記トランジスタチップの裏面に第1電極パッドが設けられ、前記制御パッドに入力される電圧に応じて前記第1電極パッドと前記第2電極パッドとの間のオン/オフ動作を行う四角形状の前記トランジスタチップを有し、前記第1電極パッドに電気的に接続される第1端子と、前記第2電極パッドに電気的に接続される第2端子と、前記制御パッドに電気的に接続される制御端子と、を有する、半導体装置と、
前記制御端子に電気的に接続されて前記トランジスタチップを制御する制御部と、
前記制御端子と前記制御部との間に設けられる抵抗部と、
を備え、
前記第2電極パッドは、前記トランジスタチップの表面の中央で2つの領域に分離され、
前記2つの領域の間に感温ダイオードが配置されている、
半導体ユニット。
続きを表示(約 1,100 文字)
【請求項2】
前記制御部は、前記トランジスタチップに流れる電流が閾値以上の場合に前記トランジスタチップをオフするように前記トランジスタチップを制御する、
請求項1に記載の半導体ユニット。
【請求項3】
前記抵抗部の抵抗値は、100Ω以上である、
請求項1に記載の半導体ユニット。
【請求項4】
前記トランジスタチップは、IGBTであり、前記第1電極パッドはコレクタ電極であり、前記第2電極パッドはエミッタ電極である、
請求項1に記載の半導体ユニット。
【請求項5】
前記トランジスタチップは、炭化シリコン(SiC)の半導体基板により構成されたMOSFETであり、前記第1電極パッドはドレイン電極であり、前記第2電極パッドはソース電極である、
請求項1に記載の半導体ユニット。
【請求項6】
前記トランジスタチップの表面には、ゲート電極パッド、前記感温ダイオードのアノードに電気的に接続されたアノード電極パッド、及び前記感温ダイオードのカソードに電気的に接続されたカソード電極パッドが設けられ、
前記ゲート電極パッド、前記アノード電極パッド、及び前記カソード電極パッドが前記トランジスタチップの1辺に沿って配置されている、
請求項1に記載の半導体ユニット。
【請求項7】
前記トランジスタチップは、前記トランジスタチップの平面視において前記2つの領域の配列方向と直交する方向に前記第2電極パッドが凹むように構成された切欠部を有し、
前記ゲート電極パッド、前記アノード電極パッド、及び前記カソード電極パッドは前記切欠部に配置される、
請求項6に記載の半導体ユニット。
【請求項8】
前記制御部は、前記感温ダイオードからの信号に応じて前記トランジスタチップの温度を検出する温度検出回路をさらに含み、
前記制御部は、前記温度検出回路によって検出された信号が閾値以上となる場合、前記トランジスタチップの前記制御端子に電流低下信号を供給する、
請求項1に記載の半導体ユニット。
【請求項9】
前記半導体ユニットは、前記トランジスタチップを複数備え、
前記複数のトランジスタチップは、互いに並列に接続されている、
請求項1に記載の半導体ユニット。
【請求項10】
前記複数のトランジスタチップはそれぞれ、前記感温ダイオードを含む、
請求項9に記載の半導体ユニット。
(【請求項11】以降は省略されています)
発明の詳細な説明
【技術分野】
【0001】
本開示は、半導体ユニット、バッテリユニット、及び車両に関する。
続きを表示(約 4,200 文字)
【背景技術】
【0002】
例えばハイブリッド自動車や電気自動車等の電動車両には、図53に示すように、バッテリ210の正極と、電動車両を駆動するモータ220を制御するインバータ回路230との間にリレーユニット200が設けられている。リレーユニット200は、機械接点式リレーであるメインリレー201と、メインリレー201と並列に接続されるプリチャージ用のリレー回路202とを備える(例えば、特許文献1参照)。リレーユニット200とインバータ回路230との間には、コンデンサ240が設けられている。プリチャージ用のリレー回路202は、バッテリからインバータ回路への突入電流が流れることを回避するための回路であり、機械接点式リレー203と電流制限抵抗204とが直列に接続された回路である。
【先行技術文献】
【特許文献】
【0003】
特開2010-161009号公報
【0004】
[概要]
プリチャージ用のリレー回路202によりバッテリ210からコンデンサ240への突入電流の電流制限を行う場合の消費電力の大半は、電流制限抵抗204で消費される。このため、突入電流を抑制するためには抵抗値の大きい電流制限抵抗204を用いる必要があり、この抵抗での消費電力が大きくなるため、電流制限抵抗204のサイズを大きくする必要があった。
【0005】
また機械接点式となるメインリレー201及びプリチャージ用のリレー回路202自体の体格が大きく、重かった。加えて、高電圧大電流が流れたときにメインリレー201の接点部分が溶着して電流の遮断ができないこと、アーク放電すること、及び開閉回数に制限があることからリレーとしての信頼性が低かった。さらに、メインリレー201及びプリチャージ用のリレー回路202は、開閉時に音が鳴る問題もあった。
【0006】
また、バッテリからインバータ回路へ大電流が流れることを回避するため、大電流が流れることに起因する、バッテリとインバータ回路との間に設けられた素子の温度を検出する必要があった。
【0007】
本開示の一態様の半導体ユニットは、トランジスタチップの表面に第2電極パッドと制御パッドとが設けられ、前記トランジスタチップの裏面に第1電極パッドが設けられ、前記制御パッドに入力される電圧に応じて前記第1電極パッドと前記第2電極パッドとの間のオン/オフ動作を行う四角形状の前記トランジスタチップを有し、前記第1電極パッドに電気的に接続される第1端子と、前記第2電極パッドに電気的に接続される第2端子と、前記制御パッドに電気的に接続される制御端子と、を有する、半導体装置と、前記制御端子に電気的に接続されて前記トランジスタチップを制御する制御部と、前記制御端子と前記制御部との間に設けられる抵抗部と、を備え、前記第2電極パッドは、前記トランジスタチップの表面の中央で2つの領域に分離され、前記2つの領域の間に感温ダイオードが配置されている。
【図面の簡単な説明】
【0008】
図1は、第1実施形態の半導体装置を備える車両の一部の電気的構成を模式的に示すブロック図である。
図2は、図1のリレーユニット及びその周辺の電気的構成を模式的に示す回路図である。
図3Aは、車両力行時における半導体装置のIGBTに流れるコレクタ電流とコレクタ-エミッタ間電圧との関係を示すグラフである。
図3Bは、車両回生時における半導体装置のダイオードに流れる電流と順方向電圧との関係を示すグラフである。
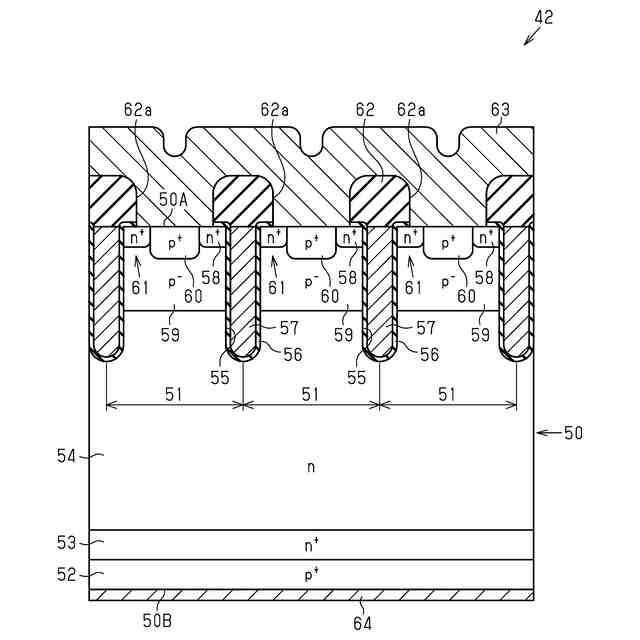
図4Aは、第1実施形態のIGBTの模式的な断面図である。
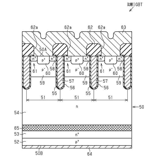
図4Bは、比較例のIGBTの模式的な断面図である。
図5は、ダイオードの模式的な断面図である。
図6は、半導体装置を備える半導体モジュールの斜視図である。
図7は、半導体装置の配置構成を示す半導体モジュールの図解的な平面図である。
図8は、図7の8-8線で切った半導体モジュールの断面図である。
図9は、半導体モジュールの底面図である。
図10は、半導体ユニットの側面図である。
図11は、第1比較例のプリチャージ制御におけるコレクタ-エミッタ間電圧及びコンデンサの端子間電圧の推移を示すグラフである。
図12は、第1比較例のプリチャージ制御における半導体モジュールに流れる電流の推移を示すグラフである。
図13は、第2比較例のプリチャージ制御におけるコレクタ-エミッタ間電圧及びコンデンサの端子間電圧の推移を示すグラフである。
図14は、第2比較例のプリチャージ制御における半導体モジュールに流れる電流の推移を示すグラフである。
図15は、第1実施形態のプリチャージ制御におけるコレクタ-エミッタ間電圧及びコンデンサの端子間電圧の推移を示すグラフである。
図16は、第1実施形態のプリチャージ制御における半導体モジュールに流れる電流の推移を示すグラフである。
図17は、比較例の半導体装置の回路図である。
図18は、第2実施形態の半導体ユニットの回路図である。
図19は、半導体モジュールの斜視図である。
図20は、半導体装置の配置構成を示す半導体モジュールの図解的な平面図である。
図21は、IGBTの電極パッドの配置構成を示すIGBTの平面図である。
図22は、ダイオードの電極パッドの配置構成を示すダイオードの平面図である。
図23は、第3実施形態の半導体装置であるRC-IGBTの斜視断面図である。
図24は、RC-IGBTの底面図である。
図25は、半導体装置の配置構成を示す半導体モジュールの図解的な平面図である。
図26Aは、RC-IGBTのIGBT及びダイオードに流れる電流とRC-IGBTの温度の推移を示したグラフである。
図26Bは、IGBTとダイオードとが個別に形成された比較例において、上段はIGBTに流れる電流とIGBTの温度の推移を示したグラフ、下段はダイオードに流れる電流とダイオードの温度の推移を示したグラフである。
図27は、第4実施形態の半導体ユニットの回路図である。
図28は、半導体装置の配置構成を示す半導体モジュールの図解的な平面図である。
図29は、第5実施形態の半導体ユニットの回路図である。
図30は、半導体装置の配置構成を示す半導体モジュールの図解的な平面図である。
図31Aは、IGBT及びMOSFETに流れる場合の力行電流の大きさと半導体モジュールの端子間電圧との関係を示すグラフである。
図31Bは、車両回生時における半導体装置のダイオードに流れる電流と順方向電圧との関係を示すグラフである。
図32は、第6実施形態の半導体ユニットの回路図である。
図33は、各IGBTのゲート駆動信号の推移を示すグラフである。
図34は、変形例の半導体ユニットの回路図である。
図35は、変形例の半導体ユニットの回路図である。
図36は、変形例の半導体モジュールにおいて半導体装置の配置構成を示す図解的な平面図である。
図37は、変形例の半導体モジュールにおいて半導体装置の配置構成を示す図解的な平面図である。
図38は、図37の38-38線に沿った半導体モジュールの断面図である。
図39は、変形例の半導体モジュールの図解的な平面図である。
図40は、変形例の半導体装置のRC-IGBTの底面図である。
図41は、変形例の半導体装置のRC-IGBTの底面図である。
図42は、変形例の半導体装置のRC-IGBTの底面図である。
図43は、変形例の半導体モジュールの図解的な平面図である。
図44は、変形例の半導体ユニットにおいて、(a)及び(b)はコンデンサの端子間電圧とIGBTの間欠動作時の周波数との関係を示すマップである。
図45は、変形例の半導体ユニットにおいて、コンデンサの端子間電圧とIGBTの間欠動作時の周波数との関係を示すマップである。
図46は、変形例の半導体ユニットにおいて、(a)及び(b)はコンデンサの端子間電圧とIGBTのゲート-エミッタ間電圧との関係を示すマップである。
図47は、変形例の半導体ユニットにおいて、コンデンサの端子間電圧とIGBTのゲート-エミッタ間電圧との関係を示すマップである。
図48は、変形例の半導体ユニットにおいて、(a)及び(b)はコンデンサの端子間電圧とIGBTのデューティ比との関係を示すマップである。
図49は、変形例の半導体ユニットにおいて、コンデンサの端子間電圧とIGBTのデューティ比との関係を示すマップである。
図50は、変形例のリレーユニット及びその周辺の模式的な回路図である。
図51は、変形例のリレーユニット及びその周辺の模式的な回路図である。
図52は、変形例の車両の一部の電気的構成を模式的に示すブロック図である。
図53は、従来のリレーユニット及びその周辺の模式的な回路図である。
【0009】
[詳細な説明]
以下、半導体装置、半導体モジュール、半導体ユニット、リレーユニット、バッテリユニット、及び車両の各実施形態について図面を参照して説明する。以下に示す各実施形態は、技術的思想を具体化するための構成や方法を例示するものであって、各構成部品の材質、形状、構造、配置、寸法等を下記のものに限定するものではない。以下の各実施形態は、種々の変更を加えることができる。
【0010】
本明細書において、「部材Aが部材Bと接続された状態」とは、部材Aと部材Bとが物理的に直接的に接続される場合、並びに、部材A及び部材Bが、電気的な接続状態に影響を及ぼさない他の部材を介して間接的に接続される場合を含む。
(【0011】以降は省略されています)
この特許をJ-PlatPat(特許庁公式サイト)で参照する
関連特許
ローム株式会社
半導体装置
10日前
ローム株式会社
半導体装置
18日前
ローム株式会社
半導体装置
10日前
ローム株式会社
半導体装置
10日前
ローム株式会社
半導体装置
3日前
ローム株式会社
定電圧生成回路
10日前
ローム株式会社
半導体集積回路
10日前
ローム株式会社
半導体集積回路
11日前
ローム株式会社
定電圧生成回路
10日前
ローム株式会社
半導体モジュール
19日前
ローム株式会社
比較回路、半導体装置
10日前
ローム株式会社
逐次比較型AD変換回路
18日前
ローム株式会社
サーマルプリントヘッド
10日前
ローム株式会社
電源制御装置及び電源装置
3日前
ローム株式会社
半導体装置およびシステム
18日前
ローム株式会社
監視回路及びレジスタ制御装置
10日前
ローム株式会社
電源制御装置、スイッチング電源
3日前
ローム株式会社
昇圧型スイッチングレギュレータ
12日前
ローム株式会社
モータドライバ回路および駆動方法
11日前
ローム株式会社
電圧調整装置及び電荷蓄積システム
12日前
ローム株式会社
半導体装置および半導体装置の製造方法
11日前
ローム株式会社
半導体装置、および半導体装置の製造方法
24日前
ローム株式会社
ドライバ、信号伝達装置、電子機器、車両
3日前
ローム株式会社
サーマルプリントヘッド及びその製造方法
10日前
ローム株式会社
検出回路、信号伝達装置、電子機器、車両
10日前
ローム株式会社
半導体装置、および半導体装置の製造方法
10日前
ローム株式会社
コントローラ、ターゲット、及び通信システム
10日前
ローム株式会社
電源回路、電子コントロールユニット、自動車
18日前
ローム株式会社
雨検出装置、雨検出システム、および、雨検出方法
12日前
ローム株式会社
窒化物半導体装置および窒化物半導体装置の製造方法
10日前
ローム株式会社
信号伝達装置、電子機器、車両、絶縁ゲートドライバIC
18日前
ローム株式会社
半導体装置
3日前
ローム株式会社
半導体装置
3日前
ローム株式会社
半導体装置
10日前
ローム株式会社
制御装置、力率改善回路、電子機器、およびオフセット設定方法
18日前
ローム株式会社
双方向DC/DCコンバータ、電源遮断保護回路および半導体装置
4日前
続きを見る
他の特許を見る