TOP
|
特許
|
意匠
|
商標
特許ウォッチ
Twitter
他の特許を見る
公開番号
2025138314
公報種別
公開特許公報(A)
公開日
2025-09-25
出願番号
2024037337
出願日
2024-03-11
発明の名称
安全性診断装置
出願人
株式会社TMEIC
代理人
弁理士法人iX
主分類
G05B
9/02 20060101AFI20250917BHJP(制御;調整)
要約
【課題】安全関連部のPLを正確に計算できる安全性診断装置を提供する。
【解決手段】実施形態は、動作履歴収集部と、パラメータ演算部と、PL判定部と、を備える。動作履歴収集部は、複数の安全機器の機器IDに、安全PLCと複数の安全機器との間の複数の信号の時系列データを関連付けて保存する。パラメータ演算部は、複数の安全機器のうち、PFHdもMTTFdも提供されない安全機器がある場合に、B
10D
の値および信号の時系列データにもとづいて、PFHdを算出して対応する機器IDに関連付ける。PL判定部は、複数の機器IDに対応する複数PFHdの値を加算して、PLの値を計算して出力する。
【選択図】図1
特許請求の範囲
【請求項1】
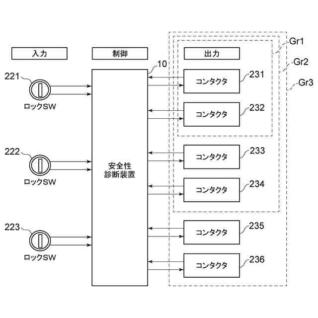
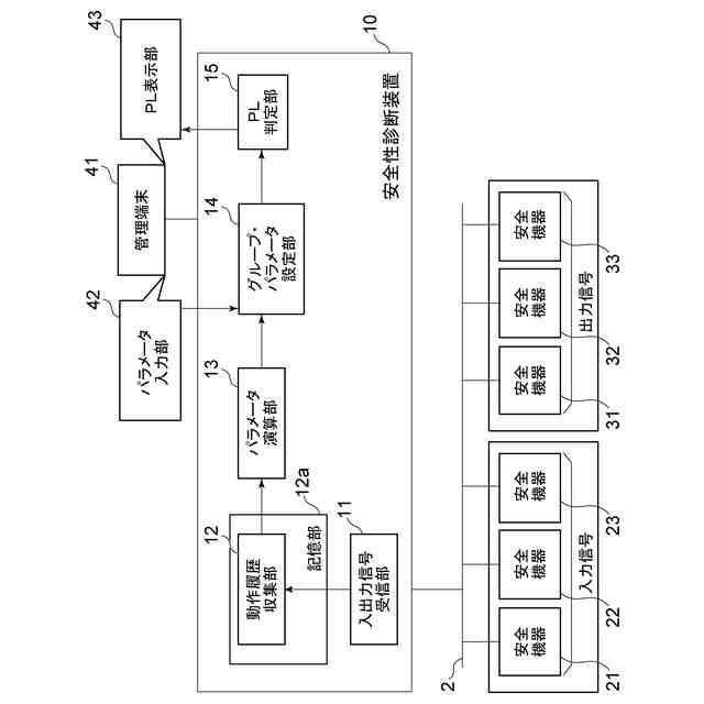
安全PLCに通信可能に接続された複数の安全機器を識別する複数の機器IDに、前記安全PLCと前記複数の安全機器との間で逐次入出力された複数の信号、および、前記複数の信号を取得した複数の時刻をそれぞれ関連付けて、複数の時系列データとして保存する動作履歴収集部と、
前記複数の安全機器のうち、PFHdの値が提供された第1安全機器がある場合には、提供されたPFHdの値に前記第1安全機器に対応する機器IDを関連付け、
前記複数の安全機器のうち、PFHdの値が提供されず、MTTFdの値が提供された第2安全機器がある場合には、提供されたMTTFdの値にもとづいてPFHdの値を計算して、前記第2安全機器に対応する機器IDを関連付け、
前記複数の安全機器のうち、PFHdの値およびMTTFdの値のいずれも提供されず、B
10D
の値が提供された第3安全機器がある場合には、提供されたB
10D
の値および前記複数の時系列データのうち、前記第3安全機器に対応する機器IDに関連付けられた時系列データにもとづいて、MTTFdの値を計算し、計算されたMTTFdの値にもとづいてPFHdの値を計算して前記第3安全機器に対応する機器IDに関連付けるパラメータ演算部と、
前記複数の機器IDに関連付けられた複数のPFHdの値の総和を計算して安全性の評価指標であるPLの値を算出するPL判定部と、
を備えた安全性診断装置。
続きを表示(約 210 文字)
【請求項2】
前記複数の機器IDのそれぞれを1つ以上の安全グループに関連付けるグループ・パラメータ設定部をさらに備え、
前記PL判定部は、前記PLの値を前記1つ以上の安全グループごとに算出する請求項1記載の安全性診断装置。
【請求項3】
前記PL判定部は、算出された前記PLの値を評価するための評価基準をあらかじめ設定し、前記PLの値とともに前記評価基準を出力する請求項1記載の安全性診断装置。
発明の詳細な説明
【技術分野】
【0001】
本発明の実施形態は、産業用プラントの安全関連部における安全性に関する評価指標を計算して出力する安全性診断装置に関する。
続きを表示(約 2,000 文字)
【背景技術】
【0002】
システムの安全性には、IEC規格やISO規格にもとづいたリスクアセスメントおよび安全設計が求められる。産業用プラントの制御システムにおいても同様に、機能安全へのニーズに対応した機能安全システムの構築が重要である。
【0003】
機能安全システムとは、“問題発生時に即座にシステム全体を安全な状態に移行、維持させる機能”を実装し、リスクの低減を達成できるシステムを指す。システムのリスク低減の度合いはPL(Performance Level)という安全尺度で表される。この指標は、ISO13849-1(機械類の安全性-制御システムの安全関連部)で定義される。
【0004】
産業用プラントの制御システムには、膨大な情報の高速処理、制御の高速応答化、高精度化が求められる。その制御システムは、電動機、ドライブ装置および油圧制御装置を含むレベル0、高速制御装置(シーケンサ)によるレベル1、プロセス制御計算機のレベル2などの異なる制御階層を常用ネットワークで接続する。
【0005】
この制御システムの中でも、安全関連部のレベル1階層には安全PLCが用いられる。安全PLCとは、IEC61508(機能安全規格)などにもとづいて、第三者の安全認証を得たPLCを指す。安全PLCは、汎用PLCが持つ機能に加えて、ハードウェアやアプリケーションの多重化、冗長化、安全診断機能等の安全機能を有する。この安全PLCにて構築される安全関連部のPLを定量的に評価することが、産業用プラントの安全性診断に必要となる。
【0006】
安全PLCに関して、たとえば、特許文献1に開示された技術が知られている。特許文献1では、安全制御プログラム中で使用されている各デバイスを、安全にかかわるパラメータと合わせて管理テーブルに登録し、対象の安全制御プログラムが任意の安全規格に適合するかどうかを診断する。しかし、この技術においては、管理テーブルに登録する各デバイスのパラメータ値は各機器メーカーから提供されたもの、または推測した動作回数にもとづき計算されたものであり、実運用にもとづいたパラメータとなっていない。
【先行技術文献】
【特許文献】
【0007】
特開2010-191943号公報
【発明の概要】
【発明が解決しようとする課題】
【0008】
安全関連部を構成する各機器のパラメータであるPFHd(Probability of dangerous Failure per Hour)またはMTTFd(Expection of the Mean Time To dangerous Failure、危険側故障に到達する平均時間の推定値)がメーカーから提供されない場合、それらは、各機器の動作回数や運転時間をもとに計算する必要がある。しかし、産業用プラントのような大規模システムにおいては、その正確な動作回数および頻度を把握することは困難である。
【0009】
本発明の実施形態は、安全関連部のPLを正確に計算できる安全性診断装置を提供することを目的とする。
【課題を解決するための手段】
【0010】
本発明の実施形態に係る安全性診断装置は、安全PLCに通信可能に接続された複数の安全機器を識別する複数の機器IDに、前記安全PLCと前記複数の安全機器との間で逐次入出力された複数の信号、および、前記複数の信号を取得した複数の時刻をそれぞれ関連付けて、複数の時系列データとして保存する動作履歴収集部と、前記複数の安全機器のうち、PFHdの値が提供された第1安全機器がある場合には、提供されたPFHdの値に前記第1安全機器に対応する機器IDを関連付け、前記複数の安全機器のうち、PFHdの値が提供されず、MTTFdの値が提供された第2安全機器がある場合には、提供されたMTTFdの値にもとづいてPFHdの値を計算して、前記第2安全機器に対応する機器IDを関連付け、前記複数の安全機器のうち、PFHdの値およびMTTFdの値のいずれも提供されず、B
10D
の値が提供された第3安全機器がある場合には、提供されたB
10D
の値および前記複数の時系列データのうち、前記第3安全機器に対応する機器IDに関連付けられた時系列データにもとづいて、MTTFdの値を計算し、計算されたMTTFdの値にもとづいてPFHdの値を計算して前記第3安全機器に対応する機器IDに関連付けるパラメータ演算部と、前記複数の機器IDに関連付けられた複数のPFHdの値の総和を計算して安全性の評価指標であるPLの値を算出するPL判定部と、を備える。
【発明の効果】
(【0011】以降は省略されています)
この特許をJ-PlatPat(特許庁公式サイト)で参照する
関連特許
株式会社TMEIC
フリッカ補償装置
21日前
株式会社TMEIC
電気機器の冷却構造
7日前
株式会社TMEIC
位相推定器、電力制御装置、電力変換装置、及び位相推定方法
今日
個人
生産早送り装置
3か月前
株式会社豊田自動織機
産業車両
2か月前
株式会社カネカ
製造システム
2か月前
オムロン株式会社
スレーブ装置
1か月前
ローム株式会社
基準電圧源
2か月前
愛知製鋼株式会社
車両用システム
2か月前
株式会社熊谷組
障害物の検出方法
1か月前
新電元工業株式会社
作業用ロボット
1か月前
個人
作業車両自動化システム
3か月前
株式会社クボタ
作業車
15日前
豊田合成株式会社
機器制御装置
1か月前
株式会社ダイフク
搬送設備
3か月前
株式会社アサヒエンタープライズ
調整弁
2日前
株式会社ダイフク
搬送設備
2か月前
株式会社ダイフク
搬送設備
1か月前
トヨタ自動車株式会社
移動制御システム
3か月前
エイブリック株式会社
電流補償回路及び半導体装置
1か月前
カヤバ株式会社
減圧弁
1か月前
株式会社ダイフク
物品搬送設備
16日前
トヨタ自動車株式会社
制御装置
1か月前
株式会社ダイフク
物品搬送設備
1か月前
キヤノン株式会社
配送システム
2か月前
トヨタ自動車株式会社
クラッチペダル
2か月前
愛知製鋼株式会社
マーカシステム及び制御方法
2か月前
村田機械株式会社
搬送車システム
1か月前
株式会社TMEIC
安全性診断装置
1か月前
ルネサスエレクトロニクス株式会社
半導体装置
2か月前
株式会社アマダ
工作機械制御装置
1か月前
株式会社CAOS
移動体の制御システム
2か月前
日野自動車株式会社
自動運転装置
1か月前
キヤノン電子株式会社
加工システム、及び、加工装置
3か月前
キヤノン電子株式会社
加工システム、及び、加工装置
3か月前
株式会社カーメイト
アクセルペダルカバー
1か月前
続きを見る
他の特許を見る