TOP
|
特許
|
意匠
|
商標
特許ウォッチ
Twitter
他の特許を見る
公開番号
2025168798
公報種別
公開特許公報(A)
公開日
2025-11-12
出願番号
2024073560
出願日
2024-04-30
発明の名称
調整弁
出願人
株式会社アサヒエンタープライズ
代理人
個人
主分類
G05D
16/20 20060101AFI20251105BHJP(制御;調整)
要約
【課題】信号圧の変化に対する出力圧の変化の応答性を向上させることができる調整弁の提供。
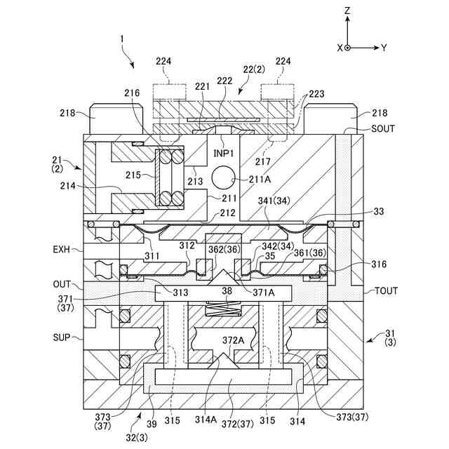
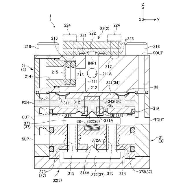
【解決手段】調整弁1は、外部から供給される供給圧を電気信号に応じた信号圧として取得する信号圧取得ユニット2と、信号圧を入力として出力圧を調整するブースター3とを備える。ブースター3は、金属製のブースター本体31と、信号圧を印加する入力板34と、出力圧を印加する出力板36と、信号圧側の空間および大気圧側の空間を隔てる入力ダイヤフラム33と、大気圧側の空間および出力圧側の空間を隔てる出力ダイヤフラム35と、入力板34に印加される信号圧に基づいて可動する可動体37とを備える。可動体37は、ブースター本体31に形成された供給圧側の空間と、出力圧側の空間とを連通する連通穴314Aを閉塞するように配置される金属製の下方ポペット弁372Aを有する。
【選択図】図1
特許請求の範囲
【請求項1】
外部から供給される供給圧を電気信号に応じた信号圧として取得する信号圧取得手段と、前記信号圧を入力として出力圧を調整するブースターとを備える調整弁であって、
前記ブースターは、
金属製の筐体と、
前記信号圧を印加する第1の圧力板と、
前記第1の圧力板に固定されるとともに、前記出力圧を印加する第2の圧力板と、
前記筐体および前記第1の圧力板に接続されるとともに、前記信号圧側の空間および大気圧側の空間を隔てる入力ダイヤフラムと、
前記筐体および前記第2の圧力板に接続されるとともに、前記大気圧側の空間および前記出力圧側の空間を隔てる出力ダイヤフラムと、
前記第1の圧力板に印加される前記信号圧に基づいて可動する可動体とを備え、
前記筐体は、
前記供給圧側の空間と、前記出力圧側の空間とを連通する連通穴を有し、
前記可動体は、
前記連通穴を閉塞するように配置される金属製の閉塞部を有することを特徴とする調整弁。
続きを表示(約 420 文字)
【請求項2】
請求項1に記載された調整弁において、
前記閉塞部は、前記連通穴を閉塞する円錐状のポペット弁であることを特徴とする調整弁。
【請求項3】
請求項1または請求項2に記載された調整弁において、
前記信号圧取得手段は、
前記供給圧を印加して気体を吐出するノズルと、
前記電気信号に応じて前記ノズルの吐出口に対して近接または離間するバイモルフとを備え、
前記ノズルおよび前記バイモルフの距離に応じて変化する前記ノズルの背圧を前記信号圧として取得することを特徴とする調整弁。
【請求項4】
請求項3に記載された調整弁において、
前記信号圧取得手段は、
前記ノズルに至る前記供給圧の流路に配設されたオリフィスを備え、
前記バイモルフは、前記電気信号を印加していない場合に、前記ノズルに対して所定の間隔を隔てて配置されることを特徴とする調整弁。
発明の詳細な説明
【技術分野】
【0001】
本発明は、電気信号に応じて出力圧を調整する調整弁に関する。
続きを表示(約 2,000 文字)
【背景技術】
【0002】
従来、外部から供給される供給圧を電気信号に応じた信号圧として取得し、この信号圧を入力として出力圧を調整する調整弁が知られている。例えば、特許文献1に記載された調整弁は、外部から供給される供給圧を電気信号に応じた信号圧として取得する電磁式ノズルフラッパと、この信号圧を入力として出力圧を調整するブースター(弁本体)とを備えている。
電磁式ノズルフラッパは、外部から供給される供給圧を印加して気体を吐出するノズルと、電気信号に応じてノズルの吐出口に対して近接または離間するフラッパとを備え、このノズルおよびフラッパの距離に応じて変化するノズルの背圧を信号圧として取得している。
【0003】
ブースターは、電磁式ノズルフラッパにて取得された信号圧を印加する圧力板(以下、第1の圧力板とする)と、第1の圧力板に固定されるとともに、出力圧を印加する受け板(以下、第2の圧力板とする)と、ブースターの筐体および第1の圧力板に接続されるとともに、信号圧側の空間および大気圧側の空間を隔てる入力ダイヤフラムと、ブースターの筐体および第2の圧力板に接続されるとともに、大気圧側の空間および出力圧側の空間を隔てる出力ダイヤフラムと、第1の圧力板に印加される信号圧に基づいて可動する圧力板(以下、可動体とする)とを備えている。
ここで、可動体は、複数のロッドを介してポペットに接続されており、このポペットは、供給圧側の空間と、出力圧側の空間とを連通する連通穴を閉塞するように配置されるOリングを有している。この可動体は、第1の圧力板に印加される信号圧に基づいて移動するので、信号圧の変化に基づいてポペットを連通穴に対して近接または離間させることになる。そして、調整弁は、信号圧を上昇させることによって、ポペットを連通穴に対して離間させることができるので、出力圧側の空間に供給圧を流通させることができ、ひいては出力圧を上昇させることができるようになっている。
【先行技術文献】
【特許文献】
【0004】
特開2000-347745号公報
【発明の概要】
【発明が解決しようとする課題】
【0005】
しかしながら、特許文献1に記載された調整弁では、ポペットの有するOリングにて供給圧側の空間と、出力圧側の空間とを連通する連通穴を閉塞しているので、信号圧を上昇させることによって、ポペットを連通穴に対して離間させる場合に、Oリングは、その弾性変形が戻るまで連通穴を閉塞し続けることになる。したがって、その間は、出力圧を上昇させることができず、信号圧の変化に対する出力圧の変化の応答性も低下してしまうという問題がある。
【0006】
本発明の目的は、信号圧の変化に対する出力圧の変化の応答性を向上させることができる調整弁を提供することである。
【課題を解決するための手段】
【0007】
本発明の調整弁は、外部から供給される供給圧を電気信号に応じた信号圧として取得する信号圧取得手段と、信号圧を入力として出力圧を調整するブースターとを備える調整弁であって、ブースターは、金属製の筐体と、信号圧を印加する第1の圧力板と、第1の圧力板に固定されるとともに、出力圧を印加する第2の圧力板と、筐体および第1の圧力板に接続されるとともに、信号圧側の空間および大気圧側の空間を隔てる入力ダイヤフラムと、筐体および第2の圧力板に接続されるとともに、大気圧側の空間および出力圧側の空間を隔てる出力ダイヤフラムと、第1の圧力板に印加される信号圧に基づいて可動する可動体とを備え、筐体は、供給圧側の空間と、出力圧側の空間とを連通する連通穴を有し、可動体は、連通穴を閉塞するように配置される金属製の閉塞部を有することを特徴とする。
【0008】
このような構成によれば、供給圧側の空間と、出力圧側の空間とを連通する連通穴、および可動体の閉塞部は、互いに金属製であるので、Oリングなどの弾性部材にて連通穴を閉塞する場合と比較して、調整弁は、信号圧を上昇させることによって、閉塞部を連通穴に対して迅速に離間させることができる。したがって、調整弁は、信号圧の変化に対する出力圧の変化の応答性を向上させることができる。
【0009】
本発明では、閉塞部は、連通穴を閉塞する円錐状のポペット弁であることが好ましい。
【0010】
このような構成によれば、閉塞部は、連通穴を閉塞する円錐状のポペット弁であるので、ポペット弁は、連通穴に対してセンタリングしやすくなり、ひいてはブースターを組み立てやすくすることができる。
(【0011】以降は省略されています)
この特許をJ-PlatPat(特許庁公式サイト)で参照する
関連特許
個人
生産早送り装置
3か月前
株式会社豊田自動織機
産業車両
2か月前
株式会社カネカ
製造システム
2か月前
オムロン株式会社
スレーブ装置
1か月前
株式会社熊谷組
障害物の検出方法
1か月前
ローム株式会社
基準電圧源
2か月前
株式会社FUJI
加工機械ライン
3か月前
愛知製鋼株式会社
車両用システム
2か月前
新電元工業株式会社
作業用ロボット
1か月前
株式会社クボタ
作業車
15日前
個人
作業車両自動化システム
3か月前
愛知製鋼株式会社
目標軌跡の設定方法
3か月前
豊田合成株式会社
機器制御装置
1か月前
トヨタ自動車株式会社
生産管理システム
3か月前
株式会社ダイフク
搬送設備
3か月前
株式会社ダイフク
搬送設備
1か月前
株式会社ダイフク
搬送設備
2か月前
トヨタ自動車株式会社
移動制御システム
3か月前
株式会社アサヒエンタープライズ
調整弁
2日前
トヨタ自動車株式会社
減圧弁
3か月前
キヤノン電子株式会社
加工装置、及び、制御方法
4か月前
株式会社ダイフク
物品搬送設備
16日前
キヤノン株式会社
配送システム
2か月前
株式会社ダイフク
物品搬送設備
1か月前
トヨタ自動車株式会社
クラッチペダル
2か月前
カヤバ株式会社
減圧弁
1か月前
エイブリック株式会社
電流補償回路及び半導体装置
1か月前
トヨタ自動車株式会社
制御装置
1か月前
マーク ヘイリー
消防ロボット
3か月前
キヤノン電子株式会社
加工システム、及び、加工装置
3か月前
キヤノン電子株式会社
加工システム、及び、加工装置
3か月前
ルネサスエレクトロニクス株式会社
半導体装置
2か月前
愛知製鋼株式会社
マーカシステム及び制御方法
2か月前
日野自動車株式会社
自動運転装置
1か月前
株式会社テイエルブイ
減圧弁の制御装置
3か月前
株式会社CAOS
移動体の制御システム
2か月前
続きを見る
他の特許を見る